| |
 |
|
 |
Вернуться к выбору узлов мотора
ДЕТАЛИРОВКА ДЛЯ МОДЕЛИ: SUZUKI DF150T FROM 15002F-210001~
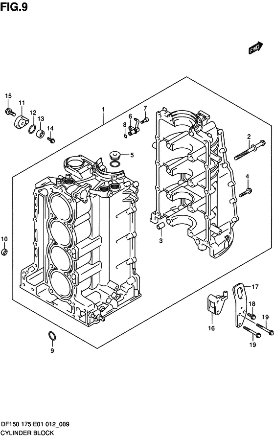
Блок цилиндра
Код модели двигателя: DF150(Z)TL/X
Год выпуска двигателя: 2012
Цвет: Shadow Black Metallic
Номер на рисунке | Артикул | Наименование | QTY | Кол-во на складе | Цена |
| 1 | 11300-96J10-000 | Блок цилиндра в сборе - Block Assy, Cylinder (Block assy, cylinder) | | под заказ | 357120 руб. |
| 1 | 11300-96J21-000 | (актуальный код замены) Блок цилиндра в сборе - Block Assy, Cylinder | | под заказ | 357120 руб. |
| 2 | 11117-96J01-000 | Болт картера двигателя - Bolt, Crankcase (Bolt, crankcase) | | под заказ | 770 руб. |
| 3 | 09206-14004-000 | Штифт (14x11.4x23) - Pin (14x114x23) (Pin) | | под заказ | 360 руб. |
| 4 | 09103-10284-000 | Болт (10x45) - Bolt (10x45) (Bolt, case outside (10x45) # ) (Bolt (10x45)) | | под заказ | 290 руб. |
| 5 | 09248-26001-000 | Заглушка, M26 - Plug, M26 (Plug) | | под заказ | 1110 руб. |
| 6 | 11390-96J00-000 | Форсунка охлаждения поршня - Jet, Piston Cooling (Jet, piston cooling) | | под заказ | 4300 руб. |
| 7 | 09106-06075-000 | Болт (6x12) - Bolt (6x12) (Bolt (6x12)) | | под заказ | 180 руб. |
| 8 | 09280-05007-000 | Уплотнительное кольцо (d: 1.2, Id: 4.7) - O Ring (d:12, Id:47) (O ring (d:1.2, id:4.0) # ) (O ring) | | 9 шт | 120 руб. |
| 9 | 11318-96J00-000 | Уплотнительное кольцо, Balancer Oil Gall - O Ring, Balancer Oil Gall (Кольцо масляной магистрали баласира) | | под заказ | 550 руб. |
| 10 | 09329-14002-000 | Подушка - Cushion (Валик крашки) | | под заказ | 250 руб. |
| 10 | 09329-14003-000 | (актуальный код замены) Подушка (14x20x9) - Cushion (14x20x9) | | под заказ | 250 руб. |
| 11 | 11261-93J00-000 | Крышка защитного анода - Cover, Protection Anode (Крышка протектора) | | под заказ | 1600 руб. |
| 12 | 09280-22019-000 | Уплотнительное кольцо (d: 1.9, Id: 21.8) - O Ring (d:19, Id:218) (Кольцо уплотнительное) | | 16 шт | 210 руб. |
| 12 | SK09280-22019 | (не оригинальный аналог) Кольцо уплотнительное головки блока цилиндров Skipper для Suzuki Модели техники: 4-stroke 8-350HP | | 0 шт | 64 руб. |
| 13 | 55321-87J00-000 | Защитный анод - Anode, Protection | | 1 шт | 750 руб. |
| 13 | 55321-87J01-000 | (актуальный код замены) Защитный анод - Anode, Protection | | под заказ | 850 руб. |
| 13 | SMO-55321-87J01-000 | (не оригинальный аналог) Защитный анод SMO-55321-87J01-000 (оригинал) | | под заказ | 590 руб. |
| 13 | SMO-55321-87J01-000 | (аналог) Защитный анод SMO-55321-87J01-000 (оригинал) - код 55321-87J01-000 | | под заказ шт | 585 руб. |
| 13 | 55321-87J01-000 | Защитный анод - Anode, Protection (ANODE, PROTECTION) | | под заказ | 850 руб. |
| 13 | SMO-55321-87J01-000 | (аналог) Защитный анод SMO-55321-87J01-000 (оригинал) - код 55321-87J01-000 | | под заказ шт | 585 руб. |
| 14 | 09103-06281-000 | Болт (6x14) - Bolt (6x14) (Bolt, protection anode # ) (Bolt) | | 6 шт | 270 руб. |
| 15 | 01550-08207-000 | Болт - Bolt (Bolt) | | 10 шт | 240 руб. |
| 16 | 11294-96J00-000 | Кронштейн крюка справа двигателя - Bracket, Engine Stbd Hook (Кронштейн, правый) | | под заказ | 2280 руб. |
| 17 | 11291-96J00-000 | Крюк справа двигателя - Hook, Engine Stbd (Скоба двигателя, правая) | | под заказ | 1330 руб. |
| 18 | 01550-08167-000 | Болт - Bolt (Bolt (8x16) # ) (Bolt) | | 8 шт | 210 руб. |
| 19 | 01550-08557-000 | Болт - Bolt (Bolt) | | под заказ | 260 руб. |
Время выполнения запроса 0.89094305038452 сек. |
|