Подобрать запчасти на подвесной лодочный мотор Suzuki модель года - Balancer
вконтакте

Контактный телефон: +7 (981) 121-46-93, +7 (800) 200-90-76 , Email: parts-katalog@yandex.ru, где купить

 
 

  Логин:

Пароль:

Регистрация

www.partskatalog.ru Все каталоги Запчасти Mercury Запчасти Suzuki Запчасти Tohatsu Запчасти Honda Контакты

назад Раздел:   вперёд

Вернуться к выбору узлов мотора


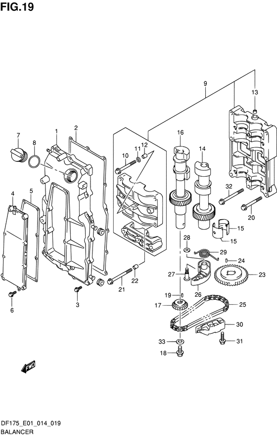
ДЕТАЛИРОВКА ДЛЯ МОДЕЛИ: SUZUKI DF175T/DF175TG FROM 17502F-410001~

Balancer


Номер на
рисунке
АртикулНаименованиеQTYКол-во
на складе
Цена
111330-96J10-000

Крышка балансирующего вала - Cover, Balancer Shaft (крышка валов системы уравновешивания)

2 шт28280 руб.
211332-96J00-000

Прокладка крышки балансира - Gasket, Balancer Cover (прокладка крышки балансировочного устройства)

5 шт3270 руб.
301550-06257-000

Болт - Bolt (Bolt)

под заказ180 руб.
411340-96J00-000

Крышка, Balancer Water Jacket - Cover, Balancer Water Jacket (крышка водяной рубашки балансировочного устройства)

под заказ13780 руб.
511342-96J00-000

Прокладка крышки балансира водяной рубашки охлаждения - Gasket, Bal Wtr Jkt Cover (прокладка крышки водяной рубашки балансировочного устройства)

6 шт1350 руб.
601550-06257-000

Болт - Bolt (Bolt)

под заказ180 руб.
711382-93J00-000

Колпачок масляного фильтра - Cap, Oil Filler (Cap, oil filler)

6 шт630 руб.
809280-26006-000

Уплотнительное кольцо (d: 3.1, Id: 26.4) - O Ring (d:31, Id:264) (Кольцо уплотнительное)

2 шт220 руб.
912600-96J01-000

Корпус балансира - Housing Assy, Balancer (Housing assy, balancer)

под заказ59520 руб.
912600-96J10-000

   (актуальный код замены) Корпус балансира - Housing Assy, Balancer

под заказ59520 руб.
1012643-96J00-000

Болт балансира - Bolt, Balancer (Bolt)

под заказ580 руб.
1112644-96J00-000

Шайба балансира - Washer, Balancer (Шайба)

под заказ250 руб.
1204211-11129-000

Штифт - Pin (Pin)

14 шт150 руб.
1309246-05006-000

Заглушка (1 / 8pt, H: 5.5) - Plug (1/8pt, H:55) (Plug)

под заказ260 руб.
1412660-96J02-000

Левый балансир - Balancer, Port

под заказ34320 руб.
1412660-96J22-000

   (актуальный код замены) Левый балансир - Balancer Comp, Port

под заказ34320 руб.
1412660-96J10-000

Левый балансир - Balancer, Port (BALANCER, PORT)

под заказ34320 руб.
1412660-96J22-000

   (актуальный код замены) Левый балансир - Balancer Comp, Port

под заказ34320 руб.
1512645-96J00-000

Подшипник балансира - Bearing, Balancer (Подшипник балансира)

под заказ1150 руб.
1512645-96J01-000

   (актуальный код замены) Подшипник балансира - Bearing, Balancer

56 шт1240 руб.
1612650-96J01-000

Правый балансир - Balancer, Stbd

под заказ34320 руб.
1612650-96J20-000

   (актуальный код замены) Правый балансир - Balancer, Stbd

под заказ34320 руб.
1612650-96J10-000

Правый балансир - Balancer, Stbd (BALANCER, STBD)

под заказ34320 руб.
1612650-96J20-000

   (актуальный код замены) Правый балансир - Balancer, Stbd

под заказ34320 руб.
1712665-96J00-000

Цепное колесо ЗВЕЗДОЧКА, Balancer Driven - Sprocket, Balancer Driven (звездочка балансира ведомая)

под заказ4660 руб.
1801550-1020A-000

Болт - Bolt (Bolt, bal sprocket # ) (Болт)

под заказ230 руб.
1904221-04089-000

Штифт - Pin (Pin, bal sprocket driven # ) (шпонка ведомой звездочки балансира)

7 шт90 руб.
2009103-08414-000

Болт (8x53) - Bolt (8x53) (Болт корпуса №1 (8X53))

под заказ250 руб.
2109103-08423-000

Болт (8x80) - Bolt (8x80) (Болт корпуса №3 (8X80))

под заказ320 руб.
2204211-11129-000

Штифт - Pin (Pin)

14 шт150 руб.
2312662-96J00-000

Цепное колесо ЗВЕЗДОЧКА, Balancer Drive - Sprocket, Balancer Drive (звездочка балансира ведущая)

под заказ6770 руб.
2409202-05032-000

Штифт (5x12) - Pin (5x12) (Pin, bal sprocket drive # ) (шпонка ведущей звездочки балансира)

9 шт140 руб.
2512670-96J00-000

Цепь балансира - Chain, Balancer (Цепь)

под заказ5000 руб.
2612671-96J01-000

Натяжитель цепи балансира - Tensioner, Balancer Chain (Tensioner, balancer chain)

под заказ2450 руб.
2712672-96J01-000

Болт натяжителя цепи балансира - Bolt, Balancer Chain Tensioner (Bolt, balancer chain tensioner)

под заказ950 руб.
2809160-08079-000

Шайба (8x17x2) - Washer (8x17x2) (Шайба)

под заказ290 руб.
2912673-96J00-000

Пружина натяжителя цепи балансира - Spring, Bal Chain Tensioner (Пружина механизма натяжения балансира)

под заказ790 руб.
3012695-96J00-000

Пружина натяжителя цепи балансира - Guide, Balancer Chain (Направляющая цепи балансира)

под заказ5620 руб.
3101550-0825A-000

Болт - Bolt (Болт)

под заказ180 руб.
3209103-08158-000

Болт (8x75) - Bolt (8x75) (Bolt, bal housing no.2 (8x75) # ) (Bolt (8x75))

под заказ410 руб.
3309160-10039-000

Шайба (10.5x22x2.3) - Washer (105x22x23) (Шайба)

под заказ170 руб.


Время выполнения запроса 8.5000379085541 сек.

 
 

данный сайт носит информационный характер и не является публичной офертой

склад запчастей для водомоторной техники