Найти запчасти на подвесной мотор Сузуки модель года - Водяной насос - Water pump
вконтакте

Контактный телефон: +7 (981) 121-46-93, +7 (800) 200-90-76 , Email: parts-katalog@yandex.ru, где купить

 
 

  Логин:

Пароль:

Регистрация

www.partskatalog.ru Все каталоги Запчасти Mercury Запчасти Suzuki Запчасти Tohatsu Запчасти Honda Контакты



УВАЖАЕМЫЕ КЛИЕНТЫ!
C 19 ДЕКАБРЯ 2025 ПО 02 МАРТА 2026 ГОДА ОТДЕЛ ЗАПЧАСТЕЙ И СЕРВИС РАБОТАТЬ НЕ БУДУТ
ПРОДАЖА ЛОДОЧНЫХ МОТОРОВ В ШТАТНОМ РЕЖИМЕ
ОБ ИЗМЕНЕНИЯХ В ГРАФИКЕ РАБОТЫ ЧИТАЙТЕ НА САЙТА



назад Раздел:   вперёд

Вернуться к выбору узлов мотора


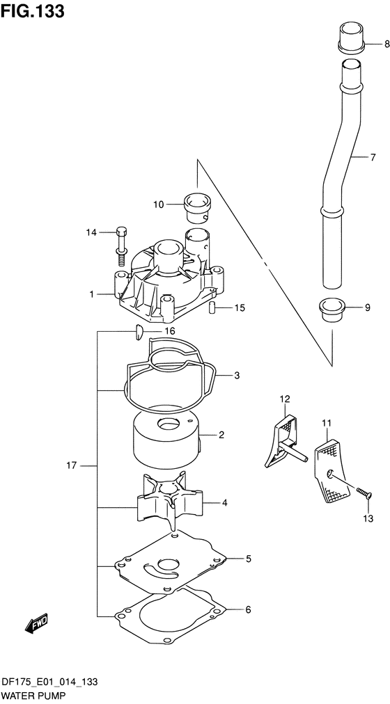
ДЕТАЛИРОВКА ДЛЯ МОДЕЛИ: SUZUKI DF175T/DF175TG FROM 17502F-410001~

Водяной насос


Номер на
рисунке
АртикулНаименованиеQTYКол-во
на складе
Цена
117411-96J01-000

Корпус водяного насоса - Case, Water Pump (Case, water pump)

4 шт7570 руб.
217413-96J11-000

Рукав корпуса водяной помпы - Sleeve, Water Pump Case (Sleeve, water pump case)

под заказ10850 руб.
317416-96J00-000

Сальник корпуса водяного насоса - Sealing, Water Pump Case (Уплотнение корпуса)

под заказ850 руб.
317416-96J01-000

   (актуальный код замены) Сальник корпуса водяного насоса - Sealing, Water Pump Case

6 шт960 руб.
417461-90J01-000

Крыльчатка водяного насоса - Impeller, Water Pump (Крыльчатка водной помпы)

20 шт7000 руб.
4SC-WT096

   (не оригинальный аналог) Крыльчатка помпы охлаждения двигателя Suzuki SC-WT096

под заказ1660 руб.
517471-93J12-000

Панель в нижней части корпуса помпы - Panel, Pump Case Under (Panel, pump case under)

под заказ7400 руб.
617472-93J00-000

Прокладка панели корпуса помпы - Gasket, Pump Case Panel (Прокладка панели)

6 шт930 руб.
6SK17472-93J00

   (не оригинальный аналог) Прокладка пластины помпы Skipper для Suzuki Модели техники: DF150-250

0 шт162 руб.
717560-96J01-000

Водяная трубка (l) - Tube, Water (l) (W/TRANSOM (L) # ) (Tube, water (l))

под заказ5720 руб.
717561-96J11-000

Водяная трубка (x) - Tube, Water (x) (W/TRANSOM (X) # ) (Tube, water (x))

под заказ4850 руб.
817562-93J00-000

Верхняя втулка трубки водяного насоса - Bush, Water Tube Upper

под заказ370 руб.
817562-93J01-000

   (актуальный код замены) Верхняя втулка трубки водяного насоса - Bush, Water Tube Upper

под заказ370 руб.
817562-93J01-000

Верхняя втулка трубки водяного насоса - Bush, Water Tube Upper (BUSH, WATER TUBE UPPER)

под заказ370 руб.
917563-93J00-000

Втулка, Водяная трубка Lwr - Bush, Water Tube Lwr (Втулка нижней трубы)

под заказ370 руб.
917563-93J01-000

   (актуальный код замены) Нижняя втулка трубки водяного насоса - Bush, Water Tube Lower

9 шт420 руб.
1017564-93J00-000

Втулка корпуса водяной помпы - Bush, Water Pump Case (Втулка водной помпы)

1 шт480 руб.
1017564-93J01-000

   (актуальный код замены) Втулка корпуса водяной помпы - Bush, Water Pump Case

16 шт480 руб.
1117631-93J20-000

Водяной фильтр с левой стороны - Filter, Water Port Side (Сетка водозаборника)

16 шт1020 руб.
1117631-93J30-000

Водяной фильтр с левой стороны - Filter, Water Port Side (OPT # ) (Сетка водозаборника)

5 шт980 руб.
1217632-93J20-000

Водяной фильтр с правой стороны - Filter, Water Stbd Side (Сетка водозаборника)

17 шт1020 руб.
1217632-93J30-000

Водяной фильтр с правой стороны - Filter, Water Stbd Side (OPT # ) (Сетка водозаборника)

3 шт910 руб.
1309132-04034-000

Винт (4x18) - Screw (4x18) (W/TRANSOM (L) # ) (Болт)

24 шт170 руб.
1409116-08131-000

Болт (8x45) - Bolt (8x45) (Bolt (8x45))

20 шт500 руб.
1509202-06031-000

Штифт (6x12) - Pin (6x12) (Pin, knock # ) (Pin)

20 шт220 руб.
1609420-05009-000

Ключ - Key (Ключ)

9 шт760 руб.
16SK09420-05009

   (не оригинальный аналог) Шпонка крыльчатки помпы охлаждения Skipper для Suzuki DF90-300

0 шт167 руб.
1717400-96J02-000

Ремкомплект водяного насоса - Kit, Water Pump Repair (OPT # ) (Kit, water pump repair)

под заказ0 руб.
1717400-96J04-000

   (актуальный код замены) Ремкомплект водяного насоса - Kit, Water Pump Repair

13 шт8900 руб.


Время выполнения запроса 1.7643899917603 сек.

 
 

данный сайт носит информационный характер и не является публичной офертой

склад запчастей для водомоторной техники