| |
 |
|
 |
Вернуться к выбору узлов мотора
ДЕТАЛИРОВКА ДЛЯ МОДЕЛИ: SUZUKI DF175T(175) PRD
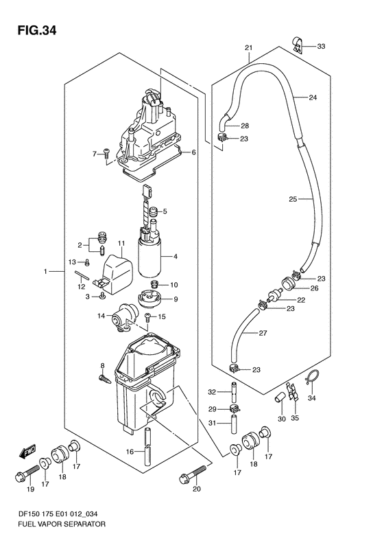
Отделитель паров топлива
Код модели двигателя: DF175(Z)TL/X
Год выпуска двигателя: 2011
Регион: General Export No.1 ,Код региона: P01
Цвет: Shadow Black Metallic
Номер на рисунке | Артикул | Наименование | QTY | Кол-во на складе | Цена |
| 1 | 15600-96J11-000 | Сепаратор-отделитель паров топлива, в сборе - Separator Assy, Fuel Vapor (Separator Assy, Fuel Vapor) | | под заказ | 89280 руб. |
| 1 | 15600-96J12-000 | (актуальный код замены) Сепаратор-отделитель паров топлива, в сборе - Separator Assy, Fuel Vapor | | под заказ | 89280 руб. |
| 1 | 15600-96J12-000 | Сепаратор-отделитель паров топлива, в сборе - Separator Assy, Fuel Vapor (Separator Assy, Fuel Vapor) | | под заказ | 89280 руб. |
| 2 | 13370-96J00-000 | Игольчатый клапан, в сборе - Valve Assy, Needle (Valve Assy, Needle) | | под заказ | 4900 руб. |
| 3 | 02142-0408B-000 | Винт - Screw (Screw) | | под заказ | 130 руб. |
| 4 | 15200-96J10-000 | Топливный насос (высокого давления), в сборе - Pump Assy, Fuel (h) (Pump Assy, Fuel (h)) | | под заказ | 42000 руб. |
| 5 | 15647-93J10-000 | Втулка топливного насоса - Bush, Fuel Pump (Bush, Fuel Pump) | | под заказ | 1320 руб. |
| 6 | 15626-96J00-000 | Сальник - Seal (Seal) | | 1 шт | 1280 руб. |
| 7 | 15628-99E00-000 | Винт (l: 15) - Screw (l:15) (Screw (l:15); ) (Screw (l:15)) | | под заказ | 240 руб. |
| 8 | 15629-99E10-000 | Винт дренажный - Screw, Drain (Screw, Drain) | | под заказ | 550 руб. |
| 9 | 15641-96J00-000 | Прокладка топливного насоса - Spacer, Fuel Pump (Spacer, Fuel Pump) | | под заказ | 2340 руб. |
| 10 | 15642-90J00-000 | Фильтр - Filter (Filter, fuel pump; ) (Filter) | | 2 шт | 1110 руб. |
| 11 | 15650-96J00-000 | Поплавок - Float (Float) | | под заказ | 6870 руб. |
| 12 | 13254-01010-000 | Стопор поплавка - Pin, Float (Pin, Float) | | под заказ | 290 руб. |
| 13 | 02112-0408A-000 | Винт - Screw (Screw) | | под заказ | 90 руб. |
| 14 | 15760-93J00-000 | Регулятор давления топлива - Regulator, Fuel Pressure (Regulator, Fuel Pressure) | | под заказ | 16130 руб. |
| 14 | 15760-93J01-000 | (актуальный код замены) Регулятор давления топлива - Regulator, Fuel Pressure | | 1 шт | 17590 руб. |
| 15 | 02112-05107-000 | Винт - Screw (Screw, bracket ) (Screw) | | под заказ | 120 руб. |
| 16 | 15683-87J00-000 | Шланг - Hose (Hose, drain ) (Hose) | | под заказ | 330 руб. |
| 17 | 09169-08042-000 | Шайба - Washer (Washer (8.5x22x2) ) (Washer) | | под заказ | 430 руб. |
| 18 | 09320-12072-000 | Подушка - Cushion (Cushion) | | под заказ | 240 руб. |
| 18 | 09320-12094-000 | (актуальный код замены) Подушка глушителя Кронштейн - Cushion, Silencer Bracket | | под заказ | 240 руб. |
| 19 | 01550-08357-000 | Болт - Bolt (Bolt) | | под заказ | 260 руб. |
| 20 | 01550-08407-000 | Болт - Bolt (Bolt) | | под заказ | 260 руб. |
| 21 | 15660-96J11-000 | Шланг испарителя - Hose, Evaporation (Hose, Evaporation) | | под заказ | 2500 руб. |
| 21 | 15660-96J31-000 | (актуальный код замены) Шланг испарителя (l: 1000) - Hose, Evaporation (l:1000) | | под заказ | 2500 руб. |
| 21 | 15660-96J20-000 | Шланг испарителя - Hose, Evaporation (Hose, Evaporation) | | под заказ | 2500 руб. |
| 21 | 15660-96J31-000 | (актуальный код замены) Шланг испарителя (l: 1000) - Hose, Evaporation (l:1000) | | под заказ | 2500 руб. |
| 22 | 15410-98500-000 | Топливный фильтр - Filter, Fuel (Filter assy, fuel # Filter, evaporation; ) (Filter, Fuel) | | 40 шт | 1600 руб. |
| 22 | 15410-98500 | (не оригинальный аналог) Топливный фильтр Suzuki 15410-98500 | | под заказ | 590 руб. |
| 23 | 09401-08412-000 | Зажим - Clip (Clip) | | под заказ | 190 руб. |
| 24 | 18498-87JC0-000 | Защита шланга (9.5x11.5x450) - Protector, Hose (95x115x450) (Protector, evap hose (9.5x11.5x450) # Protector, evap hose (9.5x11.5x450); , l:450 ) (Protector, Hose (9.5x11.5x450)) | | 1 шт | 650 руб. |
| 24 | 18498-87JC1-000 | (актуальный код замены) Защита шланга (9.5x11.5x450) - Protector, Hose (9.5x11.5x450) | | под заказ | 650 руб. |
| 25 | 18498-87JC0-000 | Защита шланга (9.5x11.5x450) - Protector, Hose (95x115x450) (Protector, evap hose (9.5x11.5x450) # Protector, evap hose (9.5x11.5x450); , l:450->300 ) (Protector, Hose (9.5x11.5x450)) | | 1 шт | 650 руб. |
| 25 | 18498-87JC1-000 | (актуальный код замены) Защита шланга (9.5x11.5x450) - Protector, Hose (9.5x11.5x450) | | под заказ | 650 руб. |
| 26 | 09320-20008-000 | Подушка - Cushion (Cushion filter ) (Cushion) | | под заказ | 290 руб. |
| 27 | 09352-50823-600 | Шланг (5x8.2x600) - Hose (5x82x600) (Hose, evapotation (5.0x8.2x600) # Hose (5x8.2x600); L:600->120 ) (Hose (5x8.2x600)) | | под заказ | 640 руб. |
| 27 | 09352-50005-600 | (актуальный код замены) Шланг (5x8.2x600) - Hose (5x8.2x600) | | под заказ | 640 руб. |
| 28 | 09352-50823-00B | Шланг (5x8.2x2000) - Hose (5x82x2000) (Hose (vapor sep to filter) # Hose (5x8.2x2000); L:2000->860 ) (Hose (5x8.2x2000)) | | 1 шт | 1420 руб. |
| 28 | 09352-50005-00B | (актуальный код замены) Шланг (5x8.2x2000) - Hose (5x8.2x2000) | | под заказ | 1420 руб. |
| 29 | 09401-08412-000 | Зажим - Clip (Clip) | | под заказ | 190 руб. |
| 30 | 18498-96J40-000 | Защита, Провод Жгут проводов - Protector, Wire Harness (Protector, harness (9.5x11.5x25) # Protector, harness (9.5x11.5x25); ) (Protector, Wire Harness) | | под заказ | 310 руб. |
| 30 | 18498-96J41-000 | (актуальный код замены) Защита, Провод Жгут проводов (l: 25) - Protector, Wire Harness (l:25) | | под заказ | 310 руб. |
| 31 | 09352-50823-600 | Шланг (5x8.2x600) - Hose (5x82x600) (Hose, evapotation (5.0x8.2x600) # Hose (5x8.2x600); L:600->45 ) (Hose (5x8.2x600)) | | под заказ | 640 руб. |
| 31 | 09352-50005-600 | (актуальный код замены) Шланг (5x8.2x600) - Hose (5x8.2x600) | | под заказ | 640 руб. |
| 32 | 09364-06010-000 | Соединение - Union (Union) | | под заказ | 490 руб. |
| 33 | 09403-13408-000 | Струбцина - Clamp (Clamp) | | под заказ | 490 руб. |
| 33 | 09403-13413-000 | (актуальный код замены) Струбцина - Clamp | | под заказ | 490 руб. |
| 34 | 09408-00008-000 | Зажим (id: 20) - Clip (id:20) (Clamp, vacuum hose # Clip; ) (Clip (id:20)) | | под заказ | 150 руб. |
| 35 | 09408-00078-000 | Струбцина - Clamp (Clamp, evaporation hose ) (Clamp) | | под заказ | 270 руб. |
| 36 | 15690-96J01-000 | Шланг Set, Evaporation - Hose Set, Evaporation (Opt, not illustrated) (Hose Set, Evaporation) | | под заказ | 3290 руб. |
| 36 | 15690-96J22-000 | (актуальный код замены) Шланг Set, Evaporation - Hose Set, Evaporation | | под заказ | 3290 руб. |
| 36 | 15690-96J10-000 | Шланг Set, Evaporation - Hose Set, Evaporation (Hose Set, Evaporation) | | под заказ | 3290 руб. |
| 36 | 15690-96J22-000 | (актуальный код замены) Шланг Set, Evaporation - Hose Set, Evaporation | | под заказ | 3290 руб. |
Время выполнения запроса 1.6469719409943 сек. |
|