| |
 |
|
 |
Вернуться к выбору узлов мотора
ДЕТАЛИРОВКА ДЛЯ МОДЕЛИ: SUZUKI DF175T(175) PRD
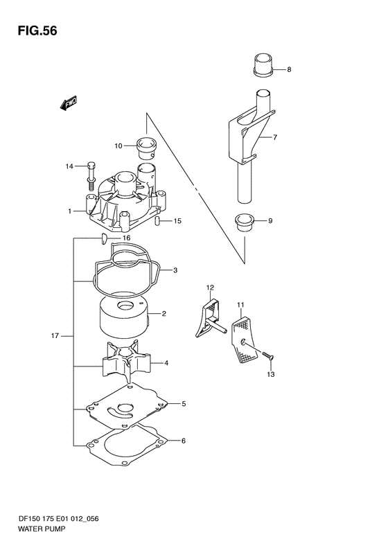
Водяной насос
Код модели двигателя: DF175(Z)TL/X
Год выпуска двигателя: 2011
Регион: General Export No.1 ,Код региона: P01
Цвет: Shadow Black Metallic
Номер на рисунке | Артикул | Наименование | QTY | Кол-во на складе | Цена |
| 1 | 17411-96J00-000 | Корпус водяного насоса - Case, Water Pump (Case, Water Pump) | | под заказ | 6960 руб. |
| 1 | 17411-96J01-000 | (актуальный код замены) Корпус водяного насоса - Case, Water Pump | | 4 шт | 7570 руб. |
| 1 | 17411-96J01-000 | Корпус водяного насоса - Case, Water Pump (Case, Water Pump) | | 4 шт | 7570 руб. |
| 2 | 17413-96J11-000 | Рукав корпуса водяной помпы - Sleeve, Water Pump Case (Sleeve, Water Pump Case) | | под заказ | 10850 руб. |
| 3 | 17416-96J00-000 | Сальник корпуса водяного насоса - Sealing, Water Pump Case (Sealing, Water Pump Case) | | под заказ | 850 руб. |
| 3 | 17416-96J01-000 | (актуальный код замены) Сальник корпуса водяного насоса - Sealing, Water Pump Case | | 6 шт | 960 руб. |
| 4 | 17461-90J01-000 | Крыльчатка водяного насоса - Impeller, Water Pump (Impeller, Water Pump) | | 20 шт | 7000 руб. |
| 4 | SC-WT096 | (не оригинальный аналог) Крыльчатка помпы охлаждения двигателя Suzuki SC-WT096 | | под заказ | 1660 руб. |
| 5 | 17471-93J11-000 | Панель в нижней части корпуса помпы - Panel, Pump Case Under (Panel, Pump Case Under) | | под заказ | 7400 руб. |
| 5 | 17471-93J12-000 | (актуальный код замены) Панель в нижней части корпуса помпы - Panel, Pump Case Under | | под заказ | 7400 руб. |
| 5 | 17471-93J12-000 | Панель в нижней части корпуса помпы - Panel, Pump Case Under (Panel, Pump Case Under) | | под заказ | 7400 руб. |
| 6 | 17472-93J00-000 | Прокладка панели корпуса помпы - Gasket, Pump Case Panel (Gasket, Pump Case Panel) | | 6 шт | 930 руб. |
| 6 | SK17472-93J00 | (не оригинальный аналог) Прокладка пластины помпы Skipper для Suzuki Модели техники: DF150-250 | | 0 шт | 162 руб. |
| 7 | 17560-96J00-000 | Водяная трубка (l) - Tube, Water (l) (Tube, water (l); Transom (l)) (Tube, Water (l)) | | под заказ | 5720 руб. |
| 7 | 17560-96J01-000 | (актуальный код замены) Водяная трубка (l) - Tube, Water (l) | | под заказ | 5720 руб. |
| 7 | 17560-96J01-000 | Водяная трубка (l) - Tube, Water (l) (Tube, Water (l)) | | под заказ | 5720 руб. |
| 7 | 17561-96J10-000 | Водяная трубка (x) - Tube, Water (x) (Tube, water (x); Transom (x)) (Tube, Water (x)) | | под заказ | 4850 руб. |
| 7 | 17561-96J11-000 | (актуальный код замены) Водяная трубка (x) - Tube, Water (x) | | под заказ | 4850 руб. |
| 7 | 17561-96J11-000 | Водяная трубка (x) - Tube, Water (x) (Tube, Water (x)) | | под заказ | 4850 руб. |
| 8 | 17562-93J00-000 | Верхняя втулка трубки водяного насоса - Bush, Water Tube Upper (Bush, Water Tube Upper) | | под заказ | 370 руб. |
| 8 | 17562-93J01-000 | (актуальный код замены) Верхняя втулка трубки водяного насоса - Bush, Water Tube Upper | | под заказ | 370 руб. |
| 8 | 17562-93J01-000 | Верхняя втулка трубки водяного насоса - Bush, Water Tube Upper (Bush, Water Tube Upper) | | под заказ | 370 руб. |
| 9 | 17563-93J00-000 | Втулка, Водяная трубка Lwr - Bush, Water Tube Lwr (Bush, Water Tube Lwr) | | под заказ | 370 руб. |
| 9 | 17563-93J01-000 | (актуальный код замены) Нижняя втулка трубки водяного насоса - Bush, Water Tube Lower | | 9 шт | 420 руб. |
| 10 | 17564-93J00-000 | Втулка корпуса водяной помпы - Bush, Water Pump Case (Bush, Water Pump Case) | | 1 шт | 480 руб. |
| 10 | 17564-93J01-000 | (актуальный код замены) Втулка корпуса водяной помпы - Bush, Water Pump Case | | 16 шт | 480 руб. |
| 11 | 17631-93J20-000 | Водяной фильтр с левой стороны - Filter, Water Port Side (Filter, Water Port Side) | | 16 шт | 1020 руб. |
| 11 | 17631-93J30-000 | Водяной фильтр с левой стороны - Filter, Water Port Side (Opt ) (Filter, Water Port Side) | | 5 шт | 980 руб. |
| 12 | 17632-93J20-000 | Водяной фильтр с правой стороны - Filter, Water Stbd Side (Filter, Water Stbd Side) | | 17 шт | 1020 руб. |
| 12 | 17632-93J30-000 | Водяной фильтр с правой стороны - Filter, Water Stbd Side (Opt ) (Filter, Water Stbd Side) | | 3 шт | 910 руб. |
| 13 | 09132-04034-000 | Винт (4x18) - Screw (4x18) (Screw (4x18); ) (Screw (4x18)) | | 24 шт | 170 руб. |
| 14 | 09116-08131-000 | Болт (8x45) - Bolt (8x45) (Bolt (8x45); ) (Bolt (8x45)) | | 20 шт | 500 руб. |
| 15 | 09202-06031-000 | Штифт (6x12) - Pin (6x12) (Pin, knock ) (Pin (6x12)) | | 20 шт | 220 руб. |
| 16 | 09420-05009-000 | Ключ - Key (Key) | | 9 шт | 760 руб. |
| 16 | SK09420-05009 | (не оригинальный аналог) Шпонка крыльчатки помпы охлаждения Skipper для Suzuki DF90-300 | | 0 шт | 167 руб. |
| 17 | 17400-96J01-000 | Ремкомплект водяного насоса - Kit, Water Pump Repair (Opt) (Kit, Water Pump Repair) | | под заказ | 0 руб. |
| 17 | 17400-96J04-000 | (актуальный код замены) Ремкомплект водяного насоса - Kit, Water Pump Repair | | 13 шт | 8900 руб. |
| 17 | SK17400-96J01 | (не оригинальный аналог) Ремкомплект помпы охлаждения Suzuki DF150-DF175 Skipper | | 0 шт | 2327 руб. |
| 17 | 17400-96J02-000 | Ремкомплект водяного насоса - Kit, Water Pump Repair (Kit, Water Pump Repair) | | под заказ | 0 руб. |
| 17 | 17400-96J04-000 | (актуальный код замены) Ремкомплект водяного насоса - Kit, Water Pump Repair | | 13 шт | 8900 руб. |
Время выполнения запроса 0.88612294197083 сек. |
|