Купить комплектующие на подвесной мотор Сузуки модель 2012 года - Balancer
вконтакте

Контактный телефон: +7 (981) 121-46-93, +7 (800) 200-90-76 , Email: parts-katalog@yandex.ru, где купить

 
 

  Логин:

Пароль:

Регистрация

www.partskatalog.ru Все каталоги Запчасти Mercury Запчасти Suzuki Запчасти Tohatsu Запчасти Honda Контакты



УВАЖАЕМЫЕ КЛИЕНТЫ!
C 19 ДЕКАБРЯ 2025 ПО 02 МАРТА 2026 ГОДА ОТДЕЛ ЗАПЧАСТЕЙ И СЕРВИС РАБОТАТЬ НЕ БУДУТ
ПРОДАЖА ЛОДОЧНЫХ МОТОРОВ В ШТАТНОМ РЕЖИМЕ
ОБ ИЗМЕНЕНИЯХ В ГРАФИКЕ РАБОТЫ ЧИТАЙТЕ НА САЙТА



назад Раздел:   вперёд

Вернуться к выбору узлов мотора


ДЕТАЛИРОВКА ДЛЯ МОДЕЛИ: SUZUKI DF175Z FROM 17502Z-210001~

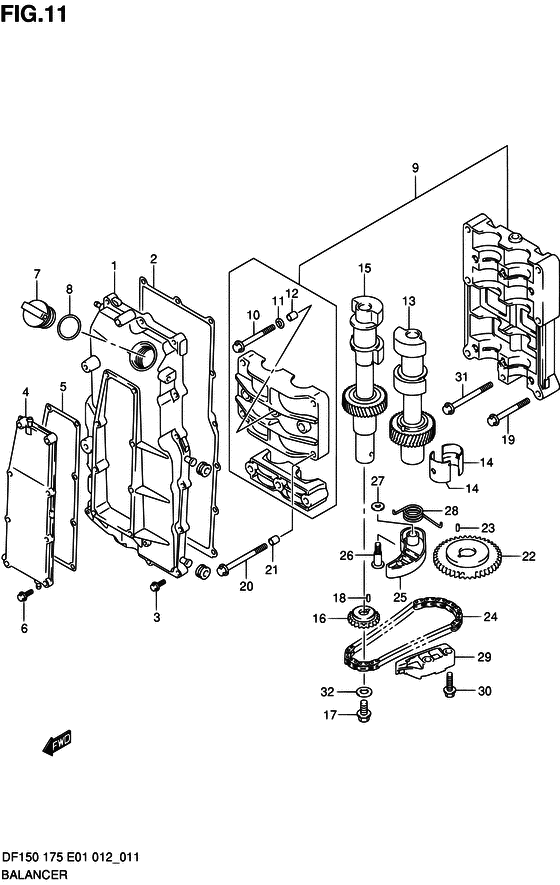
Balancer


Год выпуска двигателя: 2012

Номер на
рисунке
АртикулНаименованиеQTYКол-во
на складе
Цена
111330-96J10-000

Крышка балансирующего вала - Cover, Balancer Shaft (Cover, Balancer Shaft)

2 шт28280 руб.
211332-96J00-000

Прокладка крышки балансира - Gasket, Balancer Cover (Gasket, Balancer Cover)

5 шт3270 руб.
301550-06257-000

Болт - Bolt (Bolt)

под заказ180 руб.
411340-96J00-000

Крышка, Balancer Water Jacket - Cover, Balancer Water Jacket (Cover, Balancer Water Jacket)

под заказ13780 руб.
511342-96J00-000

Прокладка крышки балансира водяной рубашки охлаждения - Gasket, Bal Wtr Jkt Cover (Gasket, Bal Wtr Jkt Cover)

6 шт1350 руб.
601550-06257-000

Болт - Bolt (Bolt)

под заказ180 руб.
711382-93J00-000

Колпачок масляного фильтра - Cap, Oil Filler (Cap, Oil Filler)

6 шт630 руб.
809280-26006-000

Уплотнительное кольцо (d: 3.1, Id: 26.4) - O Ring (d:31, Id:264) (O Ring (d:3.1, Id:26.4))

2 шт220 руб.
912600-96J00-000

Корпус балансира - Housing Assy, Balancer (DF150T UP TO VIN.210507 DF150Z FROM VIN.210054 DF175T UP TO VIN.210271 DF175Z UP TO VIN.210019) (Housing Assy, Balancer)

под заказ59520 руб.
912600-96J10-000

   (актуальный код замены) Корпус балансира - Housing Assy, Balancer

под заказ59520 руб.
912600-96J01-000

Корпус балансира - Housing Assy, Balancer (Housing Assy, Balancer)

под заказ59520 руб.
912600-96J10-000

   (актуальный код замены) Корпус балансира - Housing Assy, Balancer

под заказ59520 руб.
1012643-96J00-000

Болт балансира - Bolt, Balancer (Bolt, Balancer)

под заказ580 руб.
1112644-96J00-000

Шайба балансира - Washer, Balancer (Washer, Balancer)

под заказ250 руб.
1204211-11129-000

Штифт - Pin (Pin)

14 шт150 руб.
1312660-96J02-000

Левый балансир - Balancer, Port (DF150T FROM VIN.210508 DF150Z FROM VIN.210055 DF175T FROM VIN.210272 DF175Z FROM VIN.210020) (Balancer, Port)

под заказ34320 руб.
1312660-96J22-000

   (актуальный код замены) Левый балансир - Balancer Comp, Port

под заказ34320 руб.
1312660-96J10-000

Левый балансир - Balancer, Port (Balancer, Port)

под заказ34320 руб.
1312660-96J22-000

   (актуальный код замены) Левый балансир - Balancer Comp, Port

под заказ34320 руб.
1312605-96J01-000

Балансир правая / левая сторона - Balancer Set, Stbd/port (->12600-96800 BALANCER SET, STBD/PORT DF150T UP TO VIN.210507 DF150Z FROM VIN.210054 DF175T UP TO VIN.210271 DF175Z UP TO VIN.210019) (Balancer Set, Stbd/port)

под заказ49920 руб.
1312600-96803-000

   (актуальный код замены) Балансир правая / левая сторона - Balancer Set, Stbd/port

1 шт49920 руб.
1312600-96801-000

Балансир правая / левая сторона - Balancer Set, Stbd/port (Balancer Set, Stbd/port)

под заказ49920 руб.
1312600-96803-000

   (актуальный код замены) Балансир правая / левая сторона - Balancer Set, Stbd/port

1 шт49920 руб.
1412645-96J00-000

Подшипник балансира - Bearing, Balancer (Bearing, Balancer)

под заказ1150 руб.
1412645-96J01-000

   (актуальный код замены) Подшипник балансира - Bearing, Balancer

48 шт1240 руб.
1512650-96J00-000

Запчасть снята с производства - The Spare Part Is Laid Off (->12600-96800 BALANCER SET, STBD/PORT DF150T UP TO VIN.210507 DF150Z UP TO VIN.210054 DF175T UP TO VIN.210271 DF175Z UP TO VIN.210019) (The Spare Part Is Laid Off)

под заказ0 руб.
1512650-96J01-000

Правый балансир - Balancer, Stbd (DF150T FROM VIN.210508 DF150Z FROM VIN.210055 DF175T FROM VIN.210272 DF175Z FROM VIN.210020) (Balancer, Stbd)

под заказ34320 руб.
1512650-96J20-000

   (актуальный код замены) Правый балансир - Balancer, Stbd

под заказ34320 руб.
1512650-96J10-000

Правый балансир - Balancer, Stbd (Balancer, Stbd)

под заказ34320 руб.
1512650-96J20-000

   (актуальный код замены) Правый балансир - Balancer, Stbd

под заказ34320 руб.
1612665-96J00-000

Цепное колесо ЗВЕЗДОЧКА, Balancer Driven - Sprocket, Balancer Driven (Sprocket, Balancer Driven)

под заказ4660 руб.
1701550-1020A-000

Болт - Bolt (Bolt, bal sprocket ) (Bolt)

под заказ230 руб.
1804221-04089-000

Штифт - Pin (Pin, bal sprocket driven ) (Pin)

7 шт90 руб.
1909103-08414-000

Болт (8x53) - Bolt (8x53) (Bolt (8x53))

под заказ250 руб.
2009103-08423-000

Болт (8x80) - Bolt (8x80) (Bolt (8x80))

под заказ320 руб.
2104211-11129-000

Штифт - Pin (Pin)

14 шт150 руб.
2212662-96J00-000

Цепное колесо ЗВЕЗДОЧКА, Balancer Drive - Sprocket, Balancer Drive (Sprocket, Balancer Drive)

под заказ6770 руб.
2309202-05032-000

Штифт (5x12) - Pin (5x12) (Pin, bal sprocket drive ) (Pin (5x12))

9 шт140 руб.
2412670-96J00-000

Цепь балансира - Chain, Balancer (Chain, Balancer)

под заказ5000 руб.
2512671-96J01-000

Натяжитель цепи балансира - Tensioner, Balancer Chain (Tensioner, Balancer Chain)

под заказ2450 руб.
2612672-96J01-000

Болт натяжителя цепи балансира - Bolt, Balancer Chain Tensioner (Bolt, Balancer Chain Tensioner)

под заказ950 руб.
2709160-08079-000

Шайба (8x17x2) - Washer (8x17x2) (Washer (8x17x2))

под заказ290 руб.
2812673-96J00-000

Пружина натяжителя цепи балансира - Spring, Bal Chain Tensioner (Spring, Bal Chain Tensioner)

под заказ790 руб.
2912695-96J00-000

Пружина натяжителя цепи балансира - Guide, Balancer Chain (Guide, Balancer Chain)

под заказ5620 руб.
3001550-0825A-000

Болт - Bolt (Bolt)

под заказ180 руб.
3109103-08158-000

Болт (8x75) - Bolt (8x75) (Bolt, bal housing no.2 (8x75) ) (Bolt (8x75))

под заказ410 руб.
3209160-10039-000

Шайба (10.5x22x2.3) - Washer (105x22x23) (Washer (10.5x22x2.3))

под заказ170 руб.


Время выполнения запроса 2.9269490242004 сек.

 
 

данный сайт носит информационный характер и не является публичной офертой

склад запчастей для водомоторной техники