| |
 |
|
 |
Вернуться к выбору узлов мотора
ДЕТАЛИРОВКА ДЛЯ МОДЕЛИ: SUZUKI DF175Z FROM 17502Z-210001~
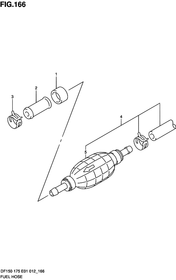
Топливный шланг
Год выпуска двигателя: 2012
Номер на рисунке | Артикул | Наименование | QTY | Кол-во на складе | Цена |
| 1 | 09251-09002-000 | Колпачок (od: 13.6) - Cap (od:136) (Cap (od:13.6)) | | под заказ | 260 руб. |
| 1 | 09251-09008-000 | (актуальный код замены) Колпачок (od: 13.6) - Cap (od:13.6) | | под заказ | 260 руб. |
| 2 | 09367-10001-000 | Соединитель - Joint (Joint, fuel hose ) (Joint) | | под заказ | 480 руб. |
| 3 | 09401-13423-000 | Зажим - Clip (Clip) | | 10 шт | 230 руб. |
| 4 | 65700-93J00-000 | Топливный шланг (от бака до коннектораector) - Hose, Fuel (tank To Connector) (Hose, Fuel (tank To Connector)) | | под заказ | 0 руб. |
| 4 | 65700-93J02-000 | Топливный шланг (от бака до коннектораector) - Hose, Fuel (tank To Connector) (Hose, Fuel (tank To Connector)) | | под заказ | 0 руб. |
| 5 | 65770-87D00-000 | Запчасть снята с производства - The Spare Part Is Laid Off (->65770-93J10) (The Spare Part Is Laid Off) | | под заказ | 0 руб. |
Время выполнения запроса 0.58618903160095 сек. |
|