Купить запчасти на лодочный мотор Suzuki модель 2011 года - Поворотный кронштейн
вконтакте

Контактный телефон: +7 (981) 121-46-93, +7 (800) 200-90-76 , Email: parts-katalog@yandex.ru, где купить

 
 

  Логин:

Пароль:

Регистрация

www.partskatalog.ru Все каталоги Запчасти Mercury Запчасти Suzuki Запчасти Tohatsu Запчасти Honda Контакты



УВАЖАЕМЫЕ КЛИЕНТЫ!
C 19 ДЕКАБРЯ 2025 ПО 02 МАРТА 2026 ГОДА ОТДЕЛ ЗАПЧАСТЕЙ И СЕРВИС РАБОТАТЬ НЕ БУДУТ
ПРОДАЖА ЛОДОЧНЫХ МОТОРОВ В ШТАТНОМ РЕЖИМЕ
ОБ ИЗМЕНЕНИЯХ В ГРАФИКЕ РАБОТЫ ЧИТАЙТЕ НА САЙТА



назад Раздел:   вперёд

Вернуться к выбору узлов мотора


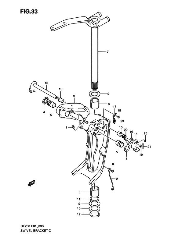
ДЕТАЛИРОВКА ДЛЯ МОДЕЛИ: SUZUKI DF200WZ FROM 20002Z-110001~

Поворотный кронштейн


Год выпуска двигателя: 2011

Номер на
рисунке
АртикулНаименованиеQTYКол-во
на складе
Цена
122511-99011-000

Ниппель смазки - Nipple, Grease (Nipple, Grease)

9 шт400 руб.
236894-87D00-000

Lead (l: 165) - Lead (l:165) (Lead (l:165))

2 шт1350 руб.
343111-93J00-0EP

Кронштейн Set, Swivel - Bracket Set, Swivel (->43100-93810-0EP BRACKET SET, SWIVEL CONTENTS: BRACKET, SWIVEL BUSH, CLAMP SHAFT SWIVEL (2PCS) LEAD, CLAMP TO SWIVEL SCREW, CLAMP TO SWIVEL LEAD (2PCS)) (Bracket Set, Swivel)

под заказ131520 руб.
343100-93814-0EP

   (актуальный код замены) Кронштейн Set, Swivel - Bracket Set, Swivel

под заказ131520 руб.
343100-93813-0EP

Кронштейн Set, Swivel - Bracket Set, Swivel (Bracket Set, Swivel)

под заказ131520 руб.
343100-93814-0EP

   (актуальный код замены) Кронштейн Set, Swivel - Bracket Set, Swivel

под заказ131520 руб.
343111-93J10-0EP

Кронштейн Set, Swivel - Bracket Set, Swivel (DF200T:510932~ DF225T:510552~ DF250T:511668~ DF200Z:510175~ DF225Z:510139~ DF250Z:510529~ ->43100-93810-0EP BRACKET SET, SWIVEL CONTENTS: BRACKET, SWIVEL BUSH, CLAMP SHAFT SWIVEL (2PCS) LEAD, CLAMP TO SWIVEL SCREW, CLAMP TO SWIVEL LEAD (2PCS)) (Bracket Set, Swivel)

под заказ131520 руб.
343100-93814-0EP

   (актуальный код замены) Кронштейн Set, Swivel - Bracket Set, Swivel

под заказ131520 руб.
343111-93J22-0EP

Поворотный кронштейн - Bracket, Swivel (DF200T:680188~ DF225T:680175~ DF250T:680339~ DF200Z:680026~ DF225Z:680048~ DF250Z:680144~) (Bracket, Swivel)

под заказ151680 руб.
343111-93J24-0EP

   (актуальный код замены) Поворотный кронштейн (чёрный) - Bracket, Swivel (black)

под заказ151680 руб.
343111-93J24-0EP

Поворотный кронштейн - Bracket, Swivel (Bracket, Swivel)

под заказ151680 руб.
343111-93J24-0EP

Поворотный кронштейн - Bracket, Swivel (Bracket, Swivel)

под заказ151680 руб.
443114-93J00-000

Шайба, Swivel To Струбцина Brkt - Washer, Swivel To Clamp Brkt (Washer, Swivel To Clamp Brkt)

под заказ550 руб.
543211-87D00-000

Втулка струбцины поворотного вала - Bush, Clamp Shaft Swivel (Bush, clamp shaft swivel ) (Bush, Clamp Shaft Swivel)

3 шт1030 руб.
543211-93J00-000

Втулка струбцины поворотного вала - Bush, Clamp Shaft Swivel (DF200T:510932~ DF225T:510552~ DF250T:511668~ DF200Z:510175~ DF225Z:510139~ DF250Z:510529~ ) (Bush, Clamp Shaft Swivel)

под заказ830 руб.
543211-93J11-000

   (актуальный код замены) Втулка струбцины поворотного вала - Bush, Clamp Shaft Swivel

8 шт900 руб.
643711-97E00-000

Втулка рулевой системы - Bush, Steering (Bush, Steering)

под заказ870 руб.
643711-97E11-000

   (актуальный код замены) Втулка рулевой системы - Bush, Steering

18 шт930 руб.
6SK43711-97E00

   (не оригинальный аналог) Втулка поворотного механизма Skipper для Suzuki DT40-200/DF40-300

0 шт254 руб.
643711-97E01-000

Втулка рулевой системы - Bush, Steering (Bush, Steering)

под заказ870 руб.
643711-97E11-000

   (актуальный код замены) Втулка рулевой системы - Bush, Steering

18 шт930 руб.
743750-93J02-0EP

Кронштейн рулевого управления (x) - Bracket, Steering (x) (Bracket, Steering (x))

под заказ146880 руб.
743750-93J03-0EP

   (актуальный код замены) Кронштейн Comp, Рулевая система (x) - Bracket Comp, Steering (x)

под заказ146880 руб.
809125-06063-000

Винт (6x10) - Screw (6x10) (Screw (6x10))

6 шт190 руб.
909160-39001-000

Шайба (39.5x64x1) - Washer (395x64x1) (Washer (39.5x64x1.0) ) (Washer (39.5x64x1))

8 шт320 руб.
1009181-39001-000

Регулировочная шайба (39.5x64x0.3) - Shim (395x64x03) (Shim (39.5x64x0.3) ) (Shim (39.5x64x0.3))

8 шт480 руб.
1109282-39001-000

Сальник (39x51x5) - Seal, Oil (39x51x5) (Seal, oil ) (Seal, Oil (39x51x5))

22 шт690 руб.
1209380-38003-000

Стопорное кольцо - Circlip (Circlip)

5 шт600 руб.
1341220-93J01-000

Запчасть снята с производства - The Spare Part Is Laid Off (->41200-93811 LEVER & LINK SET, TILT LOCK) (The Spare Part Is Laid Off)

под заказ0 руб.
1341220-93J11-000

Рычаг блокировки наклона - Lever, Tilt Lock (DF200T:980872~ DF225T:980646~ DF250T:981146~ DF200Z:980172~ DF225Z:980275~ DF250Z:980460~ ) (Lever, Tilt Lock)

под заказ7640 руб.
1441234-93J00-000

Рычаг & Соединитель Set, Tilt Lock - Lever & Link Set, Tilt Lock (->41200-93811 LEVER & LINK SET, TILT LOCK) (Lever & Link Set, Tilt Lock)

под заказ18390 руб.
1441200-93811-000

   (актуальный код замены) Рычаг & Соединитель Set, Tilt Lock - Lever & Link Set, Tilt Lock

под заказ18390 руб.
1441200-93811-000

Рычаг & Соединитель Set, Tilt Lock - Lever & Link Set, Tilt Lock (Lever & Link Set, Tilt Lock)

под заказ18390 руб.
1441234-93J11-000

Левый рычаг блокировки наклона - Lever, Tilt Lock Port (DF200T:980872~ DF225T:980646~ DF250T:981146~ DF200Z:980172~ DF225Z:980275~ DF250Z:980460~ ) (Lever, Tilt Lock Port)

под заказ3460 руб.
1541224-95E01-000

Втулка тяги ограничителя наклона - Bush, Tilt Stopper Rod (Bush, tilt stopper rod ) (Bush, Tilt Stopper Rod)

под заказ570 руб.
1641230-95E00-000

Соединитель рычага ограничителя наклона - Link, Tilt Lock Lever (Link, tilt lock lever ) (Link, Tilt Lock Lever)

под заказ2280 руб.
1641230-96J00-000

Соединитель рычага ограничителя наклона - Link, Tilt Lock Lever (DF200T:980872~ DF225T:980646~ DF250T:981146~ DF200Z:980172~ DF225Z:980275~ DF250Z:980460~ ) (Link, Tilt Lock Lever)

1 шт2160 руб.
1741233-95E10-000

Кронштейн пружины ограничителя наклона - Bracket, Tilt Lock Spring (Bracket, tilt lock spring ) (Bracket, Tilt Lock Spring)

1 шт1230 руб.
1809125-06063-000

Винт (6x10) - Screw (6x10) (Screw (6x10))

6 шт190 руб.
1909140-10032-000

Гайка - Nut (Nut)

10 шт160 руб.
2009160-06082-000

Шайба (6.5x13x1.0) - Washer (65x13x10) (Washer (6.5x13x1.0))

7 шт150 руб.
2109204-01006-000

Штифт - Pin (Pin, cotter ) (Pin)

14 шт150 руб.
2209440-19028-000

Пружина - Spring (Spring)

7 шт260 руб.
2309443-10043-000

Пружина - Spring (Spring)

9 шт250 руб.


Время выполнения запроса 1.3784689903259 сек.

 
 

данный сайт носит информационный характер и не является публичной офертой

склад запчастей для водомоторной техники