Купить запчасти на подвесной мотор SUZUKI модель 2011 года - Water pump / Водяной насос
вконтакте

Контактный телефон: +7 (981) 121-46-93, +7 (800) 200-90-76 , Email: parts-katalog@yandex.ru, где купить

 
 

  Логин:

Пароль:

Регистрация

www.partskatalog.ru Все каталоги Запчасти Mercury Запчасти Suzuki Запчасти Tohatsu Запчасти Honda Контакты

назад Раздел:   вперёд

Вернуться к выбору узлов мотора


ДЕТАЛИРОВКА ДЛЯ МОДЕЛИ: SUZUKI DF200T FROM 20002F-110001~

Водяной насос


Год выпуска двигателя: 2011

Номер на
рисунке
АртикулНаименованиеQTYКол-во
на складе
Цена
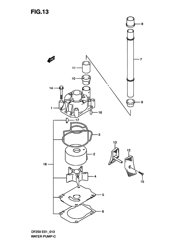
117410-93J00-000

Корпус водяного насоса - Case, Water Pump (Case, Water Pump)

под заказ7250 руб.
117410-93J01-000

   (актуальный код замены) Корпус водяного насоса - Case, Water Pump

под заказ7860 руб.
117410-93J01-000

Корпус водяного насоса - Case, Water Pump (Case, Water Pump)

под заказ7860 руб.
217413-93J02-000

Рукав корпуса водяной помпы - Sleeve, Water Pump Case (Sleeve, Water Pump Case)

7 шт2660 руб.
2SK17413-93J02

   (не оригинальный аналог) Стакан крыльчатки помпы охлаждения Skipper для Suzuki DF200-350

0 шт913 руб.
217413-93J12-000

Рукав корпуса водяной помпы - Sleeve, Water Pump Case (E40 ) (Sleeve, Water Pump Case)

под заказ7830 руб.
317416-93J00-000

Сальник корпуса водяного насоса - Sealing, Water Pump Case (Sealing, Water Pump Case)

под заказ790 руб.
317416-93J01-000

   (актуальный код замены) Сальник корпуса водяного насоса - Seal, Water Pump Case

3 шт960 руб.
3SK17416-93J00

   (не оригинальный аналог) Прокладка корпуса помпы Skipper для Suzuki Модели техники: DF200-300

0 шт339 руб.
417461-93J00-000

Крыльчатка водяного насоса - Impeller, Water Pump (Impeller, Water Pump)

10 шт4900 руб.
417461-93J01-000

   (актуальный код замены) Крыльчатка водяного насоса - Impeller, Water Pump

20 шт4900 руб.
4SK17461-93J00

   (не оригинальный аналог) Крыльчатка Standard Skipper для Suzuki DF200-300, DF250A-350A

0 шт956 руб.
4SC-WT169

   (не оригинальный аналог) Крыльчатка помпы охлаждения двигателя Suzuki SC-WT169

под заказ1580 руб.
517471-93J01-000

Панель в нижней части корпуса помпы - Panel, Pump Case Under (Panel, Pump Case Under)

под заказ1190 руб.
517471-93J02-000

   (актуальный код замены) Панель в нижней части корпуса помпы - Panel, Pump Case Under

19 шт1470 руб.
5SK17471-93J01

   (не оригинальный аналог) Пластина помпы Skipper для Suzuki DF150-250

0 шт401 руб.
517471-93J01

   (не оригинальный аналог) Пластина помпы Suzuki 17471-93J01

под заказ730 руб.
517471-93J01

   (не оригинальный аналог) Пластина помпы Suzuki 17471-93J01

под заказ730 руб.
517471-93J02-000

Панель в нижней части корпуса помпы - Panel, Pump Case Under (Panel, Pump Case Under)

19 шт1470 руб.
517471-93J11-000

Панель в нижней части корпуса помпы - Panel, Pump Case Under (E40) (Panel, Pump Case Under)

под заказ7400 руб.
517471-93J12-000

   (актуальный код замены) Панель в нижней части корпуса помпы - Panel, Pump Case Under

под заказ7400 руб.
517471-93J12-000

Панель в нижней части корпуса помпы - Panel, Pump Case Under (Panel, Pump Case Under)

под заказ7400 руб.
617472-93J00-000

Прокладка панели корпуса помпы - Gasket, Pump Case Panel (Gasket, Pump Case Panel)

6 шт930 руб.
6SK17472-93J00

   (не оригинальный аналог) Прокладка пластины помпы Skipper для Suzuki Модели техники: DF150-250

0 шт162 руб.
717561-93J03-000

Водяная трубка (x) - Tube, Water (x) (Tube, Water (x))

под заказ4080 руб.
717561-93J13-000

Водяная трубка (xx) - Tube, Water (xx) (Tube, Water (xx))

под заказ5620 руб.
717561-93J21-000

Водяная трубка (l) - Tube, Water (l) (Tube, Water (l))

под заказ2930 руб.
817562-93J00-000

Верхняя втулка трубки водяного насоса - Bush, Water Tube Upper (Bush, Water Tube Upper)

под заказ370 руб.
817562-93J01-000

   (актуальный код замены) Верхняя втулка трубки водяного насоса - Bush, Water Tube Upper

под заказ370 руб.
817562-93J01-000

Верхняя втулка трубки водяного насоса - Bush, Water Tube Upper (Bush, Water Tube Upper)

под заказ370 руб.
917563-93J00-000

Втулка, Водяная трубка Lwr - Bush, Water Tube Lwr (Bush, Water Tube Lwr)

под заказ370 руб.
917563-93J01-000

   (актуальный код замены) Нижняя втулка трубки водяного насоса - Bush, Water Tube Lower

9 шт420 руб.
1017564-93J00-000

Втулка корпуса водяной помпы - Bush, Water Pump Case (Bush, Water Pump Case)

1 шт480 руб.
1017564-93J01-000

   (актуальный код замены) Втулка корпуса водяной помпы - Bush, Water Pump Case

16 шт480 руб.
1117612-93J00-000

Прокладка водяной трубки - Spacer, Water Tube (Spacer, Water Tube)

под заказ520 руб.
1217631-93J00-000

Водяной фильтр с левой стороны - Filter, Water Port Side (Filter, Water Port Side)

3 шт1120 руб.
1217631-93J10-000

Водяной фильтр с левой стороны - Filter, Water Port Side (OPT ) (Filter, Water Port Side)

под заказ1200 руб.
1217631-93J20-000

Водяной фильтр с левой стороны - Filter, Water Port Side (DF200T:510124~ DF225T:422249~ DF250T:510308~ DF200Z:510023~ DF225Z:421285~ DF250Z:510070~ ) (Filter, Water Port Side)

15 шт1020 руб.
1217631-93J30-000

Водяной фильтр с левой стороны - Filter, Water Port Side (OPT DF200T:510124~ DF225T:422249~ DF250T:510308~ DF200Z:510023~ DF225Z:421285~ DF250Z:510070~ ) (Filter, Water Port Side)

5 шт980 руб.
1317632-93J00-000

Водяной фильтр с правой стороны - Filter, Water Stbd Side (Filter, Water Stbd Side)

2 шт1120 руб.
1317632-93J10-000

Водяной фильтр с правой стороны - Filter, Water Stbd Side (OPT ) (Filter, Water Stbd Side)

под заказ1200 руб.
1317632-93J20-000

Водяной фильтр с правой стороны - Filter, Water Stbd Side (DF200T:510124~ DF225T:422249~ DF250T:510308~ DF200Z:510023~ DF225Z:421285~ DF250Z:510070~ ) (Filter, Water Stbd Side)

18 шт1020 руб.
1317632-93J30-000

Водяной фильтр с правой стороны - Filter, Water Stbd Side (OPT DF200T:510124~ DF225T:422249~ DF250T:510308~ DF200Z:510023~ DF225Z:421285~ DF250Z:510070~ ) (Filter, Water Stbd Side)

3 шт910 руб.
1409116-08097-000

Болт (8x50) - Bolt (8x50) (Bolt (8x50))

под заказ420 руб.
1409116-08156-000

   (актуальный код замены) Болт (8x50) - Bolt (8x50)

под заказ420 руб.
1409116-08156-000

Болт (8x50) - Bolt (8x50) (Bolt (8x50))

под заказ420 руб.
1409116-08131-000

Болт (8x45) - Bolt (8x45) (DF200T:780401~ DF225T:780329~ DF250T:780556~ DF200Z:780082~ DF225Z:780085~ DF250Z:780183~ ) (Bolt (8x45))

20 шт500 руб.
1509132-04034-000

Винт (4x18) - Screw (4x18) (Screw (4x18))

25 шт170 руб.
1609202-06031-000

Штифт (6x12) - Pin (6x12) (Pin, knock ) (Pin (6x12))

20 шт220 руб.
1709420-05009-000

Ключ - Key (Key)

9 шт760 руб.
17SK09420-05009

   (не оригинальный аналог) Шпонка крыльчатки помпы охлаждения Skipper для Suzuki DF90-300

0 шт167 руб.
1817400-93J01-000

Ремкомплект водяного насоса - Kit, Water Pump Repair (OPT) (Kit, Water Pump Repair)

под заказ0 руб.
1817400-93J05-000

   (актуальный код замены) Ремкомплект водяного насоса - Kit, Water Pump Repair

13 шт6600 руб.
18SK17400-93J01

   (не оригинальный аналог) Ремкомплект помпы охлаждения Skipper для Suzuki DF200-250

0 шт1952 руб.
1817400-93J02-000

Ремкомплект водяного насоса - Kit, Water Pump Repair (Kit, Water Pump Repair)

под заказ0 руб.
1817400-93J05-000

   (актуальный код замены) Ремкомплект водяного насоса - Kit, Water Pump Repair

13 шт6600 руб.
18SK17400-93J02

   (не оригинальный аналог) Ремкомплект помпы Standard Skipper для Suzuki DF200-250

0 шт1930 руб.


Время выполнения запроса 3.8571050167084 сек.

 
 

данный сайт носит информационный характер и не является публичной офертой

склад запчастей для водомоторной техники