| |
 |
|
 |
Вернуться к выбору узлов мотора
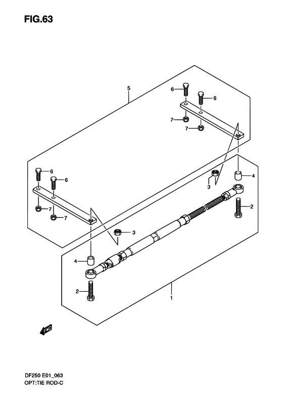
ДЕТАЛИРОВКА ДЛЯ МОДЕЛИ: SUZUKI DF200T FROM 20002F-110001~
Опции: tie Тяга
Год выпуска двигателя: 2011
Номер на рисунке | Артикул | Наименование | QTY | Кол-во на складе | Цена |
| 1 | 67600-93J00-000 | Рулевая тяга, комплект - Kit, Tie Rod (Kit, Tie Rod) | | под заказ | 118080 руб. |
| 2 | 67725-93J00-000 | Болт рулевой тяги (m12) - Bolt, Tie Rod (m12) (Bolt, Tie Rod (m12)) | | под заказ | 1740 руб. |
| 3 | 67726-93J00-000 | Гайка рулевой тяги (m12) - Nut, Tie Rod (m12) (Nut, Tie Rod (m12)) | | под заказ | 2520 руб. |
| 4 | 67721-93J00-000 | Проставка рулевой тяги - Spacer, Tie Rod (Spacer, Tie Rod) | | под заказ | 3630 руб. |
| 5 | 67630-93J00-000 | Удлинение рулевого управления, комплект - Kit, Steering Extension (Kit, Steering Extension) | | 2 шт | 43200 руб. |
| 6 | 67725-93E00-000 | Болт крепления рулевого кронштейна - Bolt, Strg Brkt Sub (Bolt, strg brkt sub atch ) (Bolt, Strg Brkt Sub) | | под заказ | 680 руб. |
| 7 | 67726-99E00-000 | Блокирующая гайка - Nut, Lock (Nut, Lock) | | 3 шт | 800 руб. |
Время выполнения запроса 0.53065204620361 сек. |
|