Подобрать оригинальные запчасти на подвесной лодочный мотор Suzuki модель 2008 года - Топливный насос / Отделитель паров топлива
вконтакте

Контактный телефон: +7 (981) 121-46-93, +7 (800) 200-90-76 , Email: parts-katalog@yandex.ru, где купить

 
 

  Логин:

Пароль:

Регистрация

www.partskatalog.ru Все каталоги Запчасти Mercury Запчасти Suzuki Запчасти Tohatsu Запчасти Honda Контакты



УВАЖАЕМЫЕ КЛИЕНТЫ!
C 19 ДЕКАБРЯ 2025 ПО 02 МАРТА 2026 ГОДА ОТДЕЛ ЗАПЧАСТЕЙ И СЕРВИС РАБОТАТЬ НЕ БУДУТ
ПРОДАЖА ЛОДОЧНЫХ МОТОРОВ В ШТАТНОМ РЕЖИМЕ
ОБ ИЗМЕНЕНИЯХ В ГРАФИКЕ РАБОТЫ ЧИТАЙТЕ НА САЙТА



назад Раздел:   вперёд

Вернуться к выбору узлов мотора


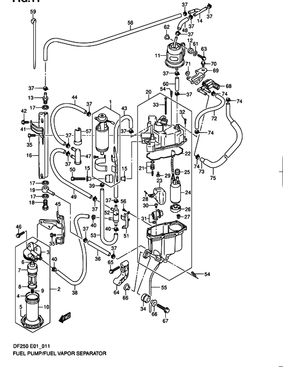
ДЕТАЛИРОВКА ДЛЯ МОДЕЛИ: SUZUKI DF200WT K8

Топливный насос / Отделитель паров топлива


Год выпуска двигателя: 2008

Номер на
рисунке
АртикулНаименованиеQTYКол-во
на складе
Цена
115100-94900-000

Топливный насос, в сборе - Pump Assy, Fuel (Pump assy, fuel (l) ) (Pump Assy, Fuel)

3 шт76800 руб.
215410-93J00-000

Топливный фильтр, L - Filter, Fuel, L (Filter, Fuel, L)

5 шт7590 руб.
215410-93J01-000

   (актуальный код замены) Топливный фильтр, L - Filter, Fuel, L

3 шт7590 руб.
2SK-F-0267-01

   (не оригинальный аналог) Фильтр топливный Skipper для Suzuki DF200T-300T

0 шт3370 руб.
315411-93J00-000

Колпачок топливного фильтра - Cap, Fuel Filter (Cap, Fuel Filter)

под заказ0 руб.
415415-93J00-000

Уплотнительное кольцо, Топливный фильтр №1 - O Ring, Fuel Filter No1 (O Ring, Fuel Filter No.1)

под заказ430 руб.
415415-93J01-000

   (актуальный код замены) Уплотнительное кольцо, Топливный фильтр №1 - O Ring, Fuel Filter No.1

под заказ430 руб.
515414-93J00-000

Гайка, Топливный фильтр - Nut, Fuel Filter (Nut, Fuel Filter)

под заказ1200 руб.
615416-93J00-000

Уплотнительное кольцо, Топливный фильтр №2 - O Ring, Fuel Filter No2 (O Ring, Fuel Filter No.2)

под заказ340 руб.
615416-93J01-000

   (актуальный код замены) Уплотнительное кольцо, Топливный фильтр №2 - O Ring, Fuel Filter No.2

под заказ340 руб.
715412-93J00-000

Топливный фильтр - Filter, Fuel (Filter, Fuel)

9 шт4580 руб.
715412-93J00

   (не оригинальный аналог) Фильтрующий элемент топливного фильтра Suzuki 15412-93J00

под заказ1050 руб.
7SC-OT1098

   (не оригинальный аналог) Фильтрующий элемент топливного фильтра Yamaha SC-OT1098

под заказ1030 руб.
815417-93J00-000

Поплавок топливного фильтра - Float, Fuel Filter (Float, Fuel Filter)

под заказ620 руб.
915418-93J00-000

Пружина топливного фильтра - Spring, Fuel Filter (Spring, Fuel Filter)

под заказ430 руб.
1015413-93J00-000

Стакан топливного фильтра - Cup, Fuel Filter (Cup, Fuel Filter)

под заказ2380 руб.
1115440-93J00-000

Топливный фильтр - Filter, Fuel (Filter, Fuel)

22 шт10260 руб.
11SK-G-5109YT

   (не оригинальный аналог) Фильтр топливный Skipper для Suzuki DF200T-300T/DF250A-300A тонкой очистки

0 шт1094 руб.
1115440-93J10-000

Топливный фильтр - Filter, Fuel (E40 ) (Filter, Fuel)

7 шт7970 руб.
1209320-08501-000

Подушка - Cushion (Cushion)

под заказ240 руб.
1315773-90J00-000

Соединенине топливного шланга - Union, Fuel Hose (Union, Fuel Hose)

под заказ1420 руб.
1415830-93J00-000

Трехходовой соединитель топливного шланга - Union, Three Way Fuel Hose (Union, Three Way Fuel Hose)

под заказ1680 руб.
1509169-06062-000

Шайба - Washer (Washer ) (Washer)

под заказ190 руб.
1615770-93J00-000

Охладитель топлива - Cooler, Fuel (Cooler, Fuel)

под заказ9170 руб.
1709168-12013-000

Прокладка (11.8x22x1.2) - Gasket (118x22x12) (Gasket, union ) (Gasket (11.8x22x1.2))

10 шт260 руб.
1715762-90J00-000

Прокладка, Соединение - Gasket, Union (Gasket, union # E40 ) (Gasket, Union)

под заказ610 руб.
1809360-12008-000

Соединение - Union (Union)

под заказ730 руб.
1809360-12013-000

Соединение - Union (E40 ) (Union)

под заказ790 руб.
1909363-08004-000

Соединение - Union (Union)

под заказ1650 руб.
1915830-90J00-000

Основной топливный соединитель - Joint, Fuel Main (Joint, fuel main # E40 ) (Joint, Fuel Main)

под заказ1860 руб.
2015600-93J01-000

Сепаратор-отделитель паров топлива, в сборе - Separator Assy, Fuel Vapor (Separator Assy, Fuel Vapor)

под заказ98400 руб.
2015600-93J02-000

   (актуальный код замены) Сепаратор-отделитель паров топлива, в сборе - Separator Assy, Fuel Vapor

под заказ98400 руб.
2015600-93J11-000

Сепаратор-отделитель паров топлива, в сборе - Separator Assy, Fuel Vapor (E40 ) (Separator Assy, Fuel Vapor)

под заказ98400 руб.
2113370-93J00-000

Игольчатый клапан, в сборе - Valve Assy, Needle (Valve Assy, Needle)

под заказ4900 руб.
2113370-93J10-000

Игольчатый клапан, в сборе - Valve Assy, Needle (E40 ) (Valve Assy, Needle)

под заказ4900 руб.
2215626-93J00-000

Прокладка сепаратора - Gasket, Separator (Gasket, Separator)

под заказ1280 руб.
2215626-93J10-000

Прокладка сепаратора - Gasket, Separator (E40 ) (Gasket, Separator)

под заказ1560 руб.
2315650-93J00-000

Поплавок в сборе - Float Assy (Float Assy)

под заказ6870 руб.
2415200-93J01-000

Топливный насос (высокого давления), в сборе - Pump Assy, Fuel (h) (Pump Assy, Fuel (h))

под заказ42000 руб.
2415200-93J11-000

   (актуальный код замены) Топливный насос (высокого давления), в сборе - Pump Assy, Fuel (h)

1 шт42000 руб.
2415200-93J11-000

Топливный насос (высокого давления), в сборе - Pump Assy, Fuel (h) (E40 ) (Pump Assy, Fuel (h))

1 шт42000 руб.
2515647-93J00-000

Втулка топливного насоса - Bush, Fuel Pump (Bush, Fuel Pump)

под заказ990 руб.
2515647-93J10-000

   (актуальный код замены) Втулка топливного насоса - Bush, Fuel Pump

под заказ1320 руб.
2515647-93J10-000

Втулка топливного насоса - Bush, Fuel Pump (E40 ) (Bush, Fuel Pump)

под заказ1320 руб.
2615641-90J00-000

Проставка - Spacer (Spacer)

4 шт2340 руб.
2615641-90J10-000

Прокладка топливного насоса - Spacer, Fuel Pump (E40 ) (Spacer, Fuel Pump)

под заказ4180 руб.
2715642-90J00-000

Фильтр - Filter (Filter)

2 шт1110 руб.
2815654-99E00-000

Штифт - Pin (Pin)

под заказ240 руб.
2902142-0408B-000

Винт - Screw (Screw)

под заказ130 руб.
2913614-93J00-000

Винт - Screw (E40 ) (Screw)

под заказ240 руб.
3002112-05107-000

Винт - Screw (Screw, bracket ) (Screw)

под заказ120 руб.
3015631-99E10-000

Винт, Регулятор - Screw, Regulator (Screw, regulator # E40 ) (Screw, Regulator)

под заказ240 руб.
3115760-93J00-000

Регулятор давления топлива - Regulator, Fuel Pressure (Regulator, Fuel Pressure)

под заказ16130 руб.
3115760-93J01-000

   (актуальный код замены) Регулятор давления топлива - Regulator, Fuel Pressure

1 шт17590 руб.
3215628-99E00-000

Винт (l: 15) - Screw (l:15) (Screw (l:15))

под заказ240 руб.
3315627-93J00-000

Винт - Screw (Screw)

под заказ490 руб.
3409320-12072-000

Подушка - Cushion (Cushion)

под заказ240 руб.
3409320-12094-000

   (актуальный код замены) Подушка глушителя Кронштейн - Cushion, Silencer Bracket

под заказ240 руб.
3515675-93J00-000

Болт кронштейна охладителя - Bolt, Cooler Bracket (Bolt, Cooler Bracket)

под заказ190 руб.
3609356-75137-600

Шланг (7.5x13.5x600) - Hose (75x135x600) (Hose (separator to filter) # L:600->50 ) (Hose (7.5x13.5x600))

6 шт12580 руб.
3709401-11425-000

Зажим - Clip (Clip)

4 шт370 руб.
3815636-93J10-000

Топливный шланг (l) - Hose, Fuel (l) (Hose, Fuel (l))

под заказ5240 руб.
3915686-93J00-000

Зажим топливного шланга №2 - Clip, Fuel Hose No2 (Clip, Fuel Hose No.2)

под заказ440 руб.
4015685-93J00-000

Зажим топливного шланга №1 - Clip, Fuel Hose No1 (Clip, Fuel Hose No.1)

под заказ520 руб.
4115672-93J00-000

Кронштейн охладителя - Bracket, Fuel Cooler (Bracket, Fuel Cooler)

под заказ1620 руб.
4201500-06167-000

Болт - Bolt (Bolt, fuel cooler ) (Bolt)

под заказ150 руб.
4315635-93J10-000

Топливный шланг (h) - Hose, Fuel (h) (Hose, Fuel (h))

под заказ7880 руб.
4315635-93J20-000

   (актуальный код замены) Топливный шланг (h) - Hose, Fuel (h)

под заказ7880 руб.
4315635-93J20-000

Топливный шланг (h) - Hose, Fuel (h) (Hose, Fuel (h))

под заказ7880 руб.
4415632-93J10-000

Топливный шланг (h) - Hose, Fuel (h) (Hose, Fuel (h))

под заказ7060 руб.
4415632-93J20-000

   (актуальный код замены) Топливный шланг (h) - Hose, Fuel (h)

под заказ7060 руб.
4415632-93J20-000

Топливный шланг (h) - Hose, Fuel (h) (Hose, Fuel (h))

под заказ7060 руб.
4515673-93J00-000

Кронштейн топливного фильтра - Bracket, Fuel Filter (Bracket, Fuel Filter)

под заказ3720 руб.
4601550-06257-000

Болт - Bolt (Bolt)

под заказ180 руб.
4715643-93J00-000

Топливный фильтр, L - Filter, Fuel, L (Filter, Fuel, L)

7 шт3750 руб.
4809356-75137-600

Шланг (7.5x13.5x600) - Hose (75x135x600) (Hose (separator to filter) # L:600->60 ) (Hose (7.5x13.5x600))

6 шт12580 руб.
4915634-93J10-000

Топливный шланг (h) - Hose, Fuel (h) (Hose, Fuel (h))

под заказ6870 руб.
4915634-93J20-000

   (актуальный код замены) Топливный шланг (h) - Hose, Fuel (h)

под заказ6870 руб.
4915634-93J20-000

Топливный шланг (h) - Hose, Fuel (h) (Hose, Fuel (h))

под заказ6870 руб.
5001570-06357-000

Болт - Bolt (Bolt, fuel pump ) (Bolt)

под заказ230 руб.
5115674-93J00-000

Кронштейн контрольного клапана - Bracket, Check Valve (Bracket, Check Valve)

под заказ1410 руб.
5215645-93J00-000

Контрольный клапан - Valve, Check (Valve, Check)

под заказ9030 руб.
5215645-93J10-000

Контрольный клапан - Valve, Check (E40 ) (Valve, Check)

под заказ9030 руб.
5315637-93J10-000

Топливный шланг (l) - Hose, Fuel (l) (Hose, Fuel (l))

под заказ5190 руб.
5315637-93J20-000

   (актуальный код замены) Топливный шланг (l) - Hose, Fuel (l)

под заказ5190 руб.
5315637-93J20-000

Топливный шланг (l) - Hose, Fuel (l) (Hose, Fuel (l))

под заказ5190 руб.
5415629-99E10-000

Винт дренажный - Screw, Drain (Screw, Drain)

под заказ550 руб.
5515683-87J00-000

Шланг - Hose (Hose, drain ) (Hose)

под заказ330 руб.
5602112-04063-000

Винт - Screw (Screw)

под заказ120 руб.
5602112-0406B-000

   (актуальный код замены) Винт - Screw

под заказ120 руб.
5602112-0406B-000

Винт - Screw (Screw)

под заказ120 руб.
5715644-93J00-000

Крышка топливного фильтра - Cover, Fuel Filter (Cover, Fuel Filter)

под заказ850 руб.
5815633-93J10-000

Топливный шланг (h) - Hose, Fuel (h) (Hose, Fuel (h))

под заказ6580 руб.
5815633-93J20-000

   (актуальный код замены) Топливный шланг (h) - Hose, Fuel (h)

под заказ6580 руб.
5815633-93J20-000

Топливный шланг (h) - Hose, Fuel (h) (Hose, Fuel (h))

под заказ6580 руб.
5915646-93J00-000

Струбцина топливного фильтра - Clamp, Fuel Filter (Clamp, Fuel Filter)

под заказ440 руб.
6009356-75137-600

Шланг (7.5x13.5x600) - Hose (75x135x600) (Hose (separator to filter) # L:600->65 ) (Hose (7.5x13.5x600))

6 шт12580 руб.
6109160-06084-000

Шайба (6.5x18x1.6) - Washer (65x18x16) (Washer (6.5x18x1.6))

7 шт130 руб.
6209169-06062-000

Шайба - Washer (Washer ) (Washer)

под заказ190 руб.
6301500-06257-000

Болт - Bolt (Bolt)

под заказ150 руб.
6415671-93J00-000

Кронштейн отделителя паров топлива - Bracket, Vapor Separator (Bracket, Vapor Separator)

под заказ2810 руб.
6501550-06357-000

Болт - Bolt (Bolt, throttle lever no.2 ) (Bolt)

9 шт210 руб.
6609169-08042-000

Шайба - Washer (Washer (8.5x22x2) ) (Washer)

под заказ430 руб.
6701550-08407-000

Болт - Bolt (Bolt)

под заказ260 руб.
6818117-52G00-000

Служебный клапан для Purge - Valve Assy, Duty For Purge (Valve assy, evap purge ) (Valve Assy, Duty For Purge)

под заказ9940 руб.
6818117-52G10-000

Клапан очистки баллона - Valve, Canister Purge (DF200T:880983~ DF225T:880731~ DF250T:881405~ DF200Z:880174~ DF225Z:880185~ DF250Z:880492~ ) (Valve, Canister Purge)

под заказ9940 руб.
6918417-93J00-000

Кронштейн очистки баллона - Bracket, Purge Valve (Bracket, Purge Valve)

1 шт490 руб.
7001550-06127-000

Болт - Bolt (Bolt, rect ) (Bolt)

10 шт180 руб.
7108316-10067-000

Гайка - Nut (Nut)

под заказ170 руб.
7209352-50823-600

Шланг (5x8.2x600) - Hose (5x82x600) (Hose, evapotation (5.0x8.2x600) # L:600->220 ) (Hose (5x8.2x600))

под заказ640 руб.
7209352-50005-600

   (актуальный код замены) Шланг (5x8.2x600) - Hose (5x8.2x600)

под заказ640 руб.
7309352-50823-600

Шланг (5x8.2x600) - Hose (5x82x600) (Hose, evapotation (5.0x8.2x600) # L:600->550 ) (Hose (5x8.2x600))

под заказ640 руб.
7309352-50005-600

   (актуальный код замены) Шланг (5x8.2x600) - Hose (5x8.2x600)

под заказ640 руб.
7409401-08412-000

Зажим - Clip (Clip)

под заказ190 руб.
7518498-87JC0-000

Защита шланга (9.5x11.5x450) - Protector, Hose (95x115x450) (Protector, evap hose (9.5x11.5x450) ) (Protector, Hose (9.5x11.5x450))

1 шт650 руб.
7518498-87JC1-000

   (актуальный код замены) Защита шланга (9.5x11.5x450) - Protector, Hose (9.5x11.5x450)

под заказ650 руб.


Время выполнения запроса 2.0428719520569 сек.

 
 

данный сайт носит информационный характер и не является публичной офертой

склад запчастей для водомоторной техники