Запчасти на подвесной лодочный мотор Suzuki - Oil pump
вконтакте

Контактный телефон: +7 (981) 121-46-93, +7 (800) 200-90-76 , Email: parts-katalog@yandex.ru, где купить

 
 

  Логин:

Пароль:

Регистрация

www.partskatalog.ru Все каталоги Запчасти Mercury Запчасти Suzuki Запчасти Tohatsu Запчасти Honda Контакты



УВАЖАЕМЫЕ КЛИЕНТЫ!
C 19 ДЕКАБРЯ 2025 ПО 02 МАРТА 2026 ГОДА ОТДЕЛ ЗАПЧАСТЕЙ И СЕРВИС РАБОТАТЬ НЕ БУДУТ
ПРОДАЖА ЛОДОЧНЫХ МОТОРОВ В ШТАТНОМ РЕЖИМЕ
ОБ ИЗМЕНЕНИЯХ В ГРАФИКЕ РАБОТЫ ЧИТАЙТЕ НА САЙТА



назад Раздел:   вперёд

Вернуться к выбору узлов мотора


ДЕТАЛИРОВКА ДЛЯ МОДЕЛИ: SUZUKI DF200T K8

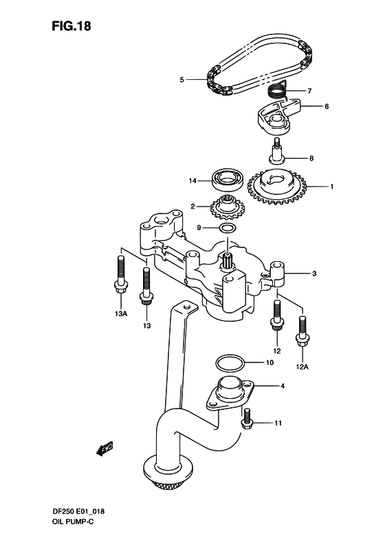
Масляный насос


Год выпуска двигателя: 2008

Номер на
рисунке
АртикулНаименованиеQTYКол-во
на складе
Цена
112632-93J11-000

Звездочка привода масляного насоса - Sprocket, Oil Pump Drive (Sprocket, Oil Pump Drive)

под заказ5000 руб.
216113-93J10-000

Звездочка привода масляного насосаn - Sprocket, Oil Pump Driven (Sprocket, Oil Pump Driven)

под заказ3120 руб.
316400-93J01-000

(->16400-93J02 USED WITH 01550-0885A)

под заказнет сведений
301550-0885A-000

Болт - Bolt (Bolt)

под заказ260 руб.
316400-93J03-000

Масляный насос в сборе - Pump Assy, Oil (Pump Assy, Oil)

под заказ20070 руб.
316400-93J20-000

   (актуальный код замены) Масляный насос в сборе - Pump Assy, Oil

под заказ20070 руб.
316400-93J02-000

Масляный насос в сборе - Pump Assy, Oil (DF200T:881427~ DF225T:881089~ DF250T:881973~ DF200Z:880241~ DF225Z:880242~ DF250Z:880640~) (Pump Assy, Oil)

под заказ20070 руб.
316400-93J20-000

   (актуальный код замены) Масляный насос в сборе - Pump Assy, Oil

под заказ20070 руб.
416520-93J00-000

Сетчатый фильтр масляного насоса - Strainer, Oil Pump (Strainer, Oil Pump)

под заказ4250 руб.
516760-93J00-000

Цепь привода масляного насоса - Chain, Oil Pump Drive (Chain, Oil Pump Drive)

2 шт3870 руб.
616781-93J00-000

Натяжитель цепи масляного насоса - Tensioner, Oil Pump Chain (Tensioner, Oil Pump Chain)

под заказ2100 руб.
716782-93J00-000

Пружина натяжителя масляного насоса - Spring, Oil Pump Tensioner (Spring, Oil Pump Tensioner)

под заказ760 руб.
816783-93J01-000

Болт натяжителя масляного насоса - Bolt, Oil Pump Tensioner (Bolt, Oil Pump Tensioner)

под заказ490 руб.
909181-12158-000

Регулировочная шайба (12x20x0.5) - Shim (12x20x05) (Washer (12x20x0.5) ) (Shim (12x20x0.5))

под заказ170 руб.
1009280-22020-000

Уплотнительное кольцо (d: 2.4, Id: 21.8) - O Ring (d:24, Id:218) (O ring (d:2.4, id:21.8) # DF200T:680909~ DF225T:680856~ DF250T:681356~ DF200Z:680154~ DF225Z:680215~ DF250Z:680441~ ) (O Ring (d:2.4, Id:21.8))

10 шт260 руб.
1101550-0616A-000

Болт - Bolt (Bolt)

под заказ150 руб.
1207120-0845A-000

Болт - Bolt (DF200T:~780654 DF225T:~780575 DF250T:~780919 DF200Z:~780108 DF225Z:~780121 DF250Z:~780343 ) (Bolt)

под заказ260 руб.
1201550-0845A-000

Болт - Bolt (Bolt, oil pump (s) # DF200T:780655~ DF225T:780576~ DF250T:780920~ DF200Z:780109~ DF225Z:780122~ DF250Z:780344~ ) (Bolt)

под заказ230 руб.
1307120-08653-000

Болт - Bolt (MODEL:07 DF200T:~780654 DF225T:~780575 DF250T:~780919 DF200Z:~780108 DF225Z:~780121 DF250Z:~780343) (Bolt)

под заказ290 руб.
1307120-0865B-000

   (актуальный код замены) Болт - Bolt

под заказ290 руб.
1307120-0865B-000

Болт - Bolt (Bolt)

под заказ290 руб.
1307120-0870A-000

Болт - Bolt (Bolt)

под заказ290 руб.
1301550-0865A-000

Болт - Bolt (Bolt, oil pump (l) # DF200T:881427~ DF225T:881089~ DF250T:881973~ DF200Z:880241~ DF225Z:880242~ DF250Z:880640~ ) (Bolt)

под заказ260 руб.
1301550-0885A-000

Болт - Bolt (DF200T:881427~ DF225T:881089~ DF250T:881973~ DF200Z:880241~ DF225Z:880242~ DF250Z:880640~ ) (Bolt)

под заказ260 руб.
1408110-60020-000

Подшипник - Bearing (Bearing ) (Bearing)

9 шт1490 руб.
14SK08110-60020

   (не оригинальный аналог) Подшипник торсионного вала Skipper для Suzuki DT9.9-15, DF9.9-300, DF8A-350A

1 шт424 руб.
1408110-60020

   (не оригинальный аналог) Подшипник ведущего вала редуктора Suzuki 08110-60020

под заказ700 руб.


Время выполнения запроса 0.77106404304504 сек.

 
 

данный сайт носит информационный характер и не является публичной офертой

склад запчастей для водомоторной техники