| |
 |
|
 |
Вернуться к выбору узлов мотора
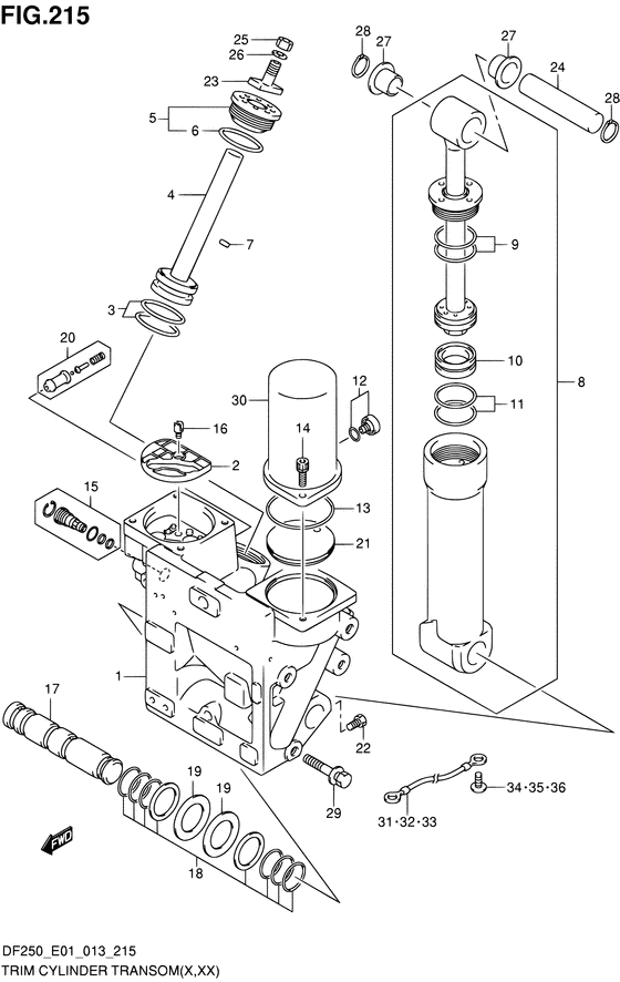
ДЕТАЛИРОВКА ДЛЯ МОДЕЛИ: SUZUKI DF225Z FROM 22503Z-310001~ (E01,E40)
Цилиндр трима transom
Код модели двигателя: DF225(Z)TX/XX; DF225W(Z)TX/XX
Год выпуска двигателя: 2013
Регион: General Export No.1/Costa Rica ,Код региона: P01/P40
Цвет: Shadow Black Metallic
Номер на рисунке | Артикул | Наименование | QTY | Кол-во на складе | Цена |
Warning: Undefined variable $NumPP in D:\www\www.partskatalog.ru\partsbase\base-outboard-suzuki-2.php on line 654
| | 09116-10175-000 | Болт (10x50) - Bolt (10x50) (Bolt (10x50)) | | под заказ | 680 руб. |
| | 09125-06063-000 | Винт (6x10) - Screw (6x10) (Screw (6x10)) | | 6 шт | 190 руб. |
| | 09162-10005-000 | Шайба с блокировкой - Washer, Lock (Lock washer ) (Washer, Lock) | | под заказ | 130 руб. |
| | 09306-24001-000 | Втулка - Bush (Bush) | | под заказ | 190 руб. |
| | 09380-21002-000 | Стопорное кольцо - Circlip (Circlip) | | 8 шт | 250 руб. |
| | 29141-93J20-000 | Гайка - Nut (Nut, trim cyl ram (m10) ) (Nut) | | под заказ | 160 руб. |
| | 09140-10031-000 | (актуальный код замены) Гайка - Nut | | 10 шт | 160 руб. |
| | 36894-87D00-000 | Lead (l: 165) - Lead (l:165) (Lead (l:165)) | | 2 шт | 1350 руб. |
| | 36895-87D01-000 | Lead (l: 210) - Lead (l:210) (Lead (l:210)) | | 1 шт | 1420 руб. |
| | 48500-93J05-000 | Коллектор в сборе - Manifold Assy (Manifold Assy) | | под заказ | 97920 руб. |
| | 48311-96J10-000 | Накладка цилиндра подъемника - Pad, Trim Cylinder Ram (Pad, Trim Cylinder Ram) | | под заказ | 3580 руб. |
| | 48320-93J00-000 | Клапан Set, выше Blow - Valve Set, Up Blow (Valve Set, Up Blow) | | под заказ | 2220 руб. |
| | 48321-93J00-000 | Вал наклона Цилиндр вышеr - Shaft, Tilt Cylinder Upr (Shaft, Tilt Cylinder Upr) | | под заказ | 4420 руб. |
| | 48121-93J13-000 | Вал - Shaft (Shaft) | | под заказ | 7250 руб. |
| | 48121-93J20-000 | (актуальный код замены) Вал - Shaft | | под заказ | 7250 руб. |
| | 48125-93J00-000 | Набор уплотнительных колец - O Ring Set (O Ring Set) | | под заказ | 2640 руб. |
| | 48126-93J00-000 | Шайба цилиндра наклона Коллектор - Washer, Tilt Cyl To Manifold (Washer, Tilt Cyl To Manifold) | | под заказ | 850 руб. |
| | 48128-93J11-000 | Болт - Bolt (Bolt) | | под заказ | 910 руб. |
| | 48400-93J06-000 | Цилиндр в сборе - Cylinder Assy (Cylinder Assy) | | под заказ | 55200 руб. |
| | 48400-93J07-000 | (актуальный код замены) Цилиндр в сборе - Cylinder Assy | | под заказ | 55200 руб. |
| | 48405-93J00-000 | Набор уплотнительных колец - O Ring Set (O Ring Set) | | 3 шт | 1010 руб. |
| | 48582-95E01-000 | Фильтр - Filter (Filter) | | под заказ | 3890 руб. |
| | 48583-95E00-000 | Соединение привода - Joint, Drive (Joint, Drive) | | под заказ | 1080 руб. |
| | 48585-95E00-000 | Уплотнительное кольцо - O Ring (O Ring) | | 6 шт | 430 руб. |
| | 48605-93J00-000 | Набор уплотнительных колец - O Ring Set (O Ring Set) | | 10 шт | 1400 руб. |
| | 48610-93J01-000 | Поршень / ram - Piston/ram (Piston/ram) | | под заказ | 18580 руб. |
| | 48627-93J00-000 | Набор уплотнительных колец - O Ring Set (O Ring Set) | | под заказ | 850 руб. |
| | 48630-98J01-000 | Тяга направляющей - Rod Guide (Rod Guide) | | под заказ | 8020 руб. |
| | 48630-98L01-000 | (актуальный код замены) Тяга направляющей - Rod Guide | | 10 шт | 8020 руб. |
| | 48633-93J00-000 | Уплотнительное кольцо - O Ring (O Ring) | | под заказ | 730 руб. |
| | 48650-93J00-000 | Освободитель поршня - Piston, Free (Piston, Free) | | под заказ | 6720 руб. |
| | 48571-93J00-000 | Накопительный бак - Reservoir Tank (Reservoir Tank) | | под заказ | 18150 руб. |
| | 48572-87J10-000 | Заглушка - Plug (Plug) | | 2 шт | 2030 руб. |
| | 48691-93J00-000 | Обратный клапан - Check Valve (Check Valve) | | под заказ | 610 руб. |
| | 48862-87J20-000 | Болт резервуара - Bolt, Reservoir (Bolt, Reservoir) | | 2 шт | 1350 руб. |
| | 48864-93J01-000 | ручной, Клапан - Manual, Valve (Manual, Valve) | | 3 шт | 12500 руб. |
| | 48573-93J00-000 | Крышка - Cover (Cover) | | под заказ | 3990 руб. |
Время выполнения запроса 3.1127309799194 сек. |
|