Купить оригинальные запчасти на двигатель SUZUKI модель 2005 года - Throttle body / Дроссель газа
вконтакте

Контактный телефон: +7 (981) 121-46-93, +7 (800) 200-90-76 , Email: parts-katalog@yandex.ru, где купить

 
 

  Логин:

Пароль:

Регистрация

www.partskatalog.ru Все каталоги Запчасти Mercury Запчасти Suzuki Запчасти Tohatsu Запчасти Honda Контакты

назад Раздел:   вперёд

Вернуться к выбору узлов мотора


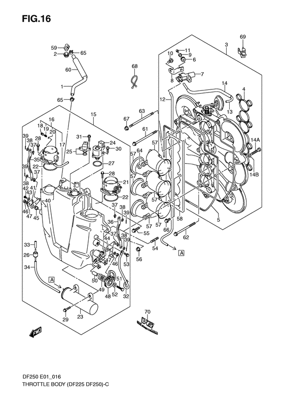
ДЕТАЛИРОВКА ДЛЯ МОДЕЛИ: SUZUKI DF225WTK5(E1) K5

Дроссель газа


Год выпуска двигателя: 2005

Номер на
рисунке
АртикулНаименованиеQTYКол-во
на складе
Цена
111193-93J00-000

Шланг, Pcv - Hose, Pcv (Df250t:~421902, df250z:~421255 ) (Hose, Pcv)

под заказ1060 руб.
211198-58B00-000

Сальник клапана PCV - Seal, Pcv Valve (Seal, pcv valve # Df250t:~421902, df250z:~421255 ) (Seal, Pcv Valve)

под заказ460 руб.
313130-93J00-000

Коллектор - Collector (Collector)

под заказ158880 руб.
313130-93J23-000

   (актуальный код замены) Коллектор - Collector

под заказ158880 руб.
313130-93J21-000

Коллектор - Collector (Collector)

под заказ158880 руб.
313130-93J23-000

   (актуальный код замены) Коллектор - Collector

под заказ158880 руб.
313130-93J20-000

Коллектор - Collector (Model:08~) (Collector)

под заказ158880 руб.
313130-93J23-000

   (актуальный код замены) Коллектор - Collector

под заказ158880 руб.
413139-93J00-000

Прокладка, Коллектор - Gasket, Collector (Gasket, Collector)

под заказ3920 руб.
513147-93J00-000

Прокладка крышки коллектора - Gasket, Collector Cover (Gasket, Collector Cover)

под заказ3770 руб.
618116-93J00-000

Подушка вакуумного клапана - Cushion, Vacuum Valve (Cushion, Vacuum Valve)

под заказ280 руб.
618116-93J01-000

   (актуальный код замены) Подушка вакуумного клапана - Cushion, Vacuum Valve

под заказ280 руб.
718117-93J00-000

Клапан вакуумного переключателя - Valve, Vacuum Switching (Valve, Vacuum Switching)

под заказ7250 руб.
818119-93J00-000

Кронштейн вакуумного клапана - Bracket, Vacuum Valve (Bracket, Vacuum Valve)

под заказ370 руб.
909169-05018-000

Шайба - Washer (Washer, vacuum valve ) (Washer)

под заказ210 руб.
1001550-08167-000

Болт - Bolt (Bolt (8x16) # Bolt, vacuum valve brkt; ) (Bolt)

8 шт210 руб.
1102112-0512A-000

Винт - Screw (Screw)

под заказ120 руб.
1209355-35754-00B

Шланг (3.5x7.5x2000) - Hose (35x75x2000) (L:2000->10 ) (Hose (3.5x7.5x2000))

под заказ2120 руб.
1209355-35006-00B

   (актуальный код замены) Шланг (3.5x7.5x2000) - Hose (3.5x7.5x2000)

под заказ2120 руб.
1309355-35754-601

Шланг (3.5x7.5x601) - Hose (35x75x601) (Hose, vacuum (inmf to check valve) # L:600->60 ) (Hose (3.5x7.5x601))

под заказ810 руб.
1309355-35006-601

   (актуальный код замены) Шланг (3.5x7.5x601) - Hose (3.5x7.5x601)

под заказ810 руб.
1418498-90J00-000

Защита шланга вентиляции (290) - Protector, Evap Hose (290) (Protector, evap hose # L:290->40 ) (Protector, Evap Hose (290))

под заказ410 руб.
1418498-90J01-000

   (актуальный код замены) Защита шланга вентиляции (290) - Protector, Evap Hose (290)

под заказ410 руб.
1413138-93J00-000

Болт, Коллектор - Bolt, Collector (Model:08~ ) (Bolt, Collector)

под заказ1690 руб.
1408322-01087-000

Шайба - Washer (Lock washer # Washer; Model:08~ ) (Washer)

под заказ140 руб.
1513140-93J00-000

Запчасть снята с производства - The Spare Part Is Laid Off (The Spare Part Is Laid Off)

под заказ0 руб.
1513140-93JV4-000

   (актуальный код замены) Запчасть снята с производства - The Spare Part Is Laid Off

под заказ0 руб.
1513140-93J01-000

Крышка коллектора - Cover, Collector (Df225t, df225z, df250t:421903~, df250z:421256~) (Cover, Collector)

под заказ199200 руб.
1513140-93JV6-000

   (актуальный код замены) Крышка коллектора - Cover, Collector

под заказ199200 руб.
1513140-93JV2-000

Крышка коллектора - Cover, Collector (Cover, Collector)

под заказ199200 руб.
1513140-93JV6-000

   (актуальный код замены) Крышка коллектора - Cover, Collector

под заказ199200 руб.
1513140-93J02-000

Крышка коллектора - Cover, Collector (Model:06~) (Cover, Collector)

под заказ179520 руб.
1513140-93J20-000

   (актуальный код замены) Крышка Comp, Коллектор - Cover Comp, Collector

под заказ179520 руб.
1513140-93J03-000

Крышка коллектора - Cover, Collector (Cover, Collector)

под заказ179520 руб.
1513140-93J20-000

   (актуальный код замены) Крышка Comp, Коллектор - Cover Comp, Collector

под заказ179520 руб.
1613310-93J00-000

Корпус дросселя №1 - Body Assy, Throttle No1 (Body Assy, Throttle No.1)

под заказ56160 руб.
1613310-93JV0-000

   (актуальный код замены) Корпус дросселя №1 - Body Assy, Throttle No.1

под заказ56160 руб.
1613310-93JV0-000

Корпус дросселя №1 - Body Assy, Throttle No1 (Body Assy, Throttle No.1)

под заказ56160 руб.
1613310-93J01-000

Корпус дросселя №1 - Body Assy, Throttle No1 (Model:06~ ) (Body Assy, Throttle No.1)

под заказ41760 руб.
1613310-93J02-000

   (актуальный код замены) Корпус дросселя №1 - Body Assy, Throttle No.1

под заказ41760 руб.
1713312-93J00-000

Шланг перепуска воздуха - Hose, Bypass Air (Hose, Bypass Air)

под заказ480 руб.
1813353-93J00-000

Винт, Adjust - Screw, Adjust (Screw, Adjust)

под заказ730 руб.
1813279-10G00-000

   (актуальный код замены) Винт, Adjust - Screw, Adjust

под заказ730 руб.
1813279-10G00-000

Винт, Adjust - Screw, Adjust (Screw, Adjust)

под заказ730 руб.
1913355-93J00-000

Пружина перепуска воздуха - Spring, Bypass Air (Spring, Bypass Air)

под заказ230 руб.
2013356-93J00-000

Уплотнительное кольцо - O Ring (O Ring)

под заказ250 руб.
2013295-10G00-000

   (актуальный код замены) Уплотнительное кольцо - O Ring

под заказ250 руб.
2013295-10G00-000

Уплотнительное кольцо - O Ring (O Ring)

под заказ250 руб.
2113320-93J00-000

Корпус дросселя №2 - Body Assy, Throttle No2 (Body Assy, Throttle No.2)

под заказ41760 руб.
2213421-93J00-000

Прокладка корпуса дросселя - Gasket, Throttle Body (Gasket, Throttle Body)

1 шт680 руб.
2313730-93J00-000

Вакуумная камера - Chamber, Vacuum (Chamber, Vacuum)

под заказ9890 руб.
2418137-52D00-000

Клапан холостого хода (IAC) - Valve, Iac (Valve, Iac)

2 шт45600 руб.
2518590-68H00-000

Датчик давления - Sensor, Pressure (Sensor, pressure ) (Sensor, Pressure)

1 шт28560 руб.
2695569-78040-000

Контрольный клапан - Valve, Check (Valve, check ) (Valve, Check)

под заказ2790 руб.
2709280-29006-000

Уплотнительное кольцо (d: 2, Id: 29.5) - O Ring (d:2, Id:295) (O ring, iac valve; ) (O Ring (d:2, Id:29.5))

под заказ400 руб.
2709280-29008-000

   (актуальный код замены) Уплотнительное кольцо (d: 2, Id: 29.5) - O Ring (d:2, Id:29.5)

10 шт400 руб.
2801547-06257-000

Болт - Bolt (Bolt, throttle body; ) (Bolt)

под заказ160 руб.
2901550-06307-000

Болт - Bolt (Bolt, vacuum chamber; ) (Bolt)

8 шт250 руб.
3002112-3416B-000

Винт - Screw (Screw)

под заказ170 руб.
3102162-05203-000

Винт - Screw (Screw, pressure sensor;) (Screw)

под заказ160 руб.
3102162-0520B-000

   (актуальный код замены) Винт - Screw

под заказ160 руб.
3102162-0520B-000

Винт - Screw (Screw)

под заказ160 руб.
3213144-93J00-000

Защита барабана дросселя - Guard, Throttle Drum (Guard, Throttle Drum)

под заказ1950 руб.
3309355-35754-601

Шланг (3.5x7.5x601) - Hose (35x75x601) (Hose, vacuum (inmf to check valve) # L:600->0 ) (Hose (3.5x7.5x601))

под заказ810 руб.
3309355-35006-601

   (актуальный код замены) Шланг (3.5x7.5x601) - Hose (3.5x7.5x601)

под заказ810 руб.
3409355-35754-601

Шланг (3.5x7.5x601) - Hose (35x75x601) (Hose, vacuum (inmf to check valve) # L:600->65 ) (Hose (3.5x7.5x601))

под заказ810 руб.
3409355-35006-601

   (актуальный код замены) Шланг (3.5x7.5x601) - Hose (3.5x7.5x601)

под заказ810 руб.
3513583-93J00-000

Рычаг тяги - Arm, Link (Arm, Link)

под заказ2980 руб.
3613583-93J00-000

Рычаг тяги - Arm, Link (Arm, Link)

под заказ2980 руб.
3713555-93J00-000

Пыльник, Соединитель - Grommet, Link (Grommet, Link)

под заказ350 руб.
3813537-93J00-000

Шайба, Соединитель - Washer, Link (Washer, Link)

под заказ230 руб.
3909204-01004-000

Штифт - Pin (Pin, cotter # Pin, cotter; ) (Pin)

под заказ130 руб.
4013553-93J00-000

Рычаг, №1 - Lever, No1 (Lever, No.1)

под заказ2790 руб.
4113554-93J00-000

Рычаг, №2 - Lever, No2 (Lever, No.2)

под заказ730 руб.
4202112-35087-000

Винт - Screw (Screw)

под заказ170 руб.
4309160-05043-000

Шайба (5.5x16x1.2) - Washer (55x16x12) (Washer, 5.5x16x1.20 # Washer, 5.5x16x1.20; ) (Washer (5.5x16x1.2))

под заказ170 руб.
4413521-93J00-000

Рычаг, Соединитель - Lever, Link (Lever, Link)

под заказ4660 руб.
4513514-93J00-000

Проставка, Соединитель Вал - Spacer, Link Shaft (Spacer, Link Shaft)

под заказ1090 руб.
4613599-93J00-000

Гайка, Соединитель Вал - Nut, Link Shaft (Nut, Link Shaft)

под заказ730 руб.
4713538-93J00-000

Шайба пружины тяги вала - Washer, Link Shaft Spring (Washer, Link Shaft Spring)

под заказ280 руб.
4813541-93J00-000

Кулачок дросселя - Cam, Throttle (Cam, Throttle)

под заказ3530 руб.
4913542-93J00-000

Пружина кулачка дросселя - Spring, Throttle Cam (Spring, Throttle Cam)

под заказ760 руб.
5013543-93J00-000

Проставка кулачка дросселя - Spacer, Throttle Cam (Spacer, Throttle Cam)

под заказ1660 руб.
5101500-06307-000

Болт - Bolt (Bolt)

под заказ190 руб.
5209160-06036-000

Шайба (6.5x18x1.5) - Washer (65x18x15) (Washer, 6.5x18x1.5 # Washer, 6.5x18x1.5; ) (Washer (6.5x18x1.5))

под заказ150 руб.
5301550-06167-000

Болт - Bolt (Bolt, drum guard; ) (Bolt)

9 шт210 руб.
5401421-08257-000

Болт под шпильку - Bolt, Stud (Bolt, stud # Bolt, collector cover stud; Model:04~07 ) (Bolt, Stud)

под заказ330 руб.
5501550-08307-000

Болт - Bolt (Bolt, collector cover; ) (Bolt)

21 шт320 руб.
5608316-10087-000

Гайка - Nut (Nut, collector cover; ) (Nut)

14 шт170 руб.
5713132-93J00-000

Воронка воздушного коллектора - Funnel, Air Collector (Funnel, Air Collector)

под заказ1680 руб.
5813133-93J00-000

Кронштейн, Коллектор Funnel, Air - Bracket, Collector Funnel, Air (Bracket, Collector Funnel, Air)

под заказ1660 руб.
5918118-93J00-000

Клапан PCV (система принудительной вентиляции картерных газов) - Valve, Pcv (Df250t:~421902, df250z:~421255 ) (Valve, Pcv)

под заказ1970 руб.
6018498-90J20-000

Защита трубки сапуна (l: 590) - Protector, Breather Hose (l:590) (Protector, pcv hose; Df250t:~421902, df250z:~421255 ) (Protector, Breather Hose (l:590))

под заказ1100 руб.
6018498-90J21-000

   (актуальный код замены) Защита трубки сапуна (l: 590) - Protector, Breather Hose (l:590)

под заказ1100 руб.
6109103-08182-000

Болт (8x125) - Bolt (8x125) (Bolt, collector no.2 ) (Bolt (8x125))

под заказ340 руб.
6209103-08134-000

Болт (8x110) - Bolt (8x110) (Bolt, collector no.1 ) (Bolt (8x110))

под заказ210 руб.
6309108-08267-000

Болт под шпильку - Bolt, Stud (Bolt, Stud)

под заказ320 руб.
6409329-06002-000

Подушка - Cushion (Cushion, funnel # Cushion, funnel; ) (Cushion)

под заказ180 руб.
6409329-06003-000

   (актуальный код замены) Подушка - Cushion

под заказ180 руб.
6509401-13414-000

Зажим - Clip (Clip, pcv hose # Clip, pcv hose; Df250t:~421902, df250z:~421255 ) (Clip)

под заказ190 руб.
6601550-0820A-000

Болт - Bolt (Bolt, funnel bracket ) (Bolt)

под заказ180 руб.
6708316-1008A-000

Гайка - Nut (Nut, idle gear shaft ) (Nut)

под заказ170 руб.
6809408-00024-000

Зажим (id: 23) - Clip (id:23) (Clip, ptt sw terminal # Clamp (d:23); Df250t:~421902, df250z:~421255 ) (Clip (id:23))

под заказ120 руб.
6909408-00060-000

Струбцина - Clamp (Df200t:880710~, df225t:880644~, df250t:881236~, df200z:880145~, df225z:880164~, df250z:880436~ ) (Clamp)

под заказ180 руб.
7061436-93J10-000

Маркировка, Эмблема V6 (msi) - Mark, Emblem V6 (msi) (Mark, emblem v6 (msi); ) (Mark, Emblem V6 (msi))

под заказ4400 руб.
7061436-93J11-000

   (актуальный код замены) Маркировка, Эмблема V6 (msi) - Mark, Emblem V6 (msi)

под заказ4400 руб.


Время выполнения запроса 4.8501861095428 сек.

 
 

данный сайт носит информационный характер и не является публичной офертой

склад запчастей для водомоторной техники