Купить оригинальные запчасти на лодочный мотор Suzuki модель 2007 года - Дроссель газа
вконтакте

Контактный телефон: +7 (981) 121-46-93, +7 (800) 200-90-76 , Email: parts-katalog@yandex.ru, где купить

 
 

  Логин:

Пароль:

Регистрация

www.partskatalog.ru Все каталоги Запчасти Mercury Запчасти Suzuki Запчасти Tohatsu Запчасти Honda Контакты



УВАЖАЕМЫЕ КЛИЕНТЫ!
C 19 ДЕКАБРЯ 2025 ПО 02 МАРТА 2026 ГОДА ОТДЕЛ ЗАПЧАСТЕЙ И СЕРВИС РАБОТАТЬ НЕ БУДУТ
ПРОДАЖА ЛОДОЧНЫХ МОТОРОВ В ШТАТНОМ РЕЖИМЕ
ОБ ИЗМЕНЕНИЯХ В ГРАФИКЕ РАБОТЫ ЧИТАЙТЕ НА САЙТА



назад Раздел:   вперёд

Вернуться к выбору узлов мотора


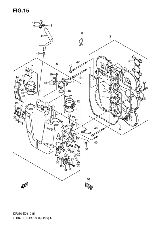
ДЕТАЛИРОВКА ДЛЯ МОДЕЛИ: SUZUKI DF225WTK7(E1) K7

Дроссель газа


Год выпуска двигателя: 2007

Номер на
рисунке
АртикулНаименованиеQTYКол-во
на складе
Цена
111193-93J00-000

Шланг, Pcv - Hose, Pcv (Df200t:~421365, df200z:~421070 ) (Hose, Pcv)

под заказ1060 руб.
211198-58B00-000

Сальник клапана PCV - Seal, Pcv Valve (Seal, pcv valve # Df200t:~421365, df200z:~421070 ) (Seal, Pcv Valve)

под заказ460 руб.
313130-93J10-000

Коллектор - Collector (Collector)

под заказ141600 руб.
313130-93J31-000

   (актуальный код замены) Коллектор Comp - Collector Comp

под заказ141600 руб.
313130-93J30-000

Коллектор - Collector (Collector)

под заказ141600 руб.
313130-93J31-000

   (актуальный код замены) Коллектор Comp - Collector Comp

под заказ141600 руб.
413139-93J00-000

Прокладка, Коллектор - Gasket, Collector (Gasket, Collector)

под заказ3920 руб.
513147-93J00-000

Прокладка крышки коллектора - Gasket, Collector Cover (Gasket, Collector Cover)

под заказ3770 руб.
513138-93J00-000

Болт, Коллектор - Bolt, Collector (Model:08~ ) (Bolt, Collector)

под заказ1690 руб.
508322-01087-000

Шайба - Washer (Lock washer # Washer; Model:08~ ) (Washer)

под заказ140 руб.
613140-93J10-000

Крышка коллектора - Cover, Collector (Cover, Collector)

под заказ0 руб.
613140-93JV5-000

   (актуальный код замены) Запчасть снята с производства - The Spare Part Is Laid Off

под заказ0 руб.
613140-93JV5-000

Крышка коллектора - Cover, Collector (Cover, Collector)

под заказ0 руб.
613140-93J11-000

Крышка коллектора - Cover, Collector (Df200t:421366~, df200z:421071~) (Cover, Collector)

под заказ0 руб.
613140-93JV3-000

   (актуальный код замены) Запчасть снята с производства - The Spare Part Is Laid Off

под заказ0 руб.
613140-93JV3-000

Крышка коллектора - Cover, Collector (Cover, Collector)

под заказ0 руб.
613140-93J12-000

Крышка коллектора - Cover, Collector (Model:06~) (Cover, Collector)

под заказ188640 руб.
613140-93J13-000

   (актуальный код замены) Крышка коллектора - Cover, Collector

под заказ188640 руб.
613140-93J13-000

Крышка коллектора - Cover, Collector (Cover, Collector)

под заказ188640 руб.
713310-93J00-000

Корпус дросселя №1 - Body Assy, Throttle No1 (Body Assy, Throttle No.1)

под заказ56160 руб.
713310-93JV0-000

   (актуальный код замены) Корпус дросселя №1 - Body Assy, Throttle No.1

под заказ56160 руб.
713310-93JV0-000

Корпус дросселя №1 - Body Assy, Throttle No1 (Body Assy, Throttle No.1)

под заказ56160 руб.
713310-93J01-000

Корпус дросселя №1 - Body Assy, Throttle No1 (Model:06~ ) (Body Assy, Throttle No.1)

под заказ41760 руб.
713310-93J02-000

   (актуальный код замены) Корпус дросселя №1 - Body Assy, Throttle No.1

под заказ41760 руб.
813312-93J00-000

Шланг перепуска воздуха - Hose, Bypass Air (Hose, Bypass Air)

под заказ480 руб.
913353-93J00-000

Винт, Adjust - Screw, Adjust (Screw, Adjust)

под заказ730 руб.
913279-10G00-000

   (актуальный код замены) Винт, Adjust - Screw, Adjust

под заказ730 руб.
913279-10G00-000

Винт, Adjust - Screw, Adjust (Screw, Adjust)

под заказ730 руб.
1013355-93J00-000

Пружина перепуска воздуха - Spring, Bypass Air (Spring, Bypass Air)

под заказ230 руб.
1113356-93J00-000

Уплотнительное кольцо - O Ring (O ring, bypass air screw;) (O Ring)

под заказ250 руб.
1113295-10G00-000

   (актуальный код замены) Уплотнительное кольцо - O Ring

под заказ250 руб.
1113295-10G00-000

Уплотнительное кольцо - O Ring (O Ring)

под заказ250 руб.
1213320-93J00-000

Корпус дросселя №2 - Body Assy, Throttle No2 (Body Assy, Throttle No.2)

под заказ41760 руб.
1313421-93J00-000

Прокладка корпуса дросселя - Gasket, Throttle Body (Gasket, Throttle Body)

1 шт680 руб.
1418137-52D00-000

Клапан холостого хода (IAC) - Valve, Iac (Valve, Iac)

2 шт45600 руб.
1518590-68H00-000

Датчик давления - Sensor, Pressure (Sensor, pressure ) (Sensor, Pressure)

1 шт28560 руб.
1609280-29006-000

Уплотнительное кольцо (d: 2, Id: 29.5) - O Ring (d:2, Id:295) (O ring, iac valve; ) (O Ring (d:2, Id:29.5))

под заказ400 руб.
1609280-29008-000

   (актуальный код замены) Уплотнительное кольцо (d: 2, Id: 29.5) - O Ring (d:2, Id:29.5)

10 шт400 руб.
1701547-06257-000

Болт - Bolt (Bolt, throttle body; ) (Bolt)

под заказ160 руб.
1802112-34167-000

Винт - Screw (Screw, iac valve; ) (Screw)

под заказ170 руб.
1902162-05207-000

Винт - Screw (Screw, pressure sensor; ) (Screw)

под заказ150 руб.
2013144-93J00-000

Защита барабана дросселя - Guard, Throttle Drum (Guard, Throttle Drum)

под заказ1950 руб.
2113583-93J00-000

Рычаг тяги - Arm, Link (Arm, Link)

под заказ2980 руб.
2213583-93J00-000

Рычаг тяги - Arm, Link (Arm, Link)

под заказ2980 руб.
2313555-93J00-000

Пыльник, Соединитель - Grommet, Link (Grommet, Link)

под заказ350 руб.
2413537-93J00-000

Шайба, Соединитель - Washer, Link (Washer, Link)

под заказ230 руб.
2509204-01004-000

Штифт - Pin (Pin, cotter # Pin, cotter; ) (Pin)

под заказ130 руб.
2613553-93J00-000

Рычаг, №1 - Lever, No1 (Lever, No.1)

под заказ2790 руб.
2713554-93J00-000

Рычаг, №2 - Lever, No2 (Lever, No.2)

под заказ730 руб.
2802112-35087-000

Винт - Screw (Screw)

под заказ170 руб.
2909160-05043-000

Шайба (5.5x16x1.2) - Washer (55x16x12) (Washer, 5.5x16x1.20 # Washer, 5.5x16x1.20; ) (Washer (5.5x16x1.2))

под заказ170 руб.
3013521-93J00-000

Рычаг, Соединитель - Lever, Link (Lever, Link)

под заказ4660 руб.
3113514-93J00-000

Проставка, Соединитель Вал - Spacer, Link Shaft (Spacer, Link Shaft)

под заказ1090 руб.
3213599-93J00-000

Гайка, Соединитель Вал - Nut, Link Shaft (Nut, Link Shaft)

под заказ730 руб.
3313538-93J00-000

Шайба пружины тяги вала - Washer, Link Shaft Spring (Washer, Link Shaft Spring)

под заказ280 руб.
3413541-93J00-000

Кулачок дросселя - Cam, Throttle (Cam, Throttle)

под заказ3530 руб.
3513542-93J00-000

Пружина кулачка дросселя - Spring, Throttle Cam (Spring, Throttle Cam)

под заказ760 руб.
3613543-93J00-000

Проставка кулачка дросселя - Spacer, Throttle Cam (Spacer, Throttle Cam)

под заказ1660 руб.
3701500-06307-000

Болт - Bolt (Bolt)

под заказ190 руб.
3809160-06036-000

Шайба (6.5x18x1.5) - Washer (65x18x15) (Washer, 6.5x18x1.5 # Washer, 6.5x18x1.5; ) (Washer (6.5x18x1.5))

под заказ150 руб.
3901550-06167-000

Болт - Bolt (Bolt, drum guard; ) (Bolt)

9 шт210 руб.
4001421-08257-000

Болт под шпильку - Bolt, Stud (Bolt, stud # Bolt, collector cover stud; Model:04~07 ) (Bolt, Stud)

под заказ330 руб.
4101550-08307-000

Болт - Bolt (Bolt, collector cover; ) (Bolt)

21 шт320 руб.
4208316-10087-000

Гайка - Nut (Nut, collector cover; ) (Nut)

14 шт170 руб.
4318118-93J00-000

Клапан PCV (система принудительной вентиляции картерных газов) - Valve, Pcv (Df200t:~421365, df200z:~421070 ) (Valve, Pcv)

под заказ1970 руб.
4418498-90J20-000

Защита трубки сапуна (l: 590) - Protector, Breather Hose (l:590) (Protector, pcv hose; Df200t:~421365, df200z:~421070 ) (Protector, Breather Hose (l:590))

под заказ1100 руб.
4418498-90J21-000

   (актуальный код замены) Защита трубки сапуна (l: 590) - Protector, Breather Hose (l:590)

под заказ1100 руб.
4509103-08182-000

Болт (8x125) - Bolt (8x125) (Bolt, collector no.2 ) (Bolt (8x125))

под заказ340 руб.
4609103-08134-000

Болт (8x110) - Bolt (8x110) (Bolt, collector no.1 ) (Bolt (8x110))

под заказ210 руб.
4709108-08267-000

Болт под шпильку - Bolt, Stud (Bolt, Stud)

под заказ320 руб.
4809401-13414-000

Зажим - Clip (Clip, pcv hose # Clip, pcv hose; Df200t:~421365, df200z:~421070 ) (Clip)

под заказ190 руб.
4908316-1008A-000

Гайка - Nut (Nut, idle gear shaft ) (Nut)

под заказ170 руб.
5009408-00024-000

Зажим (id: 23) - Clip (id:23) (Clip, ptt sw terminal # Clamp (d:23); Df200t:~421365, df200z:~421070 ) (Clip (id:23))

под заказ120 руб.
5161436-93J00-000

Маркировка, Эмблема V6 - Mark, Emblem V6 (Mark, Emblem V6)

под заказ1130 руб.
5161436-93J01-000

   (актуальный код замены) Маркировка, Эмблема V6 - Mark, Emblem V6

под заказ1130 руб.


Время выполнения запроса 1.5383272171021 сек.

 
 

данный сайт носит информационный характер и не является публичной офертой

склад запчастей для водомоторной техники