Номер на рисунке | Артикул | Наименование | QTY | Кол-во на складе | Цена |
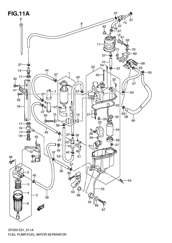
| 1 | 15100-94900-000 | Топливный насос, в сборе - Pump Assy, Fuel (Pump assy, fuel (l) # Pump assy, fuel (l); ) (Pump Assy, Fuel) | | 3 шт | 76800 руб. |
| 2 | 15410-93J10-000 | Топливный фильтр, L - Filter, Fuel, L (Filter, fuel (l); ) (Filter, Fuel, L) | | под заказ | 15120 руб. |
| 2 | SM-15410-93J10-000 | (не оригинальный аналог) Распродажа! Топливный фильтр SM-15410-93J10-000 в сборе (оригинал) | | 12 шт | 5000 руб. |
| 2 | 15410-93J11-000 | (актуальный код замены) Топливный фильтр, L - Filter, Fuel, L | | под заказ | 15120 руб. |
| 2 | SK-F-0266-01 | (не оригинальный аналог) Фильтр топливный Skipper для Suzuki DF200-250/250A/300A | | 0 шт | 4447 руб. |
| 3 | 15411-93J10-000 | Колпачок топливного фильтра - Cap, Fuel Filter (Cap, Fuel Filter) | | под заказ | 5380 руб. |
| 4 | 15415-93J10-000 | Сальник топливного фильтра №1 - Seal, Fuel Filter No1 (Seal, Fuel Filter No.1) | | под заказ | 1060 руб. |
| 5 | 15412-93J10-000 | Топливный фильтр в сборе - Filter Assy, Fuel (Filter Assy, Fuel) | | 53 шт | 2500 руб. |
| 6 | 15413-93J10-000 | Case в сборе, Топливный фильтр - Case Assy, Fuel Filter (Case Assy, Fuel Filter) | | под заказ | 7400 руб. |
| 7 | 15644-93J00-000 | Крышка топливного фильтра - Cover, Fuel Filter (Cover, Fuel Filter) | | под заказ | 850 руб. |
| 8 | 15633-93J20-000 | Топливный шланг (h) - Hose, Fuel (h) (Hose, fuel (h); ) (Hose, Fuel (h)) | | под заказ | 6580 руб. |
| 9 | 15646-93J00-000 | Струбцина топливного фильтра - Clamp, Fuel Filter (Clamp, Fuel Filter) | | под заказ | 440 руб. |
| 10 | 09343-75001-600 | Шланг (7.5x13.5x600) - Hose (75x135x600) (Hose, fuel; L:600->5 ) (Hose (7.5x13.5x600)) | | под заказ | 3870 руб. |
| 10 | 09343-75002-600 | (актуальный код замены) Шланг (7.5x13.5x600) - Hose (7.5x13.5x600) | | под заказ | 3870 руб. |
| 11 | 15440-93J00-000 | Топливный фильтр - Filter, Fuel (Filter, fuel (epi); ) (Filter, Fuel) | | 22 шт | 10260 руб. |
| 11 | SK-G-5109YT | (не оригинальный аналог) Фильтр топливный Skipper для Suzuki DF200T-300T/DF250A-300A тонкой очистки | | 0 шт | 1094 руб. |
| 11 | 15440-93J10-000 | Топливный фильтр - Filter, Fuel (Filter, fuel (epi); E40 ) (Filter, Fuel) | | 7 шт | 7970 руб. |
| 12 | 09320-08501-000 | Подушка - Cushion (Cushion, fuel filter; ) (Cushion) | | под заказ | 240 руб. |
| 13 | 15773-90J00-000 | Соединенине топливного шланга - Union, Fuel Hose (Union, fuel hose (h); ) (Union, Fuel Hose) | | под заказ | 1420 руб. |
| 14 | 15830-93J00-000 | Трехходовой соединитель топливного шланга - Union, Three Way Fuel Hose (Union, Three Way Fuel Hose) | | под заказ | 1680 руб. |
| 15 | 09169-06062-000 | Шайба - Washer (Washer # Washer, fuel pump; ) (Washer) | | под заказ | 190 руб. |
| 16 | 15770-93J00-000 | Охладитель топлива - Cooler, Fuel (Cooler, Fuel) | | под заказ | 9170 руб. |
| 17 | 09168-12013-000 | Прокладка (11.8x22x1.2) - Gasket (118x22x12) (Gasket, union # Gasket, fuel cooler union; ) (Gasket (11.8x22x1.2)) | | 10 шт | 260 руб. |
| 17 | 15762-90J00-000 | Прокладка, Соединение - Gasket, Union (Gasket, union # Gasket, fuel cooler union; E40 ) (Gasket, Union) | | под заказ | 610 руб. |
| 18 | 09360-12008-000 | Соединение - Union (Bolt, fuel cooler union (12x27); ) (Union) | | под заказ | 730 руб. |
| 18 | 09360-12013-000 | Соединение - Union (Bolt, fuel cooler union (12x27); E40 ) (Union) | | под заказ | 790 руб. |
| 19 | 09363-08004-000 | Соединение - Union (Union, fuel cooler; ) (Union) | | под заказ | 1650 руб. |
| 19 | 15830-90J00-000 | Основной топливный соединитель - Joint, Fuel Main (Joint, fuel main # Union, fuel cooler; E40 ) (Joint, Fuel Main) | | под заказ | 1860 руб. |
| 20 | 15600-93J01-000 | Сепаратор-отделитель паров топлива, в сборе - Separator Assy, Fuel Vapor (Separator Assy, Fuel Vapor) | | под заказ | 98400 руб. |
| 20 | 15600-93J02-000 | (актуальный код замены) Сепаратор-отделитель паров топлива, в сборе - Separator Assy, Fuel Vapor | | под заказ | 98400 руб. |
| 20 | 15600-93J11-000 | Сепаратор-отделитель паров топлива, в сборе - Separator Assy, Fuel Vapor (E40 ) (Separator Assy, Fuel Vapor) | | под заказ | 98400 руб. |
| 21 | 13370-93J00-000 | Игольчатый клапан, в сборе - Valve Assy, Needle (Valve Assy, Needle) | | под заказ | 4900 руб. |
| 21 | 13370-93J10-000 | Игольчатый клапан, в сборе - Valve Assy, Needle (E40 ) (Valve Assy, Needle) | | под заказ | 4900 руб. |
| 22 | 15626-93J00-000 | Прокладка сепаратора - Gasket, Separator (Gasket, Separator) | | под заказ | 1280 руб. |
| 22 | 15626-93J10-000 | Прокладка сепаратора - Gasket, Separator (E40 ) (Gasket, Separator) | | под заказ | 1560 руб. |
| 23 | 15650-93J00-000 | Поплавок в сборе - Float Assy (Float Assy) | | под заказ | 6870 руб. |
| 24 | 15200-93J01-000 | Топливный насос (высокого давления), в сборе - Pump Assy, Fuel (h) (Pump assy, fuel (h); ) (Pump Assy, Fuel (h)) | | под заказ | 42000 руб. |
| 24 | 15200-93J11-000 | (актуальный код замены) Топливный насос (высокого давления), в сборе - Pump Assy, Fuel (h) | | 1 шт | 42000 руб. |
| 24 | 15200-93J11-000 | Топливный насос (высокого давления), в сборе - Pump Assy, Fuel (h) (Pump assy, fuel (h); E40 ) (Pump Assy, Fuel (h)) | | 1 шт | 42000 руб. |
| 25 | 15647-93J00-000 | Втулка топливного насоса - Bush, Fuel Pump (Bush, fuel pump; ) (Bush, Fuel Pump) | | под заказ | 990 руб. |
| 25 | 15647-93J10-000 | (актуальный код замены) Втулка топливного насоса - Bush, Fuel Pump | | под заказ | 1320 руб. |
| 25 | 15647-93J10-000 | Втулка топливного насоса - Bush, Fuel Pump (Bush, fuel pump; E40 ) (Bush, Fuel Pump) | | под заказ | 1320 руб. |
| 26 | 15641-90J00-000 | Проставка - Spacer (Spacer, fuel pump; ) (Spacer) | | 4 шт | 2340 руб. |
| 26 | 15641-90J10-000 | Прокладка топливного насоса - Spacer, Fuel Pump (Spacer, fuel pump; E40 ) (Spacer, Fuel Pump) | | под заказ | 4180 руб. |
| 27 | 15642-90J00-000 | Фильтр - Filter (Filter, fuel pump; ) (Filter) | | 2 шт | 1110 руб. |
| 28 | 15654-99E00-000 | Штифт - Pin (Pin, float; ) (Pin) | | под заказ | 240 руб. |
| 29 | 02142-0408B-000 | Винт - Screw (Screw) | | под заказ | 130 руб. |
| 29 | 13614-93J00-000 | Винт - Screw (E40 ) (Screw) | | под заказ | 240 руб. |
| 30 | 02112-05107-000 | Винт - Screw (Screw, bracket # Screw, regulator; ) (Screw) | | под заказ | 120 руб. |
| 30 | 15631-99E10-000 | Винт, Регулятор - Screw, Regulator (Screw, regulator # Screw, regulator; E40 ) (Screw, Regulator) | | под заказ | 240 руб. |
| 31 | 15760-93J00-000 | Регулятор давления топлива - Regulator, Fuel Pressure (Regulator, fuel pressure; ) (Regulator, Fuel Pressure) | | под заказ | 16130 руб. |
| 31 | 15760-93J01-000 | (актуальный код замены) Регулятор давления топлива - Regulator, Fuel Pressure | | 1 шт | 17590 руб. |
| 32 | 15628-99E00-000 | Винт (l: 15) - Screw (l:15) (Screw (l:15)) | | под заказ | 240 руб. |
| 33 | 15627-93J00-000 | Винт - Screw (Screw) | | под заказ | 490 руб. |
| 34 | 09320-12072-000 | Подушка - Cushion (Cushion, fuel vapor separator; ) (Cushion) | | под заказ | 240 руб. |
| 34 | 09320-12094-000 | (актуальный код замены) Подушка глушителя Кронштейн - Cushion, Silencer Bracket | | под заказ | 240 руб. |
| 35 | 15675-93J00-000 | Болт кронштейна охладителя - Bolt, Cooler Bracket (Bolt, Cooler Bracket) | | под заказ | 190 руб. |
| 36 | 09343-75001-600 | Шланг (7.5x13.5x600) - Hose (75x135x600) (Hose, fuel; L:600->0 ) (Hose (7.5x13.5x600)) | | под заказ | 3870 руб. |
| 36 | 09343-75002-600 | (актуальный код замены) Шланг (7.5x13.5x600) - Hose (7.5x13.5x600) | | под заказ | 3870 руб. |
| 37 | 09401-11425-000 | Зажим - Clip (Clip) | | под заказ | 370 руб. |
| 38 | 15636-98J20-000 | Топливный шланг (l) - Hose, Fuel (l) (Hose, fuel (l); ) (Hose, Fuel (l)) | | под заказ | 4950 руб. |
| 38 | 15636-98J21-000 | (актуальный код замены) Топливный шланг (l) - Hose, Fuel (l) | | под заказ | 4950 руб. |
| 39 | 15686-93J00-000 | Зажим топливного шланга №2 - Clip, Fuel Hose No2 (Clip, Fuel Hose No.2) | | под заказ | 440 руб. |
| 40 | 15685-93J00-000 | Зажим топливного шланга №1 - Clip, Fuel Hose No1 (Clip, Fuel Hose No.1) | | под заказ | 520 руб. |
| 41 | 15672-93J00-000 | Кронштейн охладителя - Bracket, Fuel Cooler (Bracket, Fuel Cooler) | | под заказ | 1620 руб. |
| 42 | 01500-06167-000 | Болт - Bolt (Bolt, fuel cooler # Bolt, fuel cooler; ) (Bolt) | | под заказ | 150 руб. |
| 43 | 15635-93J20-000 | Топливный шланг (h) - Hose, Fuel (h) (Hose, fuel (h); ) (Hose, Fuel (h)) | | под заказ | 7880 руб. |
| 44 | 15632-93J20-000 | Топливный шланг (h) - Hose, Fuel (h) (Hose, fuel (h); ) (Hose, Fuel (h)) | | под заказ | 7060 руб. |
| 45 | 15673-98J00-000 | Кронштейн топливного фильтра - Bracket, Fuel Filter (Bracket, Fuel Filter) | | под заказ | 3720 руб. |
| 46 | 01550-06257-000 | Болт - Bolt (Bolt fuel filter (l); ) (Bolt) | | под заказ | 180 руб. |
| 47 | 15643-93J00-000 | Топливный фильтр, L - Filter, Fuel, L (Filter, fuel (l); ) (Filter, Fuel, L) | | 8 шт | 3750 руб. |
| 48 | 09343-75001-600 | Шланг (7.5x13.5x600) - Hose (75x135x600) (Hose, fuel; L:600->0 ) (Hose (7.5x13.5x600)) | | под заказ | 3870 руб. |
| 48 | 09343-75002-600 | (актуальный код замены) Шланг (7.5x13.5x600) - Hose (7.5x13.5x600) | | под заказ | 3870 руб. |
| 49 | 15634-93J20-000 | Топливный шланг (h) - Hose, Fuel (h) (Hose, fuel (h); ) (Hose, Fuel (h)) | | под заказ | 6870 руб. |
| 50 | 01570-06357-000 | Болт - Bolt (Bolt, fuel pump # Bolt, fuel pump; ) (Bolt) | | под заказ | 230 руб. |
| 51 | 15674-93J00-000 | Кронштейн контрольного клапана - Bracket, Check Valve (Bracket, Check Valve) | | под заказ | 1410 руб. |
| 52 | 15645-93J00-000 | Контрольный клапан - Valve, Check (Valve, Check) | | под заказ | 9030 руб. |
| 52 | 15645-93J10-000 | Контрольный клапан - Valve, Check (E40 ) (Valve, Check) | | под заказ | 9030 руб. |
| 53 | 15637-93J20-000 | Топливный шланг (l) - Hose, Fuel (l) (Hose, fuel (l); ) (Hose, Fuel (l)) | | под заказ | 5190 руб. |
| 54 | 15629-99E10-000 | Винт дренажный - Screw, Drain (Screw, Drain) | | под заказ | 550 руб. |
| 55 | 15683-87J00-000 | Шланг - Hose (Hose, drain ) (Hose) | | под заказ | 330 руб. |
| 56 | 02112-04063-000 | Винт - Screw (Screw) | | под заказ | 120 руб. |
| 56 | 02112-0406B-000 | (актуальный код замены) Винт - Screw | | под заказ | 120 руб. |
| 56 | 02112-0406B-000 | Винт - Screw (Screw) | | под заказ | 120 руб. |
| 57 | 09352-50823-600 | Шланг (5x8.2x600) - Hose (5x82x600) (Hose, evapotation (5.0x8.2x600) # Hose, evap (vst to valve); L:600->20 ) (Hose (5x8.2x600)) | | под заказ | 640 руб. |
| 57 | 09352-50005-600 | (актуальный код замены) Шланг (5x8.2x600) - Hose (5x8.2x600) | | под заказ | 640 руб. |
| 58 | 09352-50823-600 | Шланг (5x8.2x600) - Hose (5x82x600) (Hose, evapotation (5.0x8.2x600) # Hose, evap (valve to sil); L:600->50 ) (Hose (5x8.2x600)) | | под заказ | 640 руб. |
| 58 | 09352-50005-600 | (актуальный код замены) Шланг (5x8.2x600) - Hose (5x8.2x600) | | под заказ | 640 руб. |
| 59 | 09401-08412-000 | Зажим - Clip (Clip) | | под заказ | 190 руб. |
| 60 | 18498-87JC0-000 | Защита шланга (9.5x11.5x450) - Protector, Hose (95x115x450) (Protector, evap hose (9.5x11.5x450) # Protector, evap hose (l:450); ) (Protector, Hose (9.5x11.5x450)) | | 1 шт | 650 руб. |
| 60 | 18498-87JC1-000 | (актуальный код замены) Защита шланга (9.5x11.5x450) - Protector, Hose (9.5x11.5x450) | | под заказ | 650 руб. |
| 61 | 09160-06084-000 | Шайба (6.5x18x1.6) - Washer (65x18x16) (Washer, fuel filter (epi) plane (6.5x18x1.6); ) (Washer (6.5x18x1.6)) | | 7 шт | 130 руб. |
| 62 | 09169-06062-000 | Шайба - Washer (Washer # Washer, fuel filter (epi); ) (Washer) | | под заказ | 190 руб. |
| 63 | 01500-06257-000 | Болт - Bolt (Bolt, fuel filter (epi); ) (Bolt) | | под заказ | 150 руб. |
| 64 | 15671-93J00-000 | Кронштейн отделителя паров топлива - Bracket, Vapor Separator (Bracket, Vapor Separator) | | под заказ | 2810 руб. |
| 65 | 01550-06357-000 | Болт - Bolt (Bolt, throttle lever no.2 # Bolt, vapor separator bracket; ) (Bolt) | | 9 шт | 210 руб. |
| 66 | 09169-08042-000 | Шайба - Washer (Washer (8.5x22x2) # Washer, fuel vapor separator; ) (Washer) | | под заказ | 430 руб. |
| 67 | 01550-08407-000 | Болт - Bolt (Bolt, vapor separator; ) (Bolt) | | под заказ | 260 руб. |
| 68 | 18117-52G00-000 | Служебный клапан для Purge - Valve Assy, Duty For Purge (Valve assy, evap purge ) (Valve Assy, Duty For Purge) | | под заказ | 9940 руб. |
| 68 | 18117-52G10-000 | Клапан очистки баллона - Valve, Canister Purge (Df200t:880983~, df225t:880731~, df250t:881405~, df200z:880174~, df225z:880185~, df250z:880492~ ) (Valve, Canister Purge) | | под заказ | 9940 руб. |
| 69 | 18417-93J00-000 | Кронштейн очистки баллона - Bracket, Purge Valve (Bracket, Purge Valve) | | 1 шт | 490 руб. |
| 70 | 01550-06127-000 | Болт - Bolt (Bolt, rect # Bolt, purge valve bracket; ) (Bolt) | | 10 шт | 180 руб. |
| 71 | 08316-10067-000 | Гайка - Nut (Nut, purge valve; ) (Nut) | | под заказ | 170 руб. |