| |
 |
|
 |
Вернуться к выбору узлов мотора
ДЕТАЛИРОВКА ДЛЯ МОДЕЛИ: SUZUKI DF225TK9(E1) K9
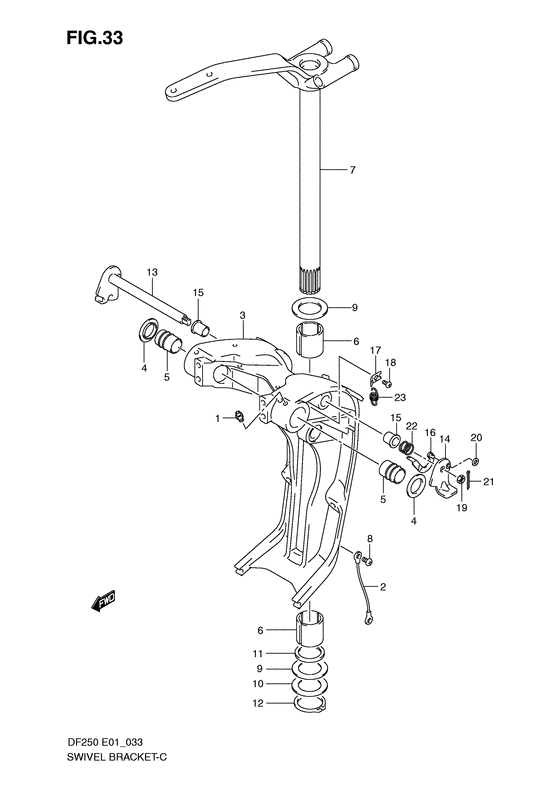
Поворотный кронштейн
Год выпуска двигателя: 2009
Номер на рисунке | Артикул | Наименование | QTY | Кол-во на складе | Цена |
| 1 | 22511-99011-000 | Ниппель смазки - Nipple, Grease (Nipple, grease swivel brkt; ) (Nipple, Grease) | | 4 шт | 400 руб. |
| 2 | 36894-87D00-000 | Lead (l: 165) - Lead (l:165) (Lead (swivel to mount brkt); ) (Lead (l:165)) | | 2 шт | 1350 руб. |
| 3 | 43111-93J00-0EP | Кронштейн Set, Swivel - Bracket Set, Swivel (Bracket, swivel (black); bracket set, swivel, contents:, bracket, swivel, bush, clamp shaft swivel (2pcs), lead, clamp to swivel, screw, clamp to swivel lead (2pcs)) (Bracket Set, Swivel) | | под заказ | 131520 руб. |
| 3 | 43100-93814-0EP | (актуальный код замены) Кронштейн Set, Swivel - Bracket Set, Swivel | | под заказ | 131520 руб. |
| 3 | 43100-93813-0EP | Кронштейн Set, Swivel - Bracket Set, Swivel (Bracket Set, Swivel) | | под заказ | 131520 руб. |
| 3 | 43100-93814-0EP | (актуальный код замены) Кронштейн Set, Swivel - Bracket Set, Swivel | | под заказ | 131520 руб. |
| 3 | 43111-93J10-0EP | Кронштейн Set, Swivel - Bracket Set, Swivel (Bracket, swivel (black); Df200t:510932~, df225t:510552~, df250t:511668~, df200z:510175~, df225z:510139~, df250z:510529~, bracket set, swivel, contents:, bracket, swivel, bush, clamp shaft swivel (2pcs)) (Bracket Set, Swivel) | | под заказ | 131520 руб. |
| 3 | 43100-93814-0EP | (актуальный код замены) Кронштейн Set, Swivel - Bracket Set, Swivel | | под заказ | 131520 руб. |
| 3 | 43111-93J22-0EP | Поворотный кронштейн - Bracket, Swivel (Bracket, swivel (black); Df200t:680188~, df225t:680175~, df250t:680339~, df200z:680026~, df225z:680048~, df250z:680144~) (Bracket, Swivel) | | под заказ | 151680 руб. |
| 3 | 43111-93J24-0EP | (актуальный код замены) Поворотный кронштейн (чёрный) - Bracket, Swivel (black) | | под заказ | 151680 руб. |
| 3 | 43111-93J24-0EP | Поворотный кронштейн - Bracket, Swivel (Bracket, Swivel) | | под заказ | 151680 руб. |
| 3 | 43111-93J24-0EP | Поворотный кронштейн - Bracket, Swivel (Bracket, Swivel) | | под заказ | 151680 руб. |
| 4 | 43114-93J00-000 | Шайба, Swivel To Струбцина Brkt - Washer, Swivel To Clamp Brkt (Washer, Swivel To Clamp Brkt) | | под заказ | 550 руб. |
| 5 | 43211-87D00-000 | Втулка струбцины поворотного вала - Bush, Clamp Shaft Swivel (Bush, clamp shaft swivel # Bush, clamp shaft swivel; ) (Bush, Clamp Shaft Swivel) | | 3 шт | 1030 руб. |
| 5 | 43211-93J00-000 | Втулка струбцины поворотного вала - Bush, Clamp Shaft Swivel (Df200t:510932~, df225t:510552~, df250t:511668~, df200z:510175~, df225z:510139~, df250z:510529~ ) (Bush, Clamp Shaft Swivel) | | под заказ | 830 руб. |
| 5 | 43211-93J11-000 | (актуальный код замены) Втулка струбцины поворотного вала - Bush, Clamp Shaft Swivel | | под заказ | 950 руб. |
| 6 | 43711-97E00-000 | Втулка рулевой системы - Bush, Steering (Bush, steering;) (Bush, Steering) | | под заказ | 870 руб. |
| 6 | 43711-97E11-000 | (актуальный код замены) Втулка рулевой системы - Bush, Steering | | 13 шт | 970 руб. |
| 6 | SK43711-97E00 | (не оригинальный аналог) Втулка поворотного механизма Skipper для Suzuki DT40-200/DF40-300 | | 0 шт | 254 руб. |
| 6 | 43711-97E01-000 | Втулка рулевой системы - Bush, Steering (Bush, Steering) | | под заказ | 870 руб. |
| 6 | 43711-97E11-000 | (актуальный код замены) Втулка рулевой системы - Bush, Steering | | 13 шт | 970 руб. |
| 7 | 43750-93J02-0EP | Кронштейн рулевого управления (x) - Bracket, Steering (x) (Bracket, steering (black); ) (Bracket, Steering (x)) | | под заказ | 146880 руб. |
| 7 | 43750-93J03-0EP | (актуальный код замены) Кронштейн Comp, Рулевая система (x) - Bracket Comp, Steering (x) | | под заказ | 146880 руб. |
| 8 | 09125-06063-000 | Винт (6x10) - Screw (6x10) (Screw, mt brkt to swivel lead (6x10); ) (Screw (6x10)) | | 6 шт | 190 руб. |
| 9 | 09160-39001-000 | Шайба (39.5x64x1) - Washer (395x64x1) (Washer (39.5x64x1.0) # Washer, swivel bracket (39.5x64x1.0); ) (Washer (39.5x64x1)) | | 6 шт | 320 руб. |
| 10 | 09181-39001-000 | Регулировочная шайба (39.5x64x0.3) - Shim (395x64x03) (Shim (39.5x64x0.3) # Shim, swivel bracket (39.5x64x0.3); ) (Shim (39.5x64x0.3)) | | 4 шт | 480 руб. |
| 11 | 09282-39001-000 | Сальник (39x51x5) - Seal, Oil (39x51x5) (Seal, oil # Seal, pilot shaft oil; ) (Seal, Oil (39x51x5)) | | 10 шт | 720 руб. |
| 12 | 09380-38003-000 | Стопорное кольцо - Circlip (Circlip, pilot shaft lower; ) (Circlip) | | 4 шт | 670 руб. |
| 13 | 41220-93J01-000 | Запчасть снята с производства - The Spare Part Is Laid Off (lever & link set, tilt lock) (The Spare Part Is Laid Off) | | под заказ | 0 руб. |
| 13 | 41220-93J11-000 | Рычаг блокировки наклона - Lever, Tilt Lock (Df200t:980872~, df225t:980646~, df250t:981146~, df200z:980172~, df225z:980275~, df250z:980460~ ) (Lever, Tilt Lock) | | под заказ | 7640 руб. |
| 14 | 41234-93J00-000 | Рычаг & Соединитель Set, Tilt Lock - Lever & Link Set, Tilt Lock (lever & link set, tilt lock) (Lever & Link Set, Tilt Lock) | | под заказ | 18390 руб. |
| 14 | 41200-93811-000 | (актуальный код замены) Рычаг & Соединитель Set, Tilt Lock - Lever & Link Set, Tilt Lock | | под заказ | 18390 руб. |
| 14 | 41200-93811-000 | Рычаг & Соединитель Set, Tilt Lock - Lever & Link Set, Tilt Lock (Lever & Link Set, Tilt Lock) | | под заказ | 18390 руб. |
| 14 | 41234-93J11-000 | Левый рычаг блокировки наклона - Lever, Tilt Lock Port (Df200t:980872~, df225t:980646~, df250t:981146~, df200z:980172~, df225z:980275~, df250z:980460~ ) (Lever, Tilt Lock Port) | | под заказ | 3460 руб. |
| 15 | 41224-95E01-000 | Втулка тяги ограничителя наклона - Bush, Tilt Stopper Rod (Bush, tilt stopper rod ) (Bush, Tilt Stopper Rod) | | под заказ | 570 руб. |
| 16 | 41230-95E00-000 | Соединитель рычага ограничителя наклона - Link, Tilt Lock Lever (Link, tilt lock lever ) (Link, Tilt Lock Lever) | | под заказ | 2280 руб. |
| 16 | 41230-96J00-000 | Соединитель рычага ограничителя наклона - Link, Tilt Lock Lever (Df200t:980872~, df225t:980646~, df250t:981146~, df200z:980172~, df225z:980275~, df250z:980460~ ) (Link, Tilt Lock Lever) | | 1 шт | 2160 руб. |
| 17 | 41233-95E10-000 | Кронштейн пружины ограничителя наклона - Bracket, Tilt Lock Spring (Bracket, tilt lock spring ) (Bracket, Tilt Lock Spring) | | 1 шт | 1230 руб. |
| 18 | 09125-06063-000 | Винт (6x10) - Screw (6x10) (Screw, tilt lock spr (6x10); ) (Screw (6x10)) | | 6 шт | 190 руб. |
| 19 | 09140-10032-000 | Гайка - Nut (Nut, tilt lock lever port; ) (Nut) | | 10 шт | 160 руб. |
| 20 | 09160-06082-000 | Шайба (6.5x13x1.0) - Washer (65x13x10) (Washer, tilt lock lever link (6.5x13x1.0); ) (Washer (6.5x13x1.0)) | | 6 шт | 150 руб. |
| 21 | 09204-01006-000 | Штифт - Pin (Pin, cotter # Pin, tilt lk lever link cotter; ) (Pin) | | 14 шт | 150 руб. |
| 22 | 09440-19028-000 | Пружина - Spring (Spring, tilt lock shaft; ) (Spring) | | 7 шт | 260 руб. |
| 23 | 09443-10043-000 | Пружина - Spring (Spring, tilt lock; ) (Spring) | | 9 шт | 250 руб. |
Время выполнения запроса 1.0483100414276 сек. |
|