УВАЖАЕМЫЕ КЛИЕНТЫ! C 19 ДЕКАБРЯ 2025 ПО 02 МАРТА 2026 ГОДА ОТДЕЛ ЗАПЧАСТЕЙ И СЕРВИС РАБОТАТЬ НЕ БУДУТ ПРОДАЖА ЛОДОЧНЫХ МОТОРОВ В ШТАТНОМ РЕЖИМЕ ОБ ИЗМЕНЕНИЯХ В ГРАФИКЕ РАБОТЫ ЧИТАЙТЕ НА САЙТА
Раздел:
Cylinder head - Головка блока цилиндра
Cylinder block - Блок цилиндра
Ring gear cover - Крышка механизма маховика
Crankshaft - Коленвал
Timing chain - Распределяющая цепь
Camshaft - Распределительный вал для Suzuki DF200
Camshaft - Распределительный вал для Suzuki DF250
Intake manifold - Впускной коллектор
Silencer - Глушитель
Exhaust cover - Кожух выхлопной трубы
Fuel pump / fuel vapor separator - Топливный насос / Отделитель паров топлива для NOTE : REFER TO FIG.11AC- 5
Fuel pump / fuel vapor separator - Топливный насос / Отделитель паров топлива для *; NOTE : * : Suzuki DF200T:
Fuel injector - Топливный инжектор
Water pump - Водяной насос
Thermostat - Термостат
Throttle body - Дроссель газа для Suzuki DF200; NOTE : REFER TO FIG.16D- 4 FOR Suzuki DF225
Throttle body - Дроссель газа для Suzuki DF225
Throttle rod - Тяга дросселя
Oil pump - Масляный насос
Oil pan - Масляный поддон
Clutch shaft - Сцепление Вал
Clutch rod - Тяга сцепления для Suzuki DF200T
Clutch rod - Тяга сцепления для Suzuki DF200Z
Transmission - Трансмиссия для Suzuki DF200T
Transmission - Трансмиссия для Suzuki DF200Z
Starting motor - Двигатель электростартера
Magneto - Магнето
Rectifier / ignition coil - Выпрямитель / Катушка зажигания
Sensor - Датчик
Harness - Жгут проводов
Ptt switch / engine control unit - Переключатель гидроподъёма / Блок управления двигателем
Clamp bracket - Кронштейн транца для NOTE : REFER TO FIG.32G- 5 FOR Suzuki DF200TL
Clamp bracket - Кронштейн транца для Suzuki DF200TL
Swivel bracket - Поворотный кронштейн для NOTE : REFER TO FIG.34G- 8 FOR Suzuki DF200TL
Swivel bracket - Поворотный кронштейн для Suzuki DF200TL
Trim cylinder - Цилиндр трима для NOTE : REFER TO FIG.36G-12 FOR Suzuki DF200TL
Trim cylinder - Цилиндр трима для Suzuki DF200TL
Ptt motor - Двигатель гидроподъёма для NOTE : REFER TO FIG.38G-14 FOR Suzuki DF200TL
Ptt motor - Двигатель гидроподъёма для Suzuki DF200TL
Engine holder - Основание двигателя
Drive shaft housing - Корпус вала передачи для NOTE : REFER TO FIG.41H- 6 FOR Suzuki DF200TL
Drive shaft housing - Корпус вала передачи для Suzuki DF200TL
Gear case - Картер коробки передач для Suzuki DF200T
Gear case - Картер коробки передач для Suzuki DF200Z
Side cover - Боковая крышка для NOTE : REFER TO FIG.45H-14 FOR Suzuki DF200TL
Side cover - Боковая крышка для Suzuki DF200TL
Engine cover - Крышка двигателя (капот) для Suzuki DF200MODEL:10~; NOTE : REFER TO FIG.47 I- 6 FOR Suzuki DF22
Engine cover - Крышка двигателя (капот) для Suzuki DF225MODEL:10~; NOTE : REFER TO FIG.48 I-10 FOR Suzuki DF25
Engine cover - Крышка двигателя (капот) для Suzuki DF250MODEL:10~
Fuel hose - Топливный шланг
Drag link - Переключающая тяга
Remote control - Дистанционное управление
Opt:meter - Опции: приборы
Opt:meter - Опции: приборы для MODEL:08~
Opt:harness - Опции: жгут проводов
Opt:harness - Опции: жгут проводов для MODEL:08~
Opt:switch - Опции: переключатели
Opt:top mount dual - Опция: сдвоенное ДУ, монтаж сверху для 1
Opt:top mount dual - Опция: сдвоенное ДУ, монтаж сверху для 2
Opt:top mount single - Опции: одинарное, монтаж сверху для 1
Opt:top mount single - Опции: одинарное, монтаж сверху для 2
Opt:concealed remocon - Опции: дистанционное управление, скрытая установка для 1
Opt:concealed remocon - Опции: дистанционное управление, скрытая установка для 2
Opt:tie rod - Опции: tie Тяга
Opt:gasket set - Опции: комплект прокладок
Вернуться к выбору узлов мотора
ДЕТАЛИРОВКА ДЛЯ МОДЕЛИ: SUZUKI DF225WZ K10
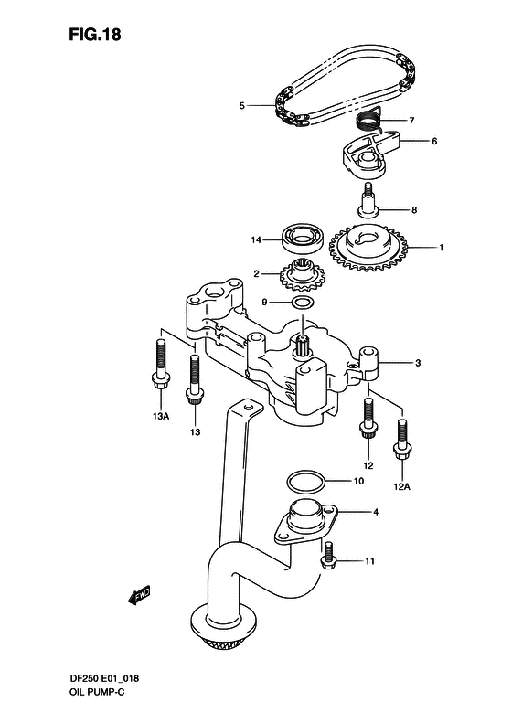
Масляный насос
Код модели двигателя: DF225(Z)TX/XX; DF225W(Z)TX/XX
Год выпуска двигателя: 2010
Цвет: Shadow Black Metallic
Номер на рисунке Артикул Наименование QTY Кол-во на складе Цена
1 12632-93J11-000 Звездочка привода масляного насоса - Sprocket, Oil Pump Drive (Sprocket, Oil Pump Drive )
под заказ 5000 руб.
2 16113-93J10-000 Звездочка привода масляного насосаn - Sprocket, Oil Pump Driven (Sprocket, Oil Pump Driven )
под заказ 3120 руб.
3 16400-93J01-000 (->16400-93J02 USED WITH 01550-0885A )
под заказ нет сведений
3 01550-0885A-000 Болт - Bolt (Bolt )
под заказ 260 руб.
3 16400-93J03-000 Масляный насос в сборе - Pump Assy, Oil (Pump Assy, Oil )
под заказ 20070 руб.
3 16400-93J20-000 (актуальный код замены) Масляный насос в сборе - Pump Assy, Oil
под заказ 20070 руб.
3 16400-93J02-000 Масляный насос в сборе - Pump Assy, Oil (DF200T:881427~ DF225T:881089~ DF250T:881973~ DF200Z:880241~ DF225Z:880242~ DF250Z:880640~ ) (Pump Assy, Oil )
под заказ 20070 руб.
3 16400-93J20-000 (актуальный код замены) Масляный насос в сборе - Pump Assy, Oil
под заказ 20070 руб.
4 16520-93J00-000 Сетчатый фильтр масляного насоса - Strainer, Oil Pump (Strainer, Oil Pump )
под заказ 4250 руб.
5 16760-93J00-000 Цепь привода масляного насоса - Chain, Oil Pump Drive (Chain, Oil Pump Drive )
2 шт 3870 руб.
6 16781-93J00-000 Натяжитель цепи масляного насоса - Tensioner, Oil Pump Chain (Tensioner, Oil Pump Chain )
под заказ 2100 руб.
7 16782-93J00-000 Пружина натяжителя масляного насоса - Spring, Oil Pump Tensioner (Spring, Oil Pump Tensioner )
под заказ 760 руб.
8 16783-93J01-000 Болт натяжителя масляного насоса - Bolt, Oil Pump Tensioner (Bolt, Oil Pump Tensioner )
под заказ 490 руб.
9 09181-12158-000 Регулировочная шайба (12x20x0.5) - Shim (12x20x05) (Washer (12x20x0.5) ) (Shim (12x20x0.5) )
под заказ 170 руб.
10 09280-22020-000 Уплотнительное кольцо (d: 2.4, Id: 21.8) - O Ring (d:24, Id:218) (O ring (d:2.4, id:21.8) # DF200T:680909~ DF225T:680856~ DF250T:681356~ DF200Z:680154~ DF225Z:680215~ DF250Z:680441~ ) (O Ring (d:2.4, Id:21.8) )
10 шт 260 руб.
11 01550-0616A-000 Болт - Bolt (Bolt )
под заказ 150 руб.
12 07120-0845A-000 Болт - Bolt (DF200T:~780654 DF225T:~780575 DF250T:~780919 DF200Z:~780108 DF225Z:~780121 DF250Z:~780343 ) (Bolt )
под заказ 260 руб.
12 01550-0845A-000 Болт - Bolt (Bolt, oil pump (s) # DF200T:780655~ DF225T:780576~ DF250T:780920~ DF200Z:780109~ DF225Z:780122~ DF250Z:780344~ ) (Bolt )
под заказ 230 руб.
13 07120-08653-000 Болт - Bolt (MODEL:07 DF200T:~780654 DF225T:~780575 DF250T:~780919 DF200Z:~780108 DF225Z:~780121 DF250Z:~780343 ) (Bolt )
под заказ 290 руб.
13 07120-0865B-000 (актуальный код замены) Болт - Bolt
под заказ 290 руб.
13 07120-0865B-000 Болт - Bolt (Bolt )
под заказ 290 руб.
13 07120-0870A-000 Болт - Bolt (Bolt )
под заказ 290 руб.
13 01550-0865A-000 Болт - Bolt (Bolt, oil pump (l) # DF200T:881427~ DF225T:881089~ DF250T:881973~ DF200Z:880241~ DF225Z:880242~ DF250Z:880640~ ) (Bolt )
под заказ 260 руб.
13 01550-0885A-000 Болт - Bolt (DF200T:881427~ DF225T:881089~ DF250T:881973~ DF200Z:880241~ DF225Z:880242~ DF250Z:880640~ ) (Bolt )
под заказ 260 руб.
14 08110-60020-000 Подшипник - Bearing (Bearing ) (Bearing )
9 шт 1490 руб.
14 SK08110-60020 (не оригинальный аналог) Подшипник торсионного вала Skipper для Suzuki DT9.9-15, DF9.9-300, DF8A-350A
1 шт 424 руб.
14 08110-60020 (не оригинальный аналог) Подшипник ведущего вала редуктора Suzuki 08110-60020
под заказ 700 руб.
Время выполнения запроса 1.7845649719238 сек.