Подобрать запчасти на лодочный подвесной мотор Suzuki модель года - Топливный насос / Отделитель паров топлива / Fuel pump / fuel vapor separator
вконтакте

Контактный телефон: +7 (981) 121-46-93, +7 (800) 200-90-76 , Email: parts-katalog@yandex.ru, где купить

 
 

  Логин:

Пароль:

Регистрация

www.partskatalog.ru Все каталоги Запчасти Mercury Запчасти Suzuki Запчасти Tohatsu Запчасти Honda Контакты



УВАЖАЕМЫЕ КЛИЕНТЫ!
C 19 ДЕКАБРЯ 2025 ПО 02 МАРТА 2026 ГОДА ОТДЕЛ ЗАПЧАСТЕЙ И СЕРВИС РАБОТАТЬ НЕ БУДУТ
ПРОДАЖА ЛОДОЧНЫХ МОТОРОВ В ШТАТНОМ РЕЖИМЕ
ОБ ИЗМЕНЕНИЯХ В ГРАФИКЕ РАБОТЫ ЧИТАЙТЕ НА САЙТА



назад Раздел:   вперёд

Вернуться к выбору узлов мотора


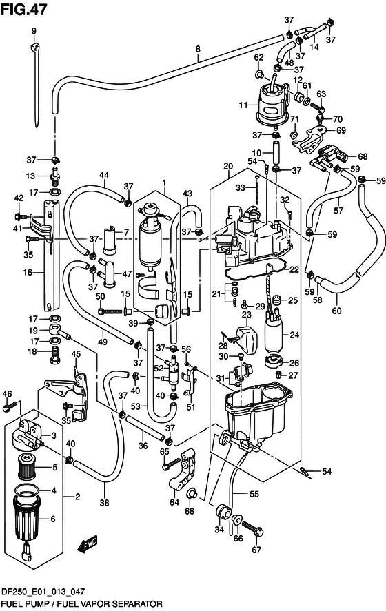
ДЕТАЛИРОВКА ДЛЯ МОДЕЛИ: SUZUKI DF250T FROM 25003F-310001~ (E01,E40)

Топливный насос / Отделитель паров топлива



Warning: Undefined variable $NumPP in D:\www\www.partskatalog.ru\partsbase\base-outboard-suzuki-2.php on line 654
Номер на
рисунке
АртикулНаименованиеQTYКол-во
на складе
Цена
 01500-06167-000

Болт - Bolt (Bolt, fuel cooler ) (Bolt)

под заказ150 руб.
 01500-06257-000

Болт - Bolt (Bolt)

под заказ150 руб.
 01570-06357-000

Болт - Bolt (Bolt, fuel pump ) (Bolt)

под заказ230 руб.
 01550-06127-000

Болт - Bolt (Bolt, rect ) (Bolt)

10 шт180 руб.
 01550-06257-000

Болт - Bolt (Bolt)

под заказ180 руб.
 01550-06357-000

Болт - Bolt (Bolt, throttle lever no.2 ) (Bolt)

9 шт210 руб.
 01550-08407-000

Болт - Bolt (Bolt)

под заказ260 руб.
 02112-0406B-000

Винт - Screw (Screw)

под заказ120 руб.
 02112-05107-000

Винт - Screw (Screw, bracket ) (Screw)

под заказ120 руб.
 02142-0408B-000

Винт - Screw (Screw)

под заказ130 руб.
 08316-10067-000

Гайка - Nut (Nut)

под заказ170 руб.
 09160-06084-000

Шайба (6.5x18x1.6) - Washer (65x18x16) (Washer (6.5x18x1.6))

7 шт130 руб.
 09169-06062-000

Шайба - Washer (Washer ) (Washer)

под заказ190 руб.
 09169-08042-000

Шайба - Washer (Washer (8.5x22x2) ) (Washer)

под заказ430 руб.
 09168-12013-000

Прокладка (11.8x22x1.2) - Gasket (118x22x12) (Gasket, union ) (Gasket (11.8x22x1.2))

10 шт260 руб.
 09320-08501-000

Подушка - Cushion (Cushion)

под заказ240 руб.
 09320-12072-000

Подушка - Cushion (Cushion)

под заказ240 руб.
 09320-12094-000

   (актуальный код замены) Подушка глушителя Кронштейн - Cushion, Silencer Bracket

под заказ240 руб.
 09352-50823-600

Шланг (5x8.2x600) - Hose (5x82x600) (Hose, evapotation (5.0x8.2x600) # L:600->550 ) (Hose (5x8.2x600))

под заказ640 руб.
 09352-50005-600

   (актуальный код замены) Шланг (5x8.2x600) - Hose (5x8.2x600)

под заказ640 руб.
 09401-08412-000

Зажим - Clip (Clip)

под заказ190 руб.
 09343-75001-600

Шланг (7.5x13.5x600) - Hose (75x135x600) (L:600->65 ) (Hose (7.5x13.5x600))

под заказ3870 руб.
 09343-75002-600

   (актуальный код замены) Шланг (7.5x13.5x600) - Hose (7.5x13.5x600)

под заказ3870 руб.
 09401-11414-000

Зажим (id: 11.5) - Clip (id:115) (Clip (id:11.5))

под заказ290 руб.
 09360-12008-000

Соединение - Union (Union)

под заказ730 руб.
 09363-08004-000

Соединение - Union (Union)

под заказ1650 руб.
 13370-93J00-000

Игольчатый клапан, в сборе - Valve Assy, Needle (Valve Assy, Needle)

под заказ4900 руб.
 15770-93J00-000

Охладитель топлива - Cooler, Fuel (Cooler, Fuel)

под заказ9170 руб.
 15773-90J00-000

Соединенине топливного шланга - Union, Fuel Hose (Union, Fuel Hose)

под заказ1420 руб.
 15830-93J00-000

Трехходовой соединитель топливного шланга - Union, Three Way Fuel Hose (Union, Three Way Fuel Hose)

под заказ1680 руб.
 15600-93J01-000

Сепаратор-отделитель паров топлива, в сборе - Separator Assy, Fuel Vapor (Separator Assy, Fuel Vapor)

под заказ98400 руб.
 15600-93J02-000

   (актуальный код замены) Сепаратор-отделитель паров топлива, в сборе - Separator Assy, Fuel Vapor

под заказ98400 руб.
 15100-94900-000

Топливный насос, в сборе - Pump Assy, Fuel (Pump assy, fuel (l) ) (Pump Assy, Fuel)

3 шт76800 руб.
 15410-93J10-000

Топливный фильтр, L - Filter, Fuel, L (Filter, Fuel, L)

под заказ15120 руб.
 SM-15410-93J10-000

   (не оригинальный аналог) Распродажа! Топливный фильтр SM-15410-93J10-000 в сборе (оригинал)

12 шт5000 руб.
 15410-93J11-000

   (актуальный код замены) Топливный фильтр, L - Filter, Fuel, L

под заказ15120 руб.
 SK-F-0266-01

   (не оригинальный аналог) Фильтр топливный Skipper для Suzuki DF200-250/250A/300A

0 шт4447 руб.
 15411-93J10-000

Колпачок топливного фильтра - Cap, Fuel Filter (Cap, Fuel Filter)

под заказ5380 руб.
 15626-93J00-000

Прокладка сепаратора - Gasket, Separator (Gasket, Separator)

под заказ1280 руб.
 15627-93J00-000

Винт - Screw (Screw)

под заказ490 руб.
 15628-99E00-000

Винт (l: 15) - Screw (l:15) (Screw (l:15))

под заказ240 руб.
 15629-99E10-000

Винт дренажный - Screw, Drain (Screw, Drain)

под заказ550 руб.
 15632-93J20-000

Топливный шланг (h) - Hose, Fuel (h) (Hose, Fuel (h))

под заказ7060 руб.
 15633-93J20-000

Топливный шланг (h) - Hose, Fuel (h) (Hose, Fuel (h))

под заказ6580 руб.
 15634-93J20-000

Топливный шланг (h) - Hose, Fuel (h) (Hose, Fuel (h))

под заказ6870 руб.
 15412-93J10-000

Топливный фильтр в сборе - Filter Assy, Fuel (Filter Assy, Fuel)

52 шт2500 руб.
 15635-93J20-000

Топливный шланг (h) - Hose, Fuel (h) (Hose, Fuel (h))

под заказ7880 руб.
 15636-98J20-000

Топливный шланг (l) - Hose, Fuel (l) (Hose, Fuel (l))

под заказ4950 руб.
 15636-98J21-000

   (актуальный код замены) Топливный шланг (l) - Hose, Fuel (l)

под заказ4950 руб.
 15637-93J20-000

Топливный шланг (l) - Hose, Fuel (l) (Hose, Fuel (l))

под заказ5190 руб.
 15641-90J00-000

Проставка - Spacer (Spacer)

4 шт2340 руб.
 15642-90J00-000

Фильтр - Filter (Filter)

2 шт1110 руб.
 15643-93J00-000

Топливный фильтр, L - Filter, Fuel, L (Filter, Fuel, L)

7 шт3750 руб.
 15413-93J10-000

Case в сборе, Топливный фильтр - Case Assy, Fuel Filter (Case Assy, Fuel Filter)

под заказ7400 руб.
 15415-93J10-000

Сальник топливного фильтра №1 - Seal, Fuel Filter No1 (Seal, Fuel Filter No.1)

под заказ1060 руб.
 15644-93J00-000

Крышка топливного фильтра - Cover, Fuel Filter (Cover, Fuel Filter)

под заказ850 руб.
 15645-93J00-000

Контрольный клапан - Valve, Check (Valve, Check)

под заказ9030 руб.
 15646-93J00-000

Струбцина топливного фильтра - Clamp, Fuel Filter (Clamp, Fuel Filter)

под заказ440 руб.
 15647-93J00-000

Втулка топливного насоса - Bush, Fuel Pump (Bush, Fuel Pump)

под заказ990 руб.
 15647-93J10-000

   (актуальный код замены) Втулка топливного насоса - Bush, Fuel Pump

под заказ1320 руб.
 15650-93J00-000

Поплавок в сборе - Float Assy (Float Assy)

под заказ6870 руб.
 15654-99E00-000

Штифт - Pin (Pin)

под заказ240 руб.
 15671-93J00-000

Кронштейн отделителя паров топлива - Bracket, Vapor Separator (Bracket, Vapor Separator)

под заказ2810 руб.
 15672-93J00-000

Кронштейн охладителя - Bracket, Fuel Cooler (Bracket, Fuel Cooler)

под заказ1620 руб.
 15673-98J00-000

Кронштейн топливного фильтра - Bracket, Fuel Filter (Bracket, Fuel Filter)

под заказ3720 руб.
 15674-93J00-000

Кронштейн контрольного клапана - Bracket, Check Valve (Bracket, Check Valve)

под заказ1410 руб.
 15675-93J00-000

Болт кронштейна охладителя - Bolt, Cooler Bracket (Bolt, Cooler Bracket)

под заказ190 руб.
 15683-87J00-000

Шланг - Hose (Hose, drain ) (Hose)

под заказ330 руб.
 15685-93J00-000

Зажим топливного шланга №1 - Clip, Fuel Hose No1 (Clip, Fuel Hose No.1)

под заказ520 руб.
 15686-93J00-000

Зажим топливного шланга №2 - Clip, Fuel Hose No2 (Clip, Fuel Hose No.2)

под заказ440 руб.
 15200-93J01-000

Топливный насос (высокого давления), в сборе - Pump Assy, Fuel (h) (Pump Assy, Fuel (h))

под заказ42000 руб.
 15200-93J11-000

   (актуальный код замены) Топливный насос (высокого давления), в сборе - Pump Assy, Fuel (h)

1 шт42000 руб.
 15440-93J00-000

Топливный фильтр - Filter, Fuel (Filter, Fuel)

22 шт10260 руб.
 SK-G-5109YT

   (не оригинальный аналог) Фильтр топливный Skipper для Suzuki DF200T-300T/DF250A-300A тонкой очистки

0 шт1094 руб.
 15760-93J00-000

Регулятор давления топлива - Regulator, Fuel Pressure (Regulator, Fuel Pressure)

под заказ16130 руб.
 15760-93J01-000

   (актуальный код замены) Регулятор давления топлива - Regulator, Fuel Pressure

1 шт17590 руб.
 18498-87JC0-000

Защита шланга (9.5x11.5x450) - Protector, Hose (95x115x450) (Protector, evap hose (9.5x11.5x450) ) (Protector, Hose (9.5x11.5x450))

1 шт650 руб.
 18498-87JC1-000

   (актуальный код замены) Защита шланга (9.5x11.5x450) - Protector, Hose (9.5x11.5x450)

под заказ650 руб.
 18417-93J00-000

Кронштейн очистки баллона - Bracket, Purge Valve (Bracket, Purge Valve)

1 шт490 руб.
 18117-52G10-000

Клапан очистки баллона - Valve, Canister Purge (Valve, Canister Purge)

под заказ9940 руб.


Время выполнения запроса 6.1765007972717 сек.

 
 

данный сайт носит информационный характер и не является публичной офертой

склад запчастей для водомоторной техники