Оригинальные запчасти на подвесной лодочный двигатель Suzuki - Trim cylinder transom
вконтакте

Контактный телефон: +7 (981) 121-46-93, +7 (800) 200-90-76 , Email: parts-katalog@yandex.ru, где купить

 
 

  Логин:

Пароль:

Регистрация

www.partskatalog.ru Все каталоги Запчасти Mercury Запчасти Suzuki Запчасти Tohatsu Запчасти Honda Контакты



УВАЖАЕМЫЕ КЛИЕНТЫ!
C 19 ДЕКАБРЯ 2025 ПО 02 МАРТА 2026 ГОДА ОТДЕЛ ЗАПЧАСТЕЙ И СЕРВИС РАБОТАТЬ НЕ БУДУТ
ПРОДАЖА ЛОДОЧНЫХ МОТОРОВ В ШТАТНОМ РЕЖИМЕ
ОБ ИЗМЕНЕНИЯХ В ГРАФИКЕ РАБОТЫ ЧИТАЙТЕ НА САЙТА



назад Раздел:   вперёд

Вернуться к выбору узлов мотора


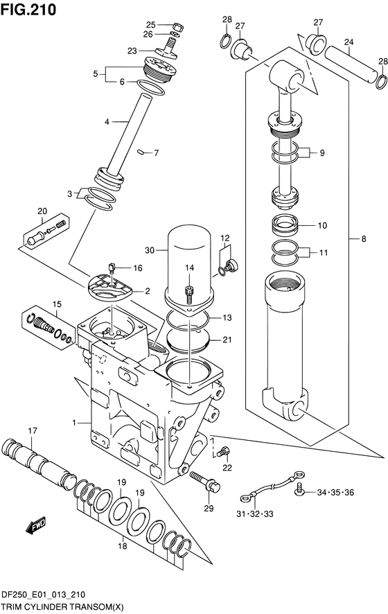
ДЕТАЛИРОВКА ДЛЯ МОДЕЛИ: SUZUKI DF250T FROM 25003F-310001~ (E01,E40)

Цилиндр трима transom



Warning: Undefined variable $NumPP in D:\www\www.partskatalog.ru\partsbase\base-outboard-suzuki-2.php on line 654
Номер на
рисунке
АртикулНаименованиеQTYКол-во
на складе
Цена
 09116-10175-000

Болт (10x50) - Bolt (10x50) (Bolt (10x50))

под заказ680 руб.
 09125-06063-000

Винт (6x10) - Screw (6x10) (Screw (6x10))

6 шт190 руб.
 09162-10005-000

Шайба с блокировкой - Washer, Lock (Lock washer ) (Washer, Lock)

под заказ130 руб.
 09306-24001-000

Втулка - Bush (Bush)

под заказ190 руб.
 09380-21002-000

Стопорное кольцо - Circlip (Circlip)

8 шт250 руб.
 29141-93J20-000

Гайка - Nut (Nut, trim cyl ram (m10) ) (Nut)

под заказ160 руб.
 09140-10031-000

   (актуальный код замены) Гайка - Nut

10 шт160 руб.
 36894-87D00-000

Lead (l: 165) - Lead (l:165) (Lead (l:165))

2 шт1350 руб.
 36895-87D01-000

Lead (l: 210) - Lead (l:210) (Lead (l:210))

1 шт1420 руб.
 48500-93J05-000

Коллектор в сборе - Manifold Assy (Manifold Assy)

под заказ97920 руб.
 48311-96J10-000

Накладка цилиндра подъемника - Pad, Trim Cylinder Ram (Pad, Trim Cylinder Ram)

под заказ3580 руб.
 48320-93J00-000

Клапан Set, выше Blow - Valve Set, Up Blow (Valve Set, Up Blow)

под заказ2220 руб.
 48321-93J00-000

Вал наклона Цилиндр вышеr - Shaft, Tilt Cylinder Upr (Shaft, Tilt Cylinder Upr)

под заказ4420 руб.
 48121-93J13-000

Вал - Shaft (Shaft)

под заказ7250 руб.
 48121-93J20-000

   (актуальный код замены) Вал - Shaft

под заказ7250 руб.
 48125-93J00-000

Набор уплотнительных колец - O Ring Set (O Ring Set)

под заказ2640 руб.
 48126-93J00-000

Шайба цилиндра наклона Коллектор - Washer, Tilt Cyl To Manifold (Washer, Tilt Cyl To Manifold)

под заказ850 руб.
 48128-93J11-000

Болт - Bolt (Bolt)

под заказ910 руб.
 48400-93J06-000

Цилиндр в сборе - Cylinder Assy (Cylinder Assy)

под заказ55200 руб.
 48400-93J07-000

   (актуальный код замены) Цилиндр в сборе - Cylinder Assy

под заказ55200 руб.
 48405-93J00-000

Набор уплотнительных колец - O Ring Set (O Ring Set)

3 шт1010 руб.
 48582-95E01-000

Фильтр - Filter (Filter)

под заказ3890 руб.
 48583-95E00-000

Соединение привода - Joint, Drive (Joint, Drive)

под заказ1080 руб.
 48585-95E00-000

Уплотнительное кольцо - O Ring (O Ring)

6 шт430 руб.
 48605-93J00-000

Набор уплотнительных колец - O Ring Set (O Ring Set)

10 шт1400 руб.
 48610-93J01-000

Поршень / ram - Piston/ram (Piston/ram)

под заказ18580 руб.
 48627-93J00-000

Набор уплотнительных колец - O Ring Set (O Ring Set)

под заказ850 руб.
 48630-98J01-000

Тяга направляющей - Rod Guide (Rod Guide)

под заказ8020 руб.
 48630-98L01-000

   (актуальный код замены) Тяга направляющей - Rod Guide

10 шт8020 руб.
 48633-93J00-000

Уплотнительное кольцо - O Ring (O Ring)

под заказ730 руб.
 48650-93J00-000

Освободитель поршня - Piston, Free (Piston, Free)

под заказ6720 руб.
 48571-93J00-000

Накопительный бак - Reservoir Tank (Reservoir Tank)

под заказ18150 руб.
 48572-87J10-000

Заглушка - Plug (Plug)

2 шт2030 руб.
 48691-93J00-000

Обратный клапан - Check Valve (Check Valve)

под заказ610 руб.
 48862-87J20-000

Болт резервуара - Bolt, Reservoir (Bolt, Reservoir)

2 шт1350 руб.
 48864-93J01-000

ручной, Клапан - Manual, Valve (Manual, Valve)

3 шт12500 руб.
 48573-93J00-000

Крышка - Cover (Cover)

под заказ3990 руб.


Время выполнения запроса 1.1578240394592 сек.

 
 

данный сайт носит информационный характер и не является публичной офертой

склад запчастей для водомоторной техники