| |
 |
|
 |
Вернуться к выбору узлов мотора
ДЕТАЛИРОВКА ДЛЯ МОДЕЛИ: SUZUKI DF250Z FROM 25003Z-310001~ (E01,E40)
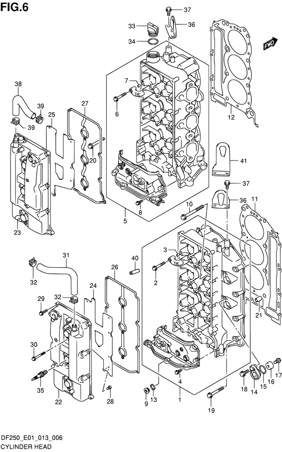
Головка блока цилиндра
Код модели двигателя: DF250(Z)TX/XX; DF250W(Z)TX/XX
Год выпуска двигателя: 2013
Регион: General Export No.1/Costa Rica ,Код региона: P01/P40
Цвет: Shadow Black Metallic
Номер на рисунке | Артикул | Наименование | QTY | Кол-во на складе | Цена |
Warning: Undefined variable $NumPP in D:\www\www.partskatalog.ru\partsbase\base-outboard-suzuki-2.php on line 654
| | 01547-06257-000 | Болт - Bolt (Bolt) | | под заказ | 160 руб. |
| | 01547-06507-000 | Болт - Bolt (Bolt, cyl head cover no.2 ) (Bolt) | | под заказ | 180 руб. |
| | 01550-06207-000 | Болт - Bolt (Bolt) | | 17 шт | 220 руб. |
| | 01550-08207-000 | Болт - Bolt (Bolt) | | 10 шт | 240 руб. |
| | 01550-08607-000 | Болт - Bolt (Bolt, throttle body # STBD ) (Bolt) | | под заказ | 290 руб. |
| | 09103-06281-000 | Болт (6x14) - Bolt (6x14) (Bolt, protection anode ) (Bolt (6x14)) | | 6 шт | 270 руб. |
| | 02112-0612A-000 | Винт - Screw (Screw) | | под заказ | 120 руб. |
| | 09168-16009-000 | Прокладка (16x22x0.8) - Gasket (16x22x08) (Gasket (16x22x0.8)) | | под заказ | 190 руб. |
| | 09206-08001-000 | Штифт (8x11) - Pin (8x11) (Pin (8x11)) | | 9 шт | 130 руб. |
| | 09206-14004-000 | Штифт (14x11.4x23) - Pin (14x114x23) (Pin (14x11.4x23)) | | под заказ | 360 руб. |
| | 09280-22019-000 | Уплотнительное кольцо (d: 1.9, Id: 21.8) - O Ring (d:19, Id:218) (O Ring (d:1.9, Id:21.8)) | | 16 шт | 210 руб. |
| | SK09280-22019 | (не оригинальный аналог) Кольцо уплотнительное головки блока цилиндров Skipper для Suzuki Модели техники: 4-stroke 8-350HP | | 0 шт | 64 руб. |
| | 09280-26006-000 | Уплотнительное кольцо (d: 3.1, Id: 26.4) - O Ring (d:31, Id:264) (O Ring (d:3.1, Id:26.4)) | | 2 шт | 220 руб. |
| | 09482-00427-000 | Свеча зажигания (ngk Bkr6e) - Plug, Spark (ngk Bkr6e) (Plug, Spark (ngk Bkr6e)) | | 128 шт | 920 руб. |
| | 09401-18410-000 | Зажим - Clip (Clip) | | под заказ | 320 руб. |
| | 11101-93J13-000 | Головка блока цилиндра (правая) - Head Assy, Cylinder Stbd (Head Assy, Cylinder Stbd) | | под заказ | 221280 руб. |
| | 11101-93J20-000 | (актуальный код замены) Головка блока цилиндра (правая) - Head Assy, Cylinder Stbd | | под заказ | 221280 руб. |
| | 11103-93J13-000 | Головка блока цилиндра (левая) - Head Assy, Cylinder Port (Head Assy, Cylinder Port) | | под заказ | 221280 руб. |
| | 11103-93J20-000 | (актуальный код замены) Головка блока цилиндра (левая) - Head Assy, Cylinder Port | | под заказ | 221280 руб. |
| | 11189-93J00-000 | Прокладка левой крышки головки блока цилиндра - Gasket, Cyl Head Cover Port (Gasket, Cyl Head Cover Port) | | 2 шт | 2630 руб. |
| | 11174-93J00-000 | Шланг сапуна - Hose, Breather (Hose, Breather) | | под заказ | 1040 руб. |
| | 11115-93J10-001 | Направляющая клапана (os) - Guide, Valve (os) (OPT ) (Guide, Valve (os)) | | 24 шт | 3200 руб. |
| | 11116-93J01-000 | Заглушка - Plug (Plug) | | под заказ | 350 руб. |
| | 11170-93J01-000 | Крышка головки цилиндра (правая) - Cover, Cylinder Head Stbd (Cover, Cylinder Head Stbd) | | под заказ | 29760 руб. |
| | 11119-93J00-000 | Болты головки цилиндра - Bolt, Cylinder Head (Bolt, Cylinder Head) | | под заказ | 680 руб. |
| | 11141-93J10-000 | Прокладка правой головки блока цилиндра - Gasket, Cylinder Head Stbd (Gasket, Cylinder Head Stbd) | | 11 шт | 8210 руб. |
| | 11179-93J00-000 | Прокладка правой крышки головки блока цилиндра - Gasket, Cyl Head Cover Stbd (Gasket, Cyl Head Cover Stbd) | | 2 шт | 2630 руб. |
| | 11291-93J00-000 | Крюк двигателя - Hook, Engine (Hook, Engine) | | под заказ | 1090 руб. |
| | 11261-93J00-000 | Крышка защитного анода - Cover, Protection Anode (Cover, Protection Anode) | | под заказ | 1600 руб. |
| | 11291-98J00-000 | Крюк двигателя - Hook, Engine (OPT ) (Hook, Engine) | | под заказ | 1430 руб. |
| | 11128-90J00-000 | Болт распредвала Корпус (6x39) - Bolt, Camshaft Housing (6x39) (Bolt, Camshaft Housing (6x39)) | | под заказ | 260 руб. |
| | 11180-93J02-000 | Крышка головки цилиндра (левая) - Cover, Cylinder Head Port (Cover, Cylinder Head Port) | | под заказ | 29760 руб. |
| | 11183-93J00-000 | Пластина левого сапуна - Plate, Breather Port (Plate, Breather Port) | | под заказ | 760 руб. |
| | 11184-93J00-000 | Шланг левого сапуна - Hose, Breather Port (Hose, Breather Port) | | под заказ | 1010 руб. |
| | 11142-93J10-000 | Прокладка левой головки блока цилиндра - Gasket, Cylinder Head Port (Gasket, Cylinder Head Port) | | 10 шт | 8210 руб. |
| | 11173-93J00-000 | Пластина правого сапуна - Plate, Breather Stbd (Plate, Breather Stbd) | | под заказ | 760 руб. |
| | 11382-93J00-000 | Колпачок масляного фильтра - Cap, Oil Filler (Cap, Oil Filler) | | 6 шт | 630 руб. |
| | 55321-87J00-000 | Защитный анод - Anode, Protection (Anode, Protection) | | 1 шт | 750 руб. |
| | 55321-87J01-000 | (актуальный код замены) Защитный анод - Anode, Protection | | под заказ | 850 руб. |
| | SMO-55321-87J01-000 | (не оригинальный аналог) Защитный анод SMO-55321-87J01-000 (оригинал) | | под заказ | 590 руб. |
| | SMO-55321-87J01-000 | (аналог) Защитный анод SMO-55321-87J01-000 (оригинал) - код 55321-87J01-000 | | под заказ шт | 585 руб. |
| | 55321-87J01-000 | Защитный анод - Anode, Protection (Anode, Protection) | | под заказ | 850 руб. |
| | SMO-55321-87J01-000 | (аналог) Защитный анод SMO-55321-87J01-000 (оригинал) - код 55321-87J01-000 | | под заказ шт | 585 руб. |
Время выполнения запроса 5.7191851139069 сек. |
|