| |
 |
|
 |
Вернуться к выбору узлов мотора
ДЕТАЛИРОВКА ДЛЯ МОДЕЛИ: SUZUKI DF250Z FROM 25003Z-310001~ (E01,E40)
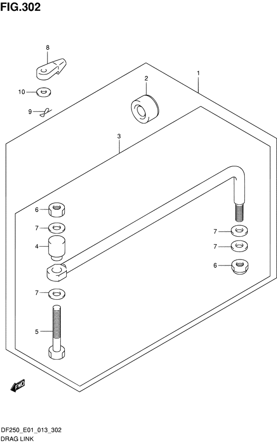
Переключающая тяга
Код модели двигателя: DF250(Z)TX/XX; DF250W(Z)TX/XX
Год выпуска двигателя: 2013
Регион: General Export No.1/Costa Rica ,Код региона: P01/P40
Цвет: Shadow Black Metallic
Номер на рисунке | Артикул | Наименование | QTY | Кол-во на складе | Цена |
Warning: Undefined variable $NumPP in D:\www\www.partskatalog.ru\partsbase\base-outboard-suzuki-2.php on line 654
| | 09160-06055-000 | Шайба (7x12x1) - Washer (7x12x1) (Washer (7x12x1.0) ) (Washer (7x12x1)) | | 67 шт | 130 руб. |
| | 09385-06012-000 | Зажим - Clip (Clip) | | 138 шт | 150 руб. |
| | 41161-94400-000 | Сальник рулевого кабеля - Seal, Steering Cable (Seal, steering cable # OPT ) (Seal, Steering Cable) | | 16 шт | 1530 руб. |
| | 67726-99E00-000 | Блокирующая гайка - Nut, Lock (OPT ) (Nut, Lock) | | 3 шт | 800 руб. |
| | 67728-99E00-000 | Шайба - Washer (OPT ) (Washer) | | 2 шт | 260 руб. |
| | 67467-89J01-000 | Коннектор - Connector (Connector) | | 73 шт | 850 руб. |
| | 67700-93J00-000 | Рулевая тяга - Link Set, Drag (OPT ) (Link Set, Drag) | | под заказ | 5810 руб. |
| | 67701-87J11-000 | Рулевая тяга в сборе - Link Assy, Drag (Link assy, drag # OPT ) (Link Assy, Drag) | | 3 шт | 8930 руб. |
| | 67721-87J00-000 | Проставка - Spacer (OPT ) (Spacer) | | под заказ | 1110 руб. |
| | 67725-99E00-000 | Болт переключающей тяги - Bolt, Drag Link (OPT ) (Bolt, Drag Link) | | 4 шт | 850 руб. |
Время выполнения запроса 0.73271894454956 сек. |
|