| |
 |
|
 |
Вернуться к выбору узлов мотора
ДЕТАЛИРОВКА ДЛЯ МОДЕЛИ: SUZUKI DF250Z K7
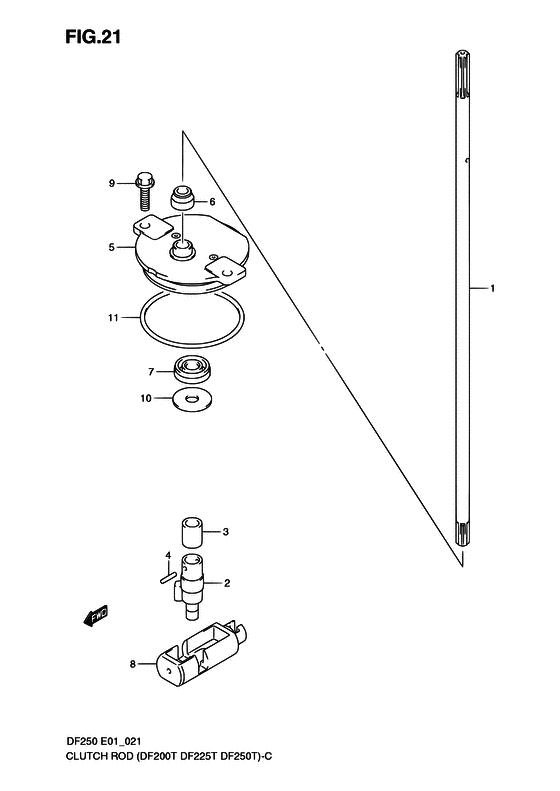
Тяга сцепления
Год выпуска двигателя: 2007
Номер на рисунке | Артикул | Наименование | QTY | Кол-во на складе | Цена |
| 1 | 25111-93J00-000 | Переключающая тяга (x) - Rod, Shift (x) (Rod, shift (x) ) (Rod, Shift (x)) | | под заказ | 7830 руб. |
| 1 | 25111-93J10-000 | Переключающая тяга (xx) - Rod, Shift (xx) (Rod, Shift (xx)) | | под заказ | 8500 руб. |
| 2 | 25131-93J00-000 | Хомут рычага переключения - Yoke, Shifter (Yoke, Shifter) | | под заказ | 4850 руб. |
| 3 | 25232-96302-000 | Индуктор картера коробки передач - Magneto, Gear Case (Magneto, Gear Case) | | 2 шт | 690 руб. |
| 4 | 09205-02006-000 | Стопор пружины (2x12) - Pin, Spring (2x12) (Pin, spring ) (Pin, Spring (2x12)) | | 10 шт | 140 руб. |
| 5 | 25141-93J00-000 | Корпус направляющей переключающей тяги - Housing, Shift Rod Guide (Housing, Shift Rod Guide) | | 3 шт | 2220 руб. |
| 6 | 25223-94400-000 | Пыльник переключающеё тяги - Seal, Shift Rod Dust (Seal, Shift Rod Dust) | | под заказ | 550 руб. |
| 6 | 25223-96J00-000 | (актуальный код замены) Сальник тяги сцепления - Seal, Clutch Rod | | 83 шт | 630 руб. |
| 7 | 09282-08005-000 | Сальник (8x22x7) - Seal, Oil (8x22x7) (Seal, sft rod guide hsg oil ) (Seal, Oil (8x22x7)) | | 16 шт | 800 руб. |
| 7 | SK09282-08005 | (не оригинальный аналог) Сальник вала переключения передач Skipper для Suzuki Модели техники: DF70-250HP | | 0 шт | 167 руб. |
| 8 | 25321-93J00-000 | Ползунок, сдвиг по горизонтали - Slider, Shift Horizontal (Slider, Shift Horizontal) | | под заказ | 8880 руб. |
| 9 | 29116-93J00-000 | Болт - Bolt (Bolt) | | 10 шт | 250 руб. |
| 10 | 09160-08151-000 | Шайба (8.5x26x1.6) - Washer (85x26x16) (Washer, shift rod (8.5x26x1.6) # <-09160-08133 ) (Washer (8.5x26x1.6)) | | под заказ | 160 руб. |
| 11 | 09280-60007-000 | Уплотнительное кольцо (d: 3.5, Id: 59.6) - O Ring (d:35, Id:596) (O ring, shift guide housing (id:59.6, dd:3.5) ) (O Ring (d:3.5, Id:59.6)) | | 10 шт | 690 руб. |
Время выполнения запроса 0.56104397773743 сек. |
|