Найти запчасти на подвесной двигатель Сузуки DF250(Z)TX/XX; DF250W(Z)TX/XX модель 2008 года - Головка блока цилиндра - Cylinder head
вконтакте

Контактный телефон: +7 (981) 121-46-93, +7 (800) 200-90-76 , Email: parts-katalog@yandex.ru, где купить

 
 

  Логин:

Пароль:

Регистрация

www.partskatalog.ru Все каталоги Запчасти Mercury Запчасти Suzuki Запчасти Tohatsu Запчасти Honda Контакты



УВАЖАЕМЫЕ КЛИЕНТЫ!
C 19 ДЕКАБРЯ 2025 ПО 02 МАРТА 2026 ГОДА ОТДЕЛ ЗАПЧАСТЕЙ И СЕРВИС РАБОТАТЬ НЕ БУДУТ
ПРОДАЖА ЛОДОЧНЫХ МОТОРОВ В ШТАТНОМ РЕЖИМЕ
ОБ ИЗМЕНЕНИЯХ В ГРАФИКЕ РАБОТЫ ЧИТАЙТЕ НА САЙТА



назад Раздел:   вперёд

Вернуться к выбору узлов мотора


ДЕТАЛИРОВКА ДЛЯ МОДЕЛИ: SUZUKI DF250TK8(E1) K8

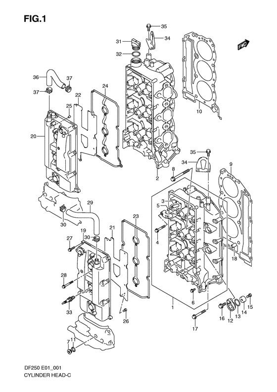
Головка блока цилиндра


Код модели двигателя: DF250(Z)TX/XX; DF250W(Z)TX/XX

Год выпуска двигателя: 2008

Регион: General Export No.1 ,Код региона: P01

Цвет: Shadow Black Metallic

Номер на
рисунке
АртикулНаименованиеQTYКол-во
на складе
Цена
111101-93J01-000

Головка блока цилиндра (правая) - Head Assy, Cylinder Stbd (Head Assy, Cylinder Stbd)

под заказ292800 руб.
111101-93J05-000

   (актуальный код замены) Головка блока цилиндра (правая) - Head Assy, Cylinder Stbd

под заказ292800 руб.
111101-93J04-000

Головка блока цилиндра (правая) - Head Assy, Cylinder Stbd (Head Assy, Cylinder Stbd)

под заказ292800 руб.
111101-93J05-000

   (актуальный код замены) Головка блока цилиндра (правая) - Head Assy, Cylinder Stbd

под заказ292800 руб.
111101-93J10-000

Головка блока цилиндра (правая) - Head Assy, Cylinder Stbd (Df250t:782264~782284) (Head Assy, Cylinder Stbd)

под заказ221280 руб.
111101-93J20-000

   (актуальный код замены) Головка блока цилиндра (правая) - Head Assy, Cylinder Stbd

под заказ221280 руб.
111101-93J13-000

Головка блока цилиндра (правая) - Head Assy, Cylinder Stbd (Head Assy, Cylinder Stbd)

под заказ221280 руб.
111101-93J20-000

   (актуальный код замены) Головка блока цилиндра (правая) - Head Assy, Cylinder Stbd

под заказ221280 руб.
111101-93J11-000

Головка блока цилиндра (правая) - Head Assy, Cylinder Stbd (Model:08~) (Head Assy, Cylinder Stbd)

под заказ221280 руб.
111101-93J20-000

   (актуальный код замены) Головка блока цилиндра (правая) - Head Assy, Cylinder Stbd

под заказ221280 руб.
211103-93J02-000

Головка блока цилиндра (левая) - Head Assy, Cylinder Port (Head Assy, Cylinder Port)

под заказ0 руб.
211103-93J05-000

Головка блока цилиндра (левая) - Head Assy, Cylinder Port (Head Assy, Cylinder Port)

под заказ0 руб.
211103-93J10-000

Головка блока цилиндра (левая) - Head Assy, Cylinder Port (Df250t:782264~782284) (Head Assy, Cylinder Port)

под заказ221280 руб.
211103-93J20-000

   (актуальный код замены) Головка блока цилиндра (левая) - Head Assy, Cylinder Port

под заказ221280 руб.
211103-93J13-000

Головка блока цилиндра (левая) - Head Assy, Cylinder Port (Head Assy, Cylinder Port)

под заказ221280 руб.
211103-93J20-000

   (актуальный код замены) Головка блока цилиндра (левая) - Head Assy, Cylinder Port

под заказ221280 руб.
211103-93J11-000

Головка блока цилиндра (левая) - Head Assy, Cylinder Port (Model:08~) (Head Assy, Cylinder Port)

под заказ221280 руб.
211103-93J20-000

   (актуальный код замены) Головка блока цилиндра (левая) - Head Assy, Cylinder Port

под заказ221280 руб.
311115-93J00-001

Направляющая клапана (os) - Guide, Valve (os) (Guide, Valve (os))

под заказ3440 руб.
311115-93J10-001

   (актуальный код замены) Направляющая клапана (os) - Guide, Valve (os)

24 шт3200 руб.
311115-93J10-001

Направляющая клапана (os) - Guide, Valve (os) (Guide, Valve (os))

24 шт3200 руб.
411128-90J00-000

Болт распредвала Корпус (6x39) - Bolt, Camshaft Housing (6x39) (Bolt, Camshaft Housing (6x39))

под заказ260 руб.
509206-08001-000

Штифт (8x11) - Pin (8x11) (Pin (8x11))

9 шт130 руб.
601550-06207-000

Болт - Bolt (Bolt)

17 шт220 руб.
711116-93J01-000

Заглушка - Plug (Plug)

под заказ350 руб.
811119-93J00-000

Болты головки цилиндра - Bolt, Cylinder Head (Bolt, Cylinder Head)

под заказ680 руб.
911141-93J03-000

Прокладка правой головки блока цилиндра - Gasket, Cylinder Head Stbd (Gasket, Cylinder Head Stbd)

под заказ8210 руб.
911141-93J10-000

   (актуальный код замены) Прокладка правой головки блока цилиндра - Gasket, Cylinder Head Stbd

11 шт8210 руб.
911141-93J10-000

Прокладка правой головки блока цилиндра - Gasket, Cylinder Head Stbd (Gasket, Cylinder Head Stbd)

11 шт8210 руб.
911141-93J10-000

Прокладка правой головки блока цилиндра - Gasket, Cylinder Head Stbd (Model:10~ ) (Gasket, Cylinder Head Stbd)

11 шт8210 руб.
1011142-93J03-000

Прокладка левой головки блока цилиндра - Gasket, Cylinder Head Port (Gasket, Cylinder Head Port)

под заказ8210 руб.
1011142-93J10-000

   (актуальный код замены) Прокладка левой головки блока цилиндра - Gasket, Cylinder Head Port

10 шт8210 руб.
1011142-93J10-000

Прокладка левой головки блока цилиндра - Gasket, Cylinder Head Port (Gasket, Cylinder Head Port)

10 шт8210 руб.
1011142-93J10-000

Прокладка левой головки блока цилиндра - Gasket, Cylinder Head Port (Model:10~ ) (Gasket, Cylinder Head Port)

10 шт8210 руб.
1109168-16009-000

Прокладка (16x22x0.8) - Gasket (16x22x08) (Gasket (16x22x0.8))

под заказ190 руб.
1211261-93J00-000

Крышка защитного анода - Cover, Protection Anode (Cover, Protection Anode)

под заказ1600 руб.
1309280-22019-000

Уплотнительное кольцо (d: 1.9, Id: 21.8) - O Ring (d:19, Id:218) (O Ring (d:1.9, Id:21.8))

16 шт210 руб.
13SK09280-22019

   (не оригинальный аналог) Кольцо уплотнительное головки блока цилиндров Skipper для Suzuki Модели техники: 4-stroke 8-350HP

0 шт64 руб.
1455321-87J00-000

Защитный анод - Anode, Protection (Anode, Protection)

1 шт750 руб.
1455321-87J01-000

   (актуальный код замены) Защитный анод - Anode, Protection

под заказ850 руб.
14SMO-55321-87J01-000

   (не оригинальный аналог) Защитный анод SMO-55321-87J01-000 (оригинал)

под заказ590 руб.
14SMO-55321-87J01-000

  (аналог) Защитный анод SMO-55321-87J01-000 (оригинал) - код 55321-87J01-000

 под заказ шт585 руб.
1455321-87J01-000

Защитный анод - Anode, Protection (Anode, Protection)

под заказ850 руб.
14SMO-55321-87J01-000

  (аналог) Защитный анод SMO-55321-87J01-000 (оригинал) - код 55321-87J01-000

 под заказ шт585 руб.
1509128-06021-000

Болт (6x14) - Bolt (6x14) (Bolt, protection anode; ) (Bolt (6x14))

под заказ200 руб.
1509103-06281-000

Болт (6x14) - Bolt (6x14) (Bolt, protection anode # Bolt, protection anode; Model:06~ ) (Bolt (6x14))

6 шт270 руб.
1601550-08207-000

Болт - Bolt (Bolt)

10 шт240 руб.
1701550-08607-000

Болт - Bolt (Bolt, throttle body # Bolt, cyl head stbd; ) (Bolt)

под заказ290 руб.
1809206-14004-000

Штифт (14x11.4x23) - Pin (14x114x23) (Pin (14x11.4x23))

под заказ360 руб.
1911170-93J01-000

Крышка головки цилиндра (правая) - Cover, Cylinder Head Stbd (Cover, Cylinder Head Stbd)

под заказ29760 руб.
2011180-93J00-000

Крышка головки цилиндра (левая) - Cover, Cylinder Head Port (Df200) (Cover, Cylinder Head Port)

под заказ0 руб.
2011180-93JV0-000

   (актуальный код замены) Запчасть снята с производства - The Spare Part Is Laid Off

под заказ0 руб.
2011180-93JV0-000

Крышка головки цилиндра (левая) - Cover, Cylinder Head Port (Cover, Cylinder Head Port)

под заказ0 руб.
2011180-93J20-000

Крышка головки цилиндра (левая) - Cover, Cylinder Head Port (Df250) (Cover, Cylinder Head Port)

под заказ29760 руб.
2011180-98J01-000

   (актуальный код замены) Крышка головки цилиндра (левая) - Cover, Cylinder Head Port

под заказ29760 руб.
2011180-98J01-000

Крышка головки цилиндра (левая) - Cover, Cylinder Head Port (Cover, Cylinder Head Port)

под заказ29760 руб.
2011180-93J02-000

Крышка головки цилиндра (левая) - Cover, Cylinder Head Port (Df200/225, df200t:421366~, df200z:421071~, df225t, df225z ) (Cover, Cylinder Head Port)

под заказ29760 руб.
2011180-93J22-000

Крышка головки цилиндра (левая) - Cover, Cylinder Head Port (Df250, df250t:421903~, df250z:421256~ ) (Cover, Cylinder Head Port)

под заказ29760 руб.
2111173-93J00-000

Пластина правого сапуна - Plate, Breather Stbd (Plate, Breather Stbd)

под заказ760 руб.
2211183-93J00-000

Пластина левого сапуна - Plate, Breather Port (Plate, Breather Port)

под заказ760 руб.
2311179-93J00-000

Прокладка правой крышки головки блока цилиндра - Gasket, Cyl Head Cover Stbd (Gasket, Cyl Head Cover Stbd)

2 шт2630 руб.
2411189-93J00-000

Прокладка левой крышки головки блока цилиндра - Gasket, Cyl Head Cover Port (Gasket, Cyl Head Cover Port)

2 шт2630 руб.
2509206-08001-000

Штифт (8x11) - Pin (8x11) (Pin, cyl head cover port; Df250 ) (Pin (8x11))

9 шт130 руб.
2602112-0612A-000

Винт - Screw (Screw, breather plate; ) (Screw)

под заказ120 руб.
2701547-06257-000

Болт - Bolt (Bolt, cyl head cover no.1; ) (Bolt)

под заказ160 руб.
2801547-06507-000

Болт - Bolt (Bolt, cyl head cover no.2 # Bolt, cyl head cover no.2; ) (Bolt)

под заказ180 руб.
2911174-93J00-000

Шланг сапуна - Hose, Breather (Hose, Breather)

под заказ1040 руб.
3009401-18410-000

Зажим - Clip (Clip)

под заказ320 руб.
3111382-93J00-000

Колпачок масляного фильтра - Cap, Oil Filler (Cap, Oil Filler)

6 шт630 руб.
3209280-26006-000

Уплотнительное кольцо (d: 3.1, Id: 26.4) - O Ring (d:31, Id:264) (O ring, oil filler cap; ) (O Ring (d:3.1, Id:26.4))

2 шт220 руб.
3309482-00427-000

Свеча зажигания (ngk Bkr6e) - Plug, Spark (ngk Bkr6e) (Spark plug (bkr6e); ) (Plug, Spark (ngk Bkr6e))

128 шт920 руб.
3411291-93J00-000

Крюк двигателя - Hook, Engine (Hook, Engine)

под заказ1090 руб.
3501550-08207-000

Болт - Bolt (Bolt, engine hook; ) (Bolt)

10 шт240 руб.
3611184-93J00-000

Шланг левого сапуна - Hose, Breather Port (Df200t:421366~, df200z:421071~, df225t, df225z, df250t:421903~, df250z:421256~ ) (Hose, Breather Port)

под заказ1010 руб.
3709401-18410-000

Зажим - Clip (Clip)

под заказ320 руб.


Время выполнения запроса 1.5509819984436 сек.

 
 

данный сайт носит информационный характер и не является публичной офертой

склад запчастей для водомоторной техники