|   | 
   
     
     | 
    | 
     | 
  
 Вернуться к выбору узлов мотора 
 ДЕТАЛИРОВКА ДЛЯ МОДЕЛИ: SUZUKI DF300AP FROM 30002P-210001~ (E01,E40) 
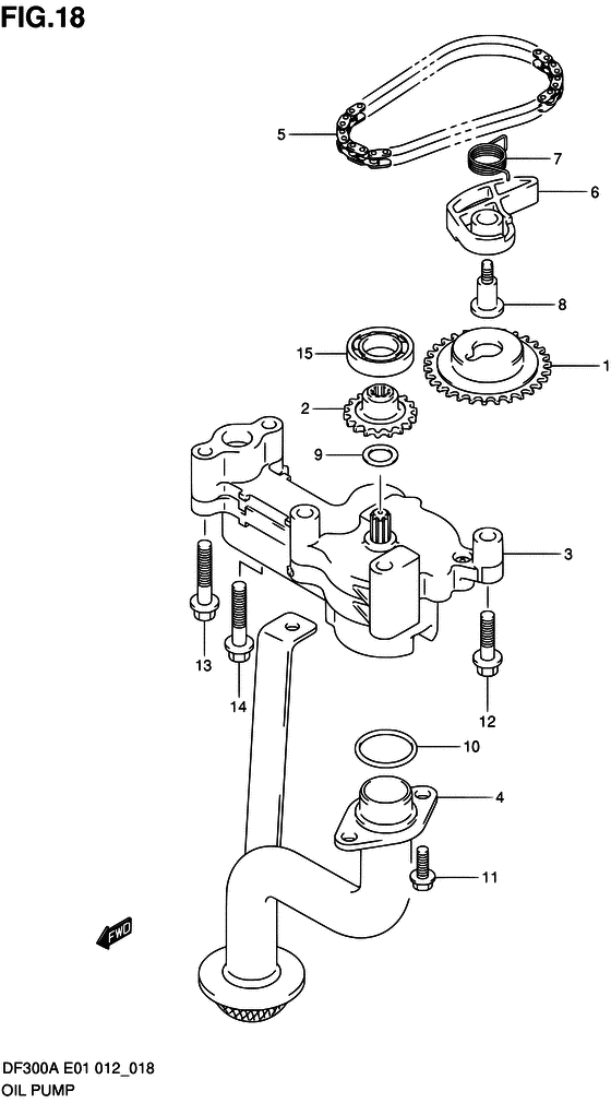
Масляный насос  
Код модели двигателя: DF300APX/XX  
Год выпуска двигателя: 2012  
Регион: General Export No.1/Costa Rica  ,Код региона:  P01/P40  
Цвет: Shadow Black Metallic 
 
 
Номер на   рисунке | Артикул | Наименование | QTY | Кол-во   на складе | Цена |  
| 1 | 12632-93J11-000 | Звездочка привода масляного насоса - Sprocket, Oil Pump Drive (Sprocket, Oil Pump Drive)  |  | под заказ | 5000 руб. |  
| 2 | 16113-93J10-000 | Звездочка привода масляного насосаn - Sprocket, Oil Pump Driven (Sprocket, Oil Pump Driven)  |  | под заказ | 3120 руб. |  
| 3 | 16400-93J02-000 | Масляный насос в сборе - Pump Assy, Oil (Pump Assy, Oil)  |  | под заказ | 20070 руб. |  
| 3 | 16400-93J20-000 |    (актуальный код замены) Масляный насос в сборе - Pump Assy, Oil  |  | под заказ | 20070 руб. |  
| 3 | 16400-93J03-000 | Масляный насос в сборе - Pump Assy, Oil (Pump Assy, Oil)  |  | под заказ | 20070 руб. |  
| 3 | 16400-93J20-000 |    (актуальный код замены) Масляный насос в сборе - Pump Assy, Oil  |  | под заказ | 20070 руб. |  
| 4 | 16520-93J00-000 | Сетчатый фильтр масляного насоса - Strainer, Oil Pump (Strainer, Oil Pump)  |  | под заказ | 4250 руб. |  
| 5 | 16760-93J00-000 | Цепь привода масляного насоса - Chain, Oil Pump Drive (Chain, Oil Pump Drive)  |  | 3 шт | 3870 руб. |  
| 6 | 16781-93J00-000 | Натяжитель цепи масляного насоса - Tensioner, Oil Pump Chain (Tensioner, Oil Pump Chain)  |  | под заказ | 2100 руб. |  
| 7 | 16782-93J00-000 | Пружина натяжителя масляного насоса - Spring, Oil Pump Tensioner (Spring, Oil Pump Tensioner)  |  | под заказ | 760 руб. |  
| 8 | 16783-93J01-000 | Болт натяжителя масляного насоса - Bolt, Oil Pump Tensioner (Bolt, Oil Pump Tensioner)  |  | под заказ | 490 руб. |  
| 9 | 09181-12158-000 | Регулировочная шайба (12x20x0.5) - Shim (12x20x05) (Washer (12x20x0.5) ) (Shim (12x20x0.5))  |  | под заказ | 170 руб. |  
| 10 | 09280-22020-000 | Уплотнительное кольцо (d: 2.4, Id: 21.8) - O Ring (d:24, Id:218) (O ring (d:2.4, id:21.8) ) (O Ring (d:2.4, Id:21.8))  |  | 10 шт | 260 руб. |  
| 11 | 01550-0616A-000 | Болт - Bolt (Bolt)  |  | под заказ | 150 руб. |  
| 12 | 01550-0845A-000 | Болт - Bolt (Bolt, oil pump (s) ) (Bolt)  |  | под заказ | 230 руб. |  
| 13 | 01550-0865A-000 | Болт - Bolt (Bolt, oil pump (l) ) (Bolt)  |  | под заказ | 260 руб. |  
| 14 | 01550-0885A-000 | Болт - Bolt (Bolt)  |  | под заказ | 260 руб. |  
| 15 | 08110-60020-000 |    Подшипник - Bearing (Bearing ) (Bearing)  |  | 9 шт | 1490 руб. |  
| 15 | SK08110-60020 |    (не оригинальный аналог) Подшипник торсионного вала Skipper для Suzuki DT9.9-15, DF9.9-300, DF8A-350A  |  | 1 шт | 424 руб. |  
| 15 | 08110-60020 |    (не оригинальный аналог) Подшипник ведущего вала редуктора Suzuki 08110-60020  |  | под заказ | 700 руб. |  
 
 
 Время выполнения запроса 1.8429579734802 сек.     | 
     |