| |
 |
|
 |
Вернуться к выбору узлов мотора
ДЕТАЛИРОВКА ДЛЯ МОДЕЛИ: SUZUKI DF300AP FROM 30002P-310001~ (E01,E40)
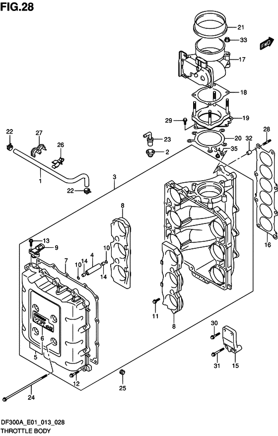
Дроссель газа
Код модели двигателя: DF300APX/XX
Год выпуска двигателя: 2013
Регион: General Export No.1/Costa Rica ,Код региона: P01/P40
Цвет: Shadow Black Metallic
Номер на рисунке | Артикул | Наименование | QTY | Кол-во на складе | Цена |
| 1 | 11193-98J00-000 | Шланг, Pcv - Hose, Pcv (Hose, Pcv) | | под заказ | 1540 руб. |
| 1 | 11193-98J01-000 | (актуальный код замены) Шланг, Pcv - Hose, Pcv | | под заказ | 1540 руб. |
| 2 | 11198-58B00-000 | Сальник клапана PCV - Seal, Pcv Valve (Seal, pcv valve ) (Seal, Pcv Valve) | | под заказ | 460 руб. |
| 3 | 13100-98J01-000 | Коллектор в сборе - Collector Assy (Collector Assy) | | под заказ | 237120 руб. |
| 3 | 13100-98J03-000 | (актуальный код замены) Коллектор в сборе - Collector Assy | | под заказ | 237120 руб. |
| 4 | 13137-98J00-000 | Проставка коллектора - Spacer, Collector (Spacer, Collector) | | под заказ | 3480 руб. |
| 5 | 13140-98J01-000 | Крышка коллектора - Cover, Collector (Cover, Collector) | | под заказ | 59040 руб. |
| 5 | 13140-98J02-000 | (актуальный код замены) Крышка коллектора - Cover, Collector | | под заказ | 59040 руб. |
| 6 | 61436-98J00-000 | Маркировка, Эмблема V6 (4.0l) - Mark, Emblem V6 (40l) (Mark, Emblem V6 (4.0l)) | | под заказ | 4400 руб. |
| 6 | 61436-98J01-000 | (актуальный код замены) Маркировка, Эмблема V6 (4.0l) - Mark, Emblem V6 (4.0l) | | под заказ | 4400 руб. |
| 7 | 13147-98J00-000 | Прокладка крышки коллектора - Gasket, Collector Cover (Gasket, Collector Cover) | | под заказ | 7590 руб. |
| 8 | 13180-98J00-000 | Воронка воздушного коллектора - Funnel, Air Collector (Funnel, Air Collector) | | под заказ | 8500 руб. |
| 8 | 13180-98J01-000 | (актуальный код замены) Воронка воздушного коллектора - Funnel, Air Collector | | под заказ | 8500 руб. |
| 9 | 18590-68H00-000 | Датчик давления - Sensor, Pressure (Sensor, pressure ) (Sensor, Pressure) | | 1 шт | 28560 руб. |
| 10 | 09280-10009-000 | Уплотнительное кольцо (d: 1.3, Id: 9.8) - O Ring (d:13, Id:98) (O Ring (d:1.3, Id:9.8)) | | 9 шт | 150 руб. |
| 11 | 01550-08167-000 | Болт - Bolt (Bolt (8x16) ) (Bolt) | | 8 шт | 210 руб. |
| 12 | 01550-08357-000 | Болт - Bolt (Bolt) | | под заказ | 260 руб. |
| 13 | 02162-05207-000 | Винт - Screw (Screw) | | под заказ | 150 руб. |
| 14 | 04211-11129-000 | Штифт - Pin (Pin) | | 14 шт | 150 руб. |
| 15 | 13134-98J00-000 | Кронштейн, Коллектор - Bracket, Collector (Bracket, Collector) | | под заказ | 4900 руб. |
| 16 | 13139-98J00-000 | Прокладка, Коллектор - Gasket, Collector (Gasket, Collector) | | под заказ | 3220 руб. |
| 16 | 13139-98J01-000 | (актуальный код замены) Прокладка, Коллектор - Gasket, Collector | | под заказ | 3220 руб. |
| 17 | 13310-98J00-000 | Корпус дросселя - Body Assy, Throttle (Body Assy, Throttle) | | под заказ | 83040 руб. |
| 17 | 13310-98J01-000 | (актуальный код замены) Корпус дросселя - Body Assy, Throttle | | под заказ | 83040 руб. |
| 18 | 13343-98J10-000 | Прокладка корпуса дросселя - Gasket, Throttle Body (Gasket, Throttle Body) | | под заказ | 5000 руб. |
| 19 | 13315-98J00-000 | Демфер корпуса дросселя - Damper, Throttle Body (Damper, Throttle Body) | | под заказ | 15320 руб. |
| 19 | 13315-98J01-000 | (актуальный код замены) Демфер корпуса дросселя - Damper, Throttle Body | | под заказ | 15320 руб. |
| 20 | 13421-98J00-000 | Прокладка корпуса дросселя - Gasket, Throttle Body (Gasket, Throttle Body) | | под заказ | 990 руб. |
| 20 | 13421-98L00-000 | (актуальный код замены) Прокладка корпуса дросселя - Gasket, Throttle Body | | 1 шт | 990 руб. |
| 21 | 13813-98J00-000 | Пыльник, Дроссель газа - Grommet, Throttle Body (Grommet, Throttle Body) | | под заказ | 1200 руб. |
| 21 | 13813-98J01-000 | (актуальный код замены) Пыльник, Дроссель газа - Grommet, Throttle Body | | под заказ | 1200 руб. |
| 22 | 09401-13423-000 | Зажим - Clip (Clip) | | 10 шт | 230 руб. |
| 23 | 18118-93J00-000 | Клапан PCV (система принудительной вентиляции картерных газов) - Valve, Pcv (Valve, Pcv) | | под заказ | 1970 руб. |
| 24 | 09103-08370-000 | Болт (8x250) - Bolt (8x250) (Bolt, collector l ) (Bolt (8x250)) | | под заказ | 980 руб. |
| 25 | 09320-08076-000 | Пыльник - Grommet (Grommet, guide air ) (Grommet) | | под заказ | 440 руб. |
| 25 | 09320-08517-000 | (актуальный код замены) Подушка, Держатель кабеля - Cushion, Cable Holder | | под заказ | 440 руб. |
| 26 | 09403-13310-000 | Струбцина - Clamp (Clamp) | | под заказ | 250 руб. |
| 27 | 09408-00155-000 | Струбцина - Clamp (Clamp) | | под заказ | 260 руб. |
| 28 | 01421-08357-000 | Болт под шпильку - Bolt, Stud (Bolt, Stud) | | под заказ | 330 руб. |
| 29 | 01550-08167-000 | Болт - Bolt (Bolt (8x16) ) (Bolt) | | 8 шт | 210 руб. |
| 30 | 01550-08357-000 | Болт - Bolt (Bolt) | | под заказ | 260 руб. |
| 31 | 01550-08607-000 | Болт - Bolt (Bolt, throttle body ) (Bolt) | | под заказ | 290 руб. |
| 32 | 04211-11129-000 | Штифт - Pin (Pin) | | 14 шт | 150 руб. |
| 33 | 09159-08136-000 | Гайка - Nut (Nut (m8) ) (Nut) | | под заказ | 190 руб. |
| 34 | 08316-10087-000 | Гайка - Nut (Nut) | | 14 шт | 170 руб. |
| 35 | 09160-08161-000 | Шайба (8.2x23x3.2) - Washer (82x23x32) (Washer (8.2x23x3.2)) | | под заказ | 440 руб. |
Время выполнения запроса 2.8429698944092 сек. |
|