Подобрать оригинальные запчасти на лодочный мотор Suzuki DF300APX/XX модель 2014 года - Clutch shaft
вконтакте

Контактный телефон: +7 (981) 121-46-93, +7 (800) 200-90-76 , Email: parts-katalog@yandex.ru, где купить

 
 

  Логин:

Пароль:

Регистрация

www.partskatalog.ru Все каталоги Запчасти Mercury Запчасти Suzuki Запчасти Tohatsu Запчасти Honda Контакты

назад Раздел:   вперёд

Вернуться к выбору узлов мотора


ДЕТАЛИРОВКА ДЛЯ МОДЕЛИ: SUZUKI DF300AP FROM 30002P-410001~ (E01,E40)

Сцепление Вал


Код модели двигателя: DF300APX/XX

Год выпуска двигателя: 2014

Регион: General Export No.1/Costa Rica ,Код региона: P01/P40

Цвет: Shadow Black Metallic

Номер на
рисунке
АртикулНаименованиеQTYКол-во
на складе
Цена
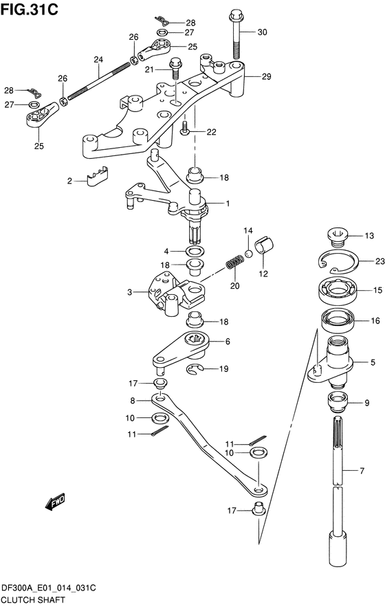
121110-98J00-000

Рычаг сцепления - Lever Comp, Clutch (UP TO VIN.410092) (Lever Comp, Clutch)

под заказ11720 руб.
121110-98J02-000

   (актуальный код замены) Рычаг сцепления - Lever Comp, Clutch

под заказ11720 руб.
121110-98J02-000

Рычаг сцепления - Lever Comp, Clutch (Lever Comp, Clutch)

под заказ11720 руб.
121110-98J01-000

Запчасть снята с производства - The Spare Part Is Laid Off (FROM VIN.410093 UP TO VIN.410347 DISCONTINUED ORDER 21110-98J00 & 38890-98J10) (The Spare Part Is Laid Off)

под заказ0 руб.
221131-93J00-000

Втулка рычага сцепления - Bush, Clutch Lever (Bush, Clutch Lever)

30 шт250 руб.
321151-93J00-000

Держатель рычага сцепления - Holder, Clutch Lever (Holder, Clutch Lever)

под заказ3700 руб.
409160-10148-000

Шайба (10x20x3) - Washer (10x20x3) (Washer, clutch shaft ) (Washer (10x20x3))

под заказ230 руб.
521210-98J01-000

Сцепление Вал - Shaft, Clutch (Shaft, Clutch)

под заказ6050 руб.
621230-98J01-000

Крышка вала сцепления - Arm, Clutch Shaft (Arm, Clutch Shaft)

под заказ3940 руб.
723111-93J00-000

Тяга сцепления - Rod, Clutch (Rod, clutch (x) ) (Rod, Clutch)

под заказ7590 руб.
823115-98J00-000

Тяга рычага сцепления - Link, Clutch Lever (Link, Clutch Lever)

под заказ1680 руб.
925223-94400-000

Пыльник переключающеё тяги - Seal, Shift Rod Dust (Seal, Shift Rod Dust)

под заказ550 руб.
925223-96J00-000

   (актуальный код замены) Сальник тяги сцепления - Seal, Clutch Rod

75 шт630 руб.
1009160-06094-000

Шайба (6.5x15x1.0) - Washer (65x15x10) (Washer (6.5x15x1.5) ) (Washer (6.5x15x1.0))

5 шт120 руб.
1109204-01006-000

Штифт - Pin (Pin, cotter ) (Pin)

14 шт150 руб.
1209205-10006-000

Стопор пружины (10.2x10) - Pin, Spring (102x10) (Pin, clutch notch spring ) (Pin, Spring (10.2x10))

под заказ390 руб.
1309248-12011-000

Заглушка (12x9) - Plug (12x9) (Plug (12x9))

под заказ430 руб.
1409260-10005-000

Шарик - Ball (Steel ball ) (Ball)

4 шт210 руб.
1509262-17019-000

Подшипник (17x35x8) - Bearing (17x35x8) (Bearing, clutch shaft ) (Bearing (17x35x8))

11 шт2120 руб.
1516003NTN

   (подбор по маркировке) Подшипник NTN 16003(17*35*8 мм)

под заказ190 руб.
1609289-18001-000

Сальник (18x30x8) - Seal, Oil (18x30x8) (Seal, Oil (18x30x8))

4 шт1830 руб.
1709306-06005-000

Втулка - Bush (Bush)

под заказ320 руб.
1809306-10001-000

Втулка - Bush (Bush, clutch lever ) (Bush)

10 шт360 руб.
1909383-08004-000

Уплотнительное кольцо - E Ring (E Ring)

10 шт100 руб.
2009440-07051-000

Пружина - Spring (Spring)

под заказ160 руб.
2101550-06207-000

Болт - Bolt (Bolt)

17 шт220 руб.
2202142-05107-000

Винт - Screw (Screw, shift plate ) (Screw)

под заказ90 руб.
2308331-41359-000

Стопорное кольцо - Circlip (Circlip)

7 шт200 руб.
2421241-98J00-000

Тяга рычага сцепления №2 - Link, Clutch Lever No2 (UP TO VIN.410347 ) (Link, Clutch Lever No.2)

под заказ830 руб.
2421241-98J10-000

Тяга рычага сцепления №2 - Link, Clutch Lever No2 (FROM VIN.410348 ) (Link, Clutch Lever No.2)

под заказ930 руб.
2567467-89J01-000

Коннектор - Connector (FROM VIN.410348 ) (Connector)

72 шт850 руб.
2567467-89J10-000

Коннектор кабеля дистанционного управления №2 - Connector, Remocon Cable No2 (FROM VIN.410348 ) (Connector, Remocon Cable No.2)

под заказ770 руб.
2667471-99E00-000

Гайка кабеля дистанционного управления - Nut, Remocon Cable (Nut, connector # UP TO VIN.410347 ) (Nut, Remocon Cable)

под заказ320 руб.
2667471-99E10-000

Гайка кабеля дистанционного управления №2 - Nut, Remocon Cable No2 (FROM VIN.410348 ) (Nut, Remocon Cable No.2)

под заказ530 руб.
2709160-06055-000

Шайба (7x12x1) - Washer (7x12x1) (Washer (7x12x1.0) ) (Washer (7x12x1))

67 шт130 руб.
2809385-06012-000

Зажим - Clip (Clip)

134 шт150 руб.
2919115-98J10-000

Держатель рычага сцепления - Holder, Clutch Lever (Holder, Clutch Lever)

под заказ11430 руб.
3001550-08557-000

Болт - Bolt (Bolt)

под заказ260 руб.


Время выполнения запроса 2.8818008899689 сек.

 
 

данный сайт носит информационный характер и не является публичной офертой

склад запчастей для водомоторной техники