| |
 |
|
 |
Вернуться к выбору узлов мотора
ДЕТАЛИРОВКА ДЛЯ МОДЕЛИ: SUZUKI DF300TK7(E1) K7
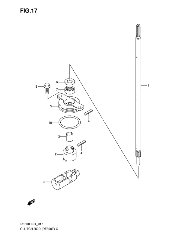
Тяга сцепления
Год выпуска двигателя: 2007
Номер на рисунке | Артикул | Наименование | QTY | Кол-во на складе | Цена |
| 1 | 25111-98J00-000 | Переключающая тяга (x) - Rod, Shift (x) (Rod, shift (x); ) (Rod, Shift (x)) | | под заказ | 9410 руб. |
| 1 | 25111-98J10-000 | Переключающая тяга (xx) - Rod, Shift (xx) (Rod, shift (xx); ) (Rod, Shift (xx)) | | под заказ | 13680 руб. |
| 2 | 25131-98J00-000 | Хомут рычага переключения - Yoke, Shifter (Yoke, Shifter) | | под заказ | 12870 руб. |
| 3 | 25232-90J00-000 | Индуктор картера коробки передач - Magneto, Gear Case (Magneto, Gear Case) | | 2 шт | 570 руб. |
| 4 | 09205-04002-000 | Стопор пружины (4x20) - Pin, Spring (4x20) (Pin, clutch lever ) (Pin, Spring (4x20)) | | 48 шт | 150 руб. |
| 5 | 25141-98J00-000 | Корпус направляющей переключающей тяги - Housing, Shift Rod Guide (Housing, Shift Rod Guide) | | под заказ | 1630 руб. |
| 5 | 25141-98J01-000 | (актуальный код замены) Корпус направляющей переключающей тяги - Housing, Shift Rod Guide | | под заказ | 1630 руб. |
| 6 | 25222-90J00-000 | Крышка направляющей корпуса сальника - Cover, Shift Guide Hsg Oil Seal (Cover, oil seal ) (Cover, Shift Guide Hsg Oil Seal) | | под заказ | 190 руб. |
| 6 | 25222-90J01-000 | (актуальный код замены) Крышка корпуса сальника направляющей вала - Cover, Sft Guide Hsg Oil Seal | | 4 шт | 290 руб. |
| 7 | 09283-10011-000 | Сальник (10x22x8) - Seal, Oil (10x22x8) (Seal, dust # Seal, shift rod guide hsg dust; ) (Seal, Oil (10x22x8)) | | 22 шт | 540 руб. |
| 7 | SK09283-10011 | (не оригинальный аналог) Сальник вала переключения передач Skipper для Suzuki Модели техники: DF90-300HP | | 0 шт | 142 руб. |
| 8 | 25321-98J00-000 | Ползунок, сдвиг по горизонтали - Slider, Shift Horizontal (Slider, Shift Horizontal) | | под заказ | 13780 руб. |
| 9 | 29116-93J00-000 | Болт - Bolt (Bolt, shift rod housing; ) (Bolt) | | 10 шт | 250 руб. |
| 10 | 09280-40016-000 | Уплотнительное кольцо (d: 3.5, Id: 39.7) - O Ring (d:35, Id:397) (O Ring (d:3.5, Id:39.7)) | | под заказ | 440 руб. |
| 10 | 09280-40019-000 | (актуальный код замены) Уплотнительное кольцо (d: 3.5, Id: 39.7) - O Ring (d:3.5, Id:39.7) | | под заказ | 440 руб. |
| 10 | SK09280-40016 | (не оригинальный аналог) Кольцо уплотнительное тяги переключения передач Skipper для Suzuki Модели техники: DF200-300 | | 0 шт | 80 руб. |
Время выполнения запроса 0.91030693054199 сек. |
|