Найти запчасти на подвесной лодочный мотор Suzuki модель 2008 года - Water pump - Водяной насос
вконтакте

Контактный телефон: +7 (981) 121-46-93, +7 (800) 200-90-76 , Email: parts-katalog@yandex.ru, где купить

 
 

  Логин:

Пароль:

Регистрация

www.partskatalog.ru Все каталоги Запчасти Mercury Запчасти Suzuki Запчасти Tohatsu Запчасти Honda Контакты

назад Раздел:   вперёд

Вернуться к выбору узлов мотора


ДЕТАЛИРОВКА ДЛЯ МОДЕЛИ: SUZUKI DF300TK8(E1) K8

Водяной насос


Год выпуска двигателя: 2008

Номер на
рисунке
АртикулНаименованиеQTYКол-во
на складе
Цена
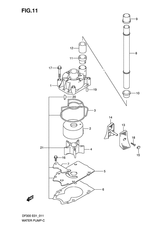
117410-93J00-000

Корпус водяного насоса - Case, Water Pump (Case, Water Pump)

под заказ7250 руб.
117410-93J01-000

   (актуальный код замены) Корпус водяного насоса - Case, Water Pump

1 шт7860 руб.
117410-93J01-000

Корпус водяного насоса - Case, Water Pump (Case, Water Pump)

1 шт7860 руб.
217413-93J02-000

Рукав корпуса водяной помпы - Sleeve, Water Pump Case (Sleeve, Water Pump Case)

7 шт2660 руб.
2SK17413-93J02

   (не оригинальный аналог) Стакан крыльчатки помпы охлаждения Skipper для Suzuki DF200-350

0 шт913 руб.
217413-93J12-000

Рукав корпуса водяной помпы - Sleeve, Water Pump Case (E40 ) (Sleeve, Water Pump Case)

под заказ7830 руб.
317416-93J00-000

Сальник корпуса водяного насоса - Sealing, Water Pump Case (Sealing, Water Pump Case)

под заказ790 руб.
317416-93J01-000

   (актуальный код замены) Сальник корпуса водяного насоса - Seal, Water Pump Case

3 шт960 руб.
3SK17416-93J00

   (не оригинальный аналог) Прокладка корпуса помпы Skipper для Suzuki Модели техники: DF200-300

0 шт339 руб.
417461-93J00-000

Крыльчатка водяного насоса - Impeller, Water Pump (Impeller, Water Pump)

1 шт4900 руб.
417461-93J01-000

   (актуальный код замены) Крыльчатка водяного насоса - Impeller, Water Pump

18 шт4900 руб.
4SK17461-93J00

   (не оригинальный аналог) Крыльчатка Standard Skipper для Suzuki DF200-300, DF250A-350A

0 шт956 руб.
4SC-WT169

   (не оригинальный аналог) Крыльчатка помпы охлаждения двигателя Suzuki SC-WT169

под заказ1580 руб.
517471-98J01-000

Панель в нижней части корпуса помпы - Panel, Pump Case Under (Panel, Pump Case Under)

под заказ1600 руб.
517471-98J02-000

   (актуальный код замены) Панель в нижней части корпуса помпы - Panel, Pump Case Under

2 шт1600 руб.
517471-98J11-000

Панель в нижней части корпуса помпы - Panel, Pump Case Under (E40 ) (Panel, Pump Case Under)

под заказ8210 руб.
617472-98J00-000

Прокладка панели корпуса помпы - Gasket, Pump Case Panel (Gasket, Pump Case Panel)

3 шт1050 руб.
717473-98J00-000

Панель водяного насоса №2 - Panel, Water Pump No2 (Panel, Water Pump No.2)

под заказ830 руб.
817561-93J03-000

Водяная трубка (x) - Tube, Water (x) (Tube, water (x); ) (Tube, Water (x))

под заказ4080 руб.
817561-93J13-000

Водяная трубка (xx) - Tube, Water (xx) (Tube, water (xx); ) (Tube, Water (xx))

под заказ5620 руб.
917562-93J00-000

Верхняя втулка трубки водяного насоса - Bush, Water Tube Upper (Bush, Water Tube Upper)

под заказ370 руб.
917562-93J01-000

   (актуальный код замены) Верхняя втулка трубки водяного насоса - Bush, Water Tube Upper

под заказ370 руб.
917562-93J01-000

Верхняя втулка трубки водяного насоса - Bush, Water Tube Upper (Bush, Water Tube Upper)

под заказ370 руб.
1017563-93J00-000

Втулка, Водяная трубка Lwr - Bush, Water Tube Lwr (Bush, Water Tube Lwr)

под заказ370 руб.
1017563-93J01-000

   (актуальный код замены) Нижняя втулка трубки водяного насоса - Bush, Water Tube Lower

9 шт420 руб.
1117564-93J00-000

Втулка корпуса водяной помпы - Bush, Water Pump Case (Bush, Water Pump Case)

1 шт480 руб.
1117564-93J01-000

   (актуальный код замены) Втулка корпуса водяной помпы - Bush, Water Pump Case

16 шт480 руб.
1217612-93J00-000

Прокладка водяной трубки - Spacer, Water Tube (Spacer, Water Tube)

под заказ520 руб.
1317631-98J00-000

Водяной фильтр с левой стороны - Filter, Water Port Side (Filter, Water Port Side)

2 шт1170 руб.
1417632-98J00-000

Водяной фильтр с правой стороны - Filter, Water Stbd Side (Filter, Water Stbd Side)

2 шт1170 руб.
1517633-98J00-000

Колпачок, Water Фильтр - Cap, Water Filter (Cap, Water Filter)

под заказ550 руб.
1629116-93J00-000

Болт - Bolt (Bolt, pump case panel; ) (Bolt)

10 шт250 руб.
1709116-08131-000

Болт (8x45) - Bolt (8x45) (Bolt, case; ) (Bolt (8x45))

20 шт500 руб.
1809132-04034-000

Винт (4x18) - Screw (4x18) (Screw, filter tapping; ) (Screw (4x18))

20 шт170 руб.
1909202-06031-000

Штифт (6x12) - Pin (6x12) (Pin, knock # Pin, knock; ) (Pin (6x12))

20 шт220 руб.
2009420-05009-000

Ключ - Key (Key, impeller; ) (Key)

8 шт760 руб.
20SK09420-05009

   (не оригинальный аналог) Шпонка крыльчатки помпы охлаждения Skipper для Suzuki DF90-300

0 шт167 руб.
2117400-98J01-000

Ремкомплект водяного насоса - Kit, Water Pump Repair (Opt ) (Kit, Water Pump Repair)

8 шт6070 руб.
2117400-98J06-000

   (актуальный код замены) Ремкомплект водяного насоса - Kit, Water Pump Repair

6 шт6070 руб.
21SK17400-98J01

   (не оригинальный аналог) Ремкомплект помпы Standard Skipper для Suzuki DF200-250, DF250A-300A

0 шт3899 руб.


Время выполнения запроса 1.4342730045319 сек.

 
 

данный сайт носит информационный характер и не является публичной офертой

склад запчастей для водомоторной техники