| |
 |
|
 |
Вернуться к выбору узлов мотора
ДЕТАЛИРОВКА ДЛЯ МОДЕЛИ: SUZUKI DF300TK9(E1) K9
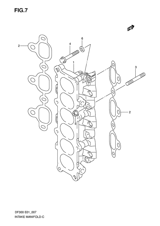
Впускной коллектор
Год выпуска двигателя: 2009
Номер на рисунке | Артикул | Наименование | QTY | Кол-во на складе | Цена |
| 1 | 13110-98J10-000 | Впускной коллектор - Manifold, Intake (Manifold, Intake) | | под заказ | 52320 руб. |
| 2 | 13119-98J00-000 | Прокладка впускного коллектора - Gasket, Intake Manifold (Gasket, Intake Manifold) | | под заказ | 990 руб. |
| 3 | 09108-08282-000 | Болт под шпильку - Bolt, Stud (Bolt, Stud) | | под заказ | 640 руб. |
| 4 | 09103-08437-000 | Болт (8x65) - Bolt (8x65) (Bolt (8x65) ) (Bolt (8x65)) | | под заказ | 610 руб. |
| 5 | 09159-08136-000 | Гайка - Nut (Nut (m8) ) (Nut) | | под заказ | 190 руб. |
| 6 | 09160-08161-000 | Шайба (8.2x23x3.2) - Washer (82x23x32) (Washer (8.2x23x3.2)) | | под заказ | 440 руб. |
Время выполнения запроса 0.90854787826538 сек. |
|