Оригинальные запчасти на лодочный мотор Suzuki модель 1978 года - Magneto - Магнето
вконтакте

Контактный телефон: +7 (981) 121-46-93, +7 (800) 200-90-76 , Email: parts-katalog@yandex.ru, где купить

 
 

  Логин:

Пароль:

Регистрация

www.partskatalog.ru Все каталоги Запчасти Mercury Запчасти Suzuki Запчасти Tohatsu Запчасти Honda Контакты



УВАЖАЕМЫЕ КЛИЕНТЫ!
C 19 ДЕКАБРЯ 2025 ПО 02 МАРТА 2026 ГОДА ОТДЕЛ ЗАПЧАСТЕЙ И СЕРВИС РАБОТАТЬ НЕ БУДУТ
ПРОДАЖА ЛОДОЧНЫХ МОТОРОВ В ШТАТНОМ РЕЖИМЕ
ОБ ИЗМЕНЕНИЯХ В ГРАФИКЕ РАБОТЫ ЧИТАЙТЕ НА САЙТА



назад Раздел:   вперёд

Вернуться к выбору узлов мотора


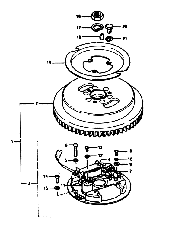
ДЕТАЛИРОВКА ДЛЯ МОДЕЛИ: SUZUKI DT2 D

Магнето


Год выпуска двигателя: 1978

Цвет: Andres Blue MetallicFrancois White №2

Номер на
рисунке
АртикулНаименованиеQTYКол-во
на складе
Цена
132100-98300-000

под заказ0 руб.
232102-98310-000

Запчасть снята с производства - The Spare Part Is Laid Off (FROM 32102-98300) (The Spare Part Is Laid Off)

под заказ0 руб.
332101-98301-000

Запчасть снята с производства - The Spare Part Is Laid Off (FROM 32101-98300) (The Spare Part Is Laid Off)

под заказ0 руб.
332101-98303-000

   (актуальный код замены) Запчасть снята с производства - The Spare Part Is Laid Off

под заказ0 руб.
432140-98300-000

Запчасть снята с производства - The Spare Part Is Laid Off (The Spare Part Is Laid Off)

под заказ0 руб.
508321-21058-000

Шайба с блокировкой - Washer, Lock (Washer, Lock)

под заказ140 руб.
508321-0105A-000

   (актуальный код замены) Шайба с блокировкой - Washer, Lock

под заказ140 руб.
508321-0105A-000

Шайба с блокировкой - Washer, Lock (Washer, Lock)

под заказ140 руб.
602112-05258-000

Винт - Screw (Screw)

под заказ120 руб.
602112-05257-000

   (актуальный код замены) Винт - Screw

под заказ120 руб.
602112-05257-000

Винт - Screw (Screw)

под заказ120 руб.
732240-98034-000

Point в сборе, Contact - Point Assy, Contact (Point assy, contact ) (Point Assy, Contact)

под заказ0 руб.
802311-04108-000

Винт - Screw (Screw)

под заказ100 руб.
802112-0410A-000

   (актуальный код замены) Винт - Screw

под заказ100 руб.
802112-0410A-000

Винт - Screw (Screw)

под заказ100 руб.
908322-21048-000

Шайба - Washer (Washer)

под заказ140 руб.
908322-01047-000

   (актуальный код замены) Шайба - Washer

под заказ140 руб.
908322-01047-000

Шайба - Washer (Washer)

под заказ140 руб.
1008321-21048-000

Шайба с блокировкой - Washer, Lock (Washer, Lock)

под заказ140 руб.
1008321-0104A-000

   (актуальный код замены) Шайба с блокировкой - Washer, Lock

под заказ140 руб.
1008321-0104A-000

Шайба с блокировкой - Washer, Lock (Washer, Lock)

под заказ140 руб.
1132341-98030-000

Condenser в сборе - Condenser Assy (Condenser Assy)

под заказ0 руб.
1208321-21038-000

Шайба с блокировкой - Washer, Lock (Washer, Lock)

под заказ110 руб.
1208321-2103B-000

   (актуальный код замены) Шайба с блокировкой - Washer, Lock

под заказ110 руб.
1208321-2103B-000

Шайба с блокировкой - Washer, Lock (Washer, Lock)

под заказ110 руб.
1302112-03088-000

Винт - Screw (Screw)

под заказ130 руб.
1302112-0308A-000

   (актуальный код замены) Винт - Screw

под заказ130 руб.
1302112-0308A-000

Винт - Screw (Screw)

под заказ130 руб.
1402112-05128-000

Винт - Screw (Screw)

под заказ150 руб.
1402112-05127-000

   (актуальный код замены) Винт - Screw

31 шт150 руб.
1402112-05127-000

Винт - Screw (Screw, vacuum sw valve ) (Screw)

31 шт150 руб.
1508322-21058-000

Шайба - Washer (Washer)

под заказ140 руб.
1508322-01057-000

   (актуальный код замены) Шайба - Washer

под заказ140 руб.
1508322-01057-000

Шайба - Washer (Washer, front hook holder ) (Washer)

под заказ140 руб.
1608310-12108-000

Гайка - Nut (Nut)

под заказ170 руб.
1608310-00107-000

   (актуальный код замены) Гайка - Nut

под заказ170 руб.
1608310-00107-000

Гайка - Nut (Nut)

под заказ170 руб.
1708321-31108-000

Шайба с блокировкой - Washer, Lock (Washer, Lock)

под заказ140 руб.
1708321-01107-000

   (актуальный код замены) Шайба с блокировкой - Washer, Lock

9 шт140 руб.
1708321-01107-000

Шайба с блокировкой - Washer, Lock (Lock washer ) (Washer, Lock)

9 шт140 руб.
1808341-31039-000

Ключ - Key (Key)

86 шт180 руб.
1918411-98300-000

Запчасть снята с производства - The Spare Part Is Laid Off (The Spare Part Is Laid Off)

под заказ0 руб.
2001107-06128-000

Болт - Bolt (Bolt)

под заказ150 руб.
2001500-06127-000

   (актуальный код замены) Болт - Bolt

под заказ150 руб.
2001500-06127-000

Болт - Bolt (Bolt)

под заказ150 руб.
2108321-21068-000

Шайба с блокировкой - Washer, Lock (Washer, Lock)

под заказ140 руб.
2108321-01067-000

   (актуальный код замены) Шайба с блокировкой - Washer, Lock

под заказ140 руб.
2108321-01067-000

Шайба с блокировкой - Washer, Lock (Washer, Lock)

под заказ140 руб.


Время выполнения запроса 2.6408200263977 сек.

 
 

данный сайт носит информационный характер и не является публичной офертой

склад запчастей для водомоторной техники