Подобрать запчасти на подвесной двигатель Suzuki модель 1982 года - Водяной насос
вконтакте

Контактный телефон: +7 (981) 121-46-93, +7 (800) 200-90-76 , Email: parts-katalog@yandex.ru, где купить

 
 

  Логин:

Пароль:

Регистрация

www.partskatalog.ru Все каталоги Запчасти Mercury Запчасти Suzuki Запчасти Tohatsu Запчасти Honda Контакты

назад Раздел:   вперёд

Вернуться к выбору узлов мотора


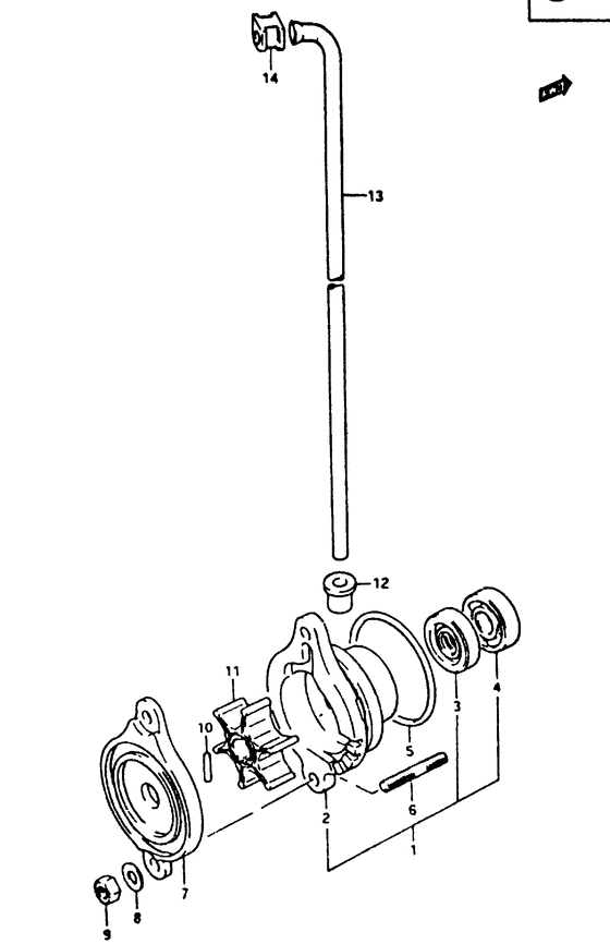
ДЕТАЛИРОВКА ДЛЯ МОДЕЛИ: SUZUKI DT2VZ(G/J/VZ) Z

Водяной насос


Год выпуска двигателя: 1982

Регион: General Export No.1

Цвет: Andres Blue MetallicFrancois White №2

Номер на
рисунке
АртикулНаименованиеQTYКол-во
на складе
Цена
117410-98400-01J

Корпус водяного насоса - Case, Water Pump (Case, Water Pump)

под заказ0 руб.
117410-98403-0ED

   (актуальный код замены) Запчасть снята с производства - The Spare Part Is Laid Off

под заказ0 руб.
117410-98403-0ED

Корпус водяного насоса - Case, Water Pump (Case, Water Pump)

под заказ0 руб.
217411-98400-01J

Корпус водяного насоса - Case, Water Pump (To 17410-98400-01j, model g) (Case, Water Pump)

под заказ0 руб.
217410-98403-0ED

   (актуальный код замены) Запчасть снята с производства - The Spare Part Is Laid Off

под заказ0 руб.
217410-98403-0ED

Корпус водяного насоса - Case, Water Pump (Case, Water Pump)

под заказ0 руб.
309289-10003-000

Сальник (10x26x9) - Seal, Oil (10x26x9) (10x26x8) (Seal, Oil (10x26x9))

под заказ830 руб.
309289-10005-000

   (актуальный код замены) Сальник (10x26x9) - Seal, Oil (10x26x9)

31 шт830 руб.
309289-10005-000

Сальник (10x26x9) - Seal, Oil (10x26x9) (Oil seal (10x26x8) ) (Seal, Oil (10x26x9))

31 шт830 руб.
408113-60000-000

Подшипник (10x26x8) - Bearing (10x26x8) (Bearing (10x26x8))

под заказ1340 руб.
409262-10015-000

   (актуальный код замены) Подшипник (10x26x8) - Bearing (10x26x8)

под заказ1340 руб.
409262-10015-000

Подшипник (10x26x8) - Bearing (10x26x8) (Bearing ) (Bearing (10x26x8))

под заказ1340 руб.
509280-48002-000

Уплотнительное кольцо (d: 2.6, Id: 47.4) - O Ring (d:26, Id:474) (O ring, water pump case; Id:47.4, d:2.6 ) (O Ring (d:2.6, Id:47.4))

4 шт270 руб.
609108-06032-000

Болт под шпильку - Bolt, Stud (Bolt, Stud)

под заказ380 руб.
609108-06063-000

   (актуальный код замены) Болт под шпильку - Bolt, Stud

под заказ380 руб.
609108-06063-000

Болт под шпильку - Bolt, Stud (Stud bolt (6x20) ) (Bolt, Stud)

под заказ380 руб.
717471-98400-01J

Крышка помпы Case - Cover, Pump Case (Cover, Pump Case)

под заказ0 руб.
717471-98400-0ED

   (актуальный код замены) Запчасть снята с производства - The Spare Part Is Laid Off

3 шт0 руб.
717471-98400-0ED

Крышка помпы Case - Cover, Pump Case (Cover, Pump Case)

3 шт0 руб.
809160-06015-000

Шайба (6.5x13x1.0) - Washer (65x13x10) (Washer (6.5x13x1.0))

под заказ120 руб.
809160-06082-000

   (актуальный код замены) Шайба (6.5x13x1.0) - Washer (6.5x13x1.0)

6 шт150 руб.
809160-06082-000

Шайба (6.5x13x1.0) - Washer (65x13x10) (Washer (6.5x13x1.0))

6 шт150 руб.
909140-06004-000

Гайка - Nut (Nut)

под заказ150 руб.
909140-06020-000

   (актуальный код замены) Гайка - Nut

9 шт150 руб.
909140-06020-000

Гайка - Nut (Nut)

9 шт150 руб.
1009202-02006-000

Штифт (2.9x14) - Pin (29x14) (Pin, pump case impeller # Pin, pump impeller (2.9x14); ) (Pin (2.9x14))

22 шт190 руб.
1117461-98401-000

Крыльчатка водяного насоса - Impeller, Water Pump (Model g) (Impeller, Water Pump)

под заказ2030 руб.
1117461-985M0-000

   (актуальный код замены) Крыльчатка водяного насоса - Impeller, Water Pump

39 шт2220 руб.
1117461-985M0-000

Крыльчатка водяного насоса - Impeller, Water Pump (Impeller, Water Pump)

39 шт2220 руб.
1117461-98402-000

Крыльчатка водяного насоса - Impeller, Water Pump (Model j, vz, from 17461-98401) (Impeller, Water Pump)

под заказ2030 руб.
1117461-985M0-000

   (актуальный код замены) Крыльчатка водяного насоса - Impeller, Water Pump

39 шт2220 руб.
1117461-985M0-000

Крыльчатка водяного насоса - Impeller, Water Pump (Impeller, Water Pump)

39 шт2220 руб.
1209305-06007-000

Втулка - Bush (Bush)

под заказ200 руб.
1209320-06028-000

   (актуальный код замены) Втулка - Bush

7 шт200 руб.
1209320-06022-000

Втулка - Bush (Bush)

13 шт200 руб.
1209320-06028-000

   (актуальный код замены) Втулка - Bush

7 шт200 руб.
1317561-98400-000

Водяная трубка - Tube, Water (Tube, Water)

под заказ1960 руб.
1317561-98402-000

   (актуальный код замены) Водяная трубка - Tube, Water

1 шт1960 руб.
1317561-98402-000

Водяная трубка - Tube, Water (Tube, Water)

1 шт1960 руб.
1409309-06005-000

Пыльник - Grommet (Grommet, water tube; ) (Grommet)

2 шт280 руб.


Время выполнения запроса 1.3631510734558 сек.

 
 

данный сайт носит информационный характер и не является публичной офертой

склад запчастей для водомоторной техники