Оригинальные запчасти на подвесной двигатель Suzuki - Карбюратор
вконтакте

Контактный телефон: +7 (981) 121-46-93, +7 (800) 200-90-76 , Email: parts-katalog@yandex.ru, где купить

 
 

  Логин:

Пароль:

Регистрация

www.partskatalog.ru Все каталоги Запчасти Mercury Запчасти Suzuki Запчасти Tohatsu Запчасти Honda Контакты



УВАЖАЕМЫЕ КЛИЕНТЫ!
C 31 ОКТЯБРЯ 2025 ПО 10 НОЯБРЯ 2025 ГОДА РАБОТАТЬ НЕ БУДЕМ



назад Раздел:   вперёд

Вернуться к выбору узлов мотора


ДЕТАЛИРОВКА ДЛЯ МОДЕЛИ: SUZUKI DT2VG(E1) G

Карбюратор


Год выпуска двигателя: 1986

Регион: General Export No.1

Цвет: Andres Blue MetallicFrancois White №2

Номер на
рисунке
АртикулНаименованиеQTYКол-во
на складе
Цена
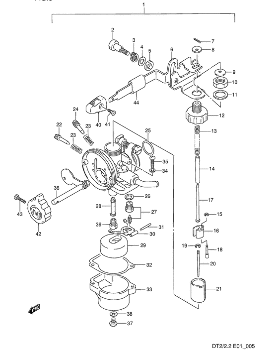
113200-984F0-000

Карбюратор в сборе - Carburetor Assy (Dt2) (Carburetor Assy)

под заказ0 руб.
113200-984F1-000

   (актуальный код замены) Запчасть снята с производства - The Spare Part Is Laid Off

под заказ0 руб.
113200-984F1-000

Карбюратор в сборе - Carburetor Assy (Carburetor Assy)

под заказ0 руб.
113200-984E0-000

Карбюратор в сборе - Carburetor Assy (E13) (Carburetor Assy)

под заказ0 руб.
113200-984F1-000

   (актуальный код замены) Запчасть снята с производства - The Spare Part Is Laid Off

под заказ0 руб.
113200-984F1-000

Карбюратор в сборе - Carburetor Assy (Carburetor Assy)

под заказ0 руб.
113200-984H0-000

Карбюратор в сборе - Carburetor Assy (Dt2.2) (Carburetor Assy)

под заказ23040 руб.
113200-984H1-000

   (актуальный код замены) Карбюратор в сборе - Carburetor Assy

под заказ23040 руб.
113200-984H1-000

Карбюратор в сборе - Carburetor Assy (Carburetor Assy)

под заказ23040 руб.
213433-98410-000

Винт - Screw (Screw)

под заказ0 руб.
313426-98410-000

Пружина - Spring (Lock washer # Spring; ) (Spring)

под заказ520 руб.
413615-98412-000

Шайба - Washer (Washer)

под заказ0 руб.
513432-33110-000

Шайба - Washer (Ring, friction # Washer; ) (Washer)

под заказ380 руб.
613564-98420-000

Рычаг дросселя - Lever, Throttle (Lever, Throttle)

под заказ1950 руб.
704111-12108-000

Штифт - Pin (Pin)

под заказ100 руб.
704111-1210A-000

   (актуальный код замены) Штифт - Pin

под заказ100 руб.
704111-1210A-000

Штифт - Pin (Pin)

под заказ100 руб.
813557-98410-000

Пластина - Plate (Plate)

под заказ0 руб.
913557-98430-000

Пластина - Plate (Plate)

под заказ0 руб.
1013567-98412-000

Гайка - Nut (Nut)

под заказ0 руб.
1113589-98411-000

Шайба - Washer (Washer)

под заказ0 руб.
1213265-98411-000

Top, Карбюратор - Top, Carburetor (Top, Carburetor)

1 шт2270 руб.
1313573-98411-000

Пружина клапана дросселя - Spring, Throttle Valve (Spring, throttle valve; ) (Spring, Throttle Valve)

под заказ480 руб.
1413552-98411-000

Трубка - Pipe (Pipe)

под заказ540 руб.
1513533-98410-000

Уплотнительное кольцо - E Ring (E Ring)

под заказ350 руб.
1613545-98410-000

Седло пружины - Seat, Spring (Seat, Spring)

под заказ870 руб.
1713552-98410-000

Тяга - Rod (Rod)

под заказ410 руб.
1813563-98410-000

Штифт - Pin (Pin)

под заказ690 руб.
1913394-40D00-000

Зажим, иголка - Clip, Needle (Clip # Clip, needle; ) (Clip, Needle)

под заказ350 руб.
2013383-98410-000

иголка, Jet - Needle, Jet (Dt2 ) (Needle, Jet)

под заказ0 руб.
2013383-98420-000

иголка, Jet - Needle, Jet (Dt2.2 ) (Needle, Jet)

под заказ1560 руб.
2113551-98430-000

Запчасть снята с производства - The Spare Part Is Laid Off (Valve, throttle (ca:1.5); Dt2) (The Spare Part Is Laid Off)

под заказ0 руб.
2113551-98411-000

Запчасть снята с производства - The Spare Part Is Laid Off (Valve, throttle (ca:1.5); Dt2, e13) (The Spare Part Is Laid Off)

под заказ0 руб.
2113551-98440-000

Клапан дросселя - Valve, Throttle (Valve, throttle (ca:2.5); Dt2.2 ) (Valve, Throttle)

под заказ0 руб.
2213267-01010-000

Винт дросселя Stop - Screw, Throttle Stop (Screw, stop # Screw, throttle stop; ) (Screw, Throttle Stop)

под заказ840 руб.
2313268-01010-000

Пружина - Spring (Spring ) (Spring)

1 шт440 руб.
2413269-01010-000

Винт контроля воздуха - Screw, Pilot Air (Screw, pilot air ) (Screw, Pilot Air)

под заказ1160 руб.
2513295-98410-000

Уплотнительное кольцо (d: 1.9, Id: 14.5) - O Ring (d:19, Id:145) (O Ring (d:1.9, Id:14.5))

под заказ320 руб.
2509280-15024-000

   (актуальный код замены) Уплотнительное кольцо (d: 1.9, Id: 14.5) - O Ring (d:1.9, Id:14.5)

под заказ320 руб.
2509280-15002-000

Уплотнительное кольцо (d: 1.9, Id: 14.5) - O Ring (d:19, Id:145) (O ring, lower crankshaft ) (O Ring (d:1.9, Id:14.5))

под заказ320 руб.
2509280-15024-000

   (актуальный код замены) Уплотнительное кольцо (d: 1.9, Id: 14.5) - O Ring (d:1.9, Id:14.5)

под заказ320 руб.
2613392-01010-000

Прокладка, Игольчатый клапан - Gasket, Needle Valve (Gasket, valve seat ) (Gasket, Needle Valve)

под заказ150 руб.
2713370-23010-000

Игольчатый клапан, в сборе - Valve Assy, Needle (Valve assy, needle # Valve, needle; ) (Valve Assy, Needle)

под заказ3820 руб.
2809494-00179-000

Игольчатый клапан - Jet, Needle (Jet, Needle)

под заказ1870 руб.
2913252-98430-000

Поплавок - Float (Float)

под заказ2130 руб.
3013253-98430-000

Рычаг - Arm (Arm)

под заказ860 руб.
3013253-98410-000

Рычаг, Поплавок - Arm, Float (Arm, float # Arm, froat; E13 ) (Arm, Float)

под заказ690 руб.
3113254-98410-000

Стопор поплавка - Pin, Float (Pin, froat; ) (Pin, Float)

под заказ240 руб.
3213251-98420-000

Прокладка поплавковой камеры - Gasket, Float Cahmber (Gasket, froat chamber;) (Gasket, Float Cahmber)

под заказ770 руб.
3213251-98421-000

   (актуальный код замены) Прокладка поплавковой камеры - Gasket, Float Cahmber

под заказ770 руб.
3213251-98421-000

Прокладка поплавковой камеры - Gasket, Float Cahmber (Gasket, Float Cahmber)

под заказ770 руб.
3313245-98430-000

Поплавок, Chamber - Float, Chamber (Float, Chamber)

под заказ6630 руб.
3313245-98431-000

   (актуальный код замены) Поплавок, Chamber - Float, Chamber

под заказ6630 руб.
3313245-98431-000

Поплавок, Chamber - Float, Chamber (Float, Chamber)

под заказ6630 руб.
3408321-01043-000

Шайба с блокировкой - Washer, Lock (Washer, Lock)

под заказ140 руб.
3408321-0104A-000

   (актуальный код замены) Шайба с блокировкой - Washer, Lock

под заказ140 руб.
3408321-0104A-000

Шайба с блокировкой - Washer, Lock (Washer, Lock)

под заказ140 руб.
3502112-04163-000

Винт - Screw (Screw)

под заказ100 руб.
3502112-0416A-000

   (актуальный код замены) Винт - Screw

под заказ100 руб.
3502112-0416A-000

Винт - Screw (Screw)

под заказ100 руб.
3613586-98410-000

Вал, Choke - Shaft, Choke (Shaft, Choke)

под заказ2060 руб.
3709125-05122-000

Винт (5x6) - Screw (5x6) (Screw (5x6); For 13200-984f0 ) (Screw (5x6))

под заказ220 руб.
3713601-98430-000

Винт дренажный - Screw, Drain (For 13200-984h0) (Screw, Drain)

под заказ0 руб.
3713601-98440-000

   (актуальный код замены) Запчасть снята с производства - The Spare Part Is Laid Off

под заказ0 руб.
3713601-98440-000

Винт дренажный - Screw, Drain (Screw, Drain)

под заказ0 руб.
3813523-46110-000

Прокладка сливного болта масла - Gasket, Drain Plug (Gasket, drain plug ) (Gasket, Drain Plug)

под заказ220 руб.
3909491-95004-000

Главная форсунка (95) - Jet, Main (95) (Jet, main (#95) # Jet, main (#95); Dt2 ) (Jet, Main (95))

под заказ1030 руб.
3909491-20013-000

Главная форсунка (100) - Jet, Main (100) (Jet, main (#100); Dt2.2 ) (Jet, Main (100))

под заказ860 руб.
3909491-80011-000

Главная форсунка (80) - Jet, Main (80) (Jet, main (#80) # Jet, main (#80); Opt ) (Jet, Main (80))

под заказ1040 руб.
3909491-85005-000

Главная форсунка (85) - Jet, Main (85) (Jet, main (#85) # Jet, main (#85); Opt ) (Jet, Main (85))

под заказ0 руб.
4088851-64001-000

Ручка, Управление - Knob, Control (Knob, Control)

под заказ630 руб.
4102122-03067-000

Винт - Screw (Screw)

под заказ130 руб.
4213631-98410-000

Регулятор дросселя - Knob, Choke (Knob, Choke)

под заказ720 руб.
4302112-03107-000

Винт - Screw (Screw)

под заказ100 руб.
4409352-70113-600

Шланг (7x11x600) - Hose (7x11x600) (Protector, throttle lever; L:600->0 ) (Hose (7x11x600))

под заказ1040 руб.
4409352-70119-600

   (актуальный код замены) Шланг (7x11x600) - Hose (7x11x600)

под заказ1040 руб.


Время выполнения запроса 3.8871099948883 сек.

 
 

данный сайт носит информационный характер и не является публичной офертой

склад запчастей для водомоторной техники