Купить комплектующие на лодочный мотор Suzuki - Корпус вала передачи
вконтакте

Контактный телефон: +7 (981) 121-46-93, +7 (800) 200-90-76 , Email: parts-katalog@yandex.ru, где купить

 
 

  Логин:

Пароль:

Регистрация

www.partskatalog.ru Все каталоги Запчасти Mercury Запчасти Suzuki Запчасти Tohatsu Запчасти Honda Контакты



УВАЖАЕМЫЕ КЛИЕНТЫ!
C 19 ДЕКАБРЯ 2025 ПО 02 МАРТА 2026 ГОДА ОТДЕЛ ЗАПЧАСТЕЙ И СЕРВИС РАБОТАТЬ НЕ БУДУТ
ПРОДАЖА ЛОДОЧНЫХ МОТОРОВ В ШТАТНОМ РЕЖИМЕ
ОБ ИЗМЕНЕНИЯХ В ГРАФИКЕ РАБОТЫ ЧИТАЙТЕ НА САЙТА



назад Раздел:   вперёд

Вернуться к выбору узлов мотора


ДЕТАЛИРОВКА ДЛЯ МОДЕЛИ: SUZUKI DT3.5VG(VG) G

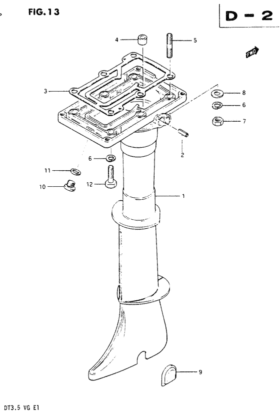
Корпус вала передачи


Год выпуска двигателя: 1986

Регион: Japan

Номер на
рисунке
АртикулНаименованиеQTYКол-во
на складе
Цена
152110-98312-02M

Запчасть снята с производства - The Spare Part Is Laid Off (The Spare Part Is Laid Off)

под заказ0 руб.
152110-98322-02M

Запчасть снята с производства - The Spare Part Is Laid Off (The Spare Part Is Laid Off)

под заказ0 руб.
209205-10003-000

Стопор пружины (10.2x10) - Pin, Spring (102x10) (Pin, Spring (10.2x10))

под заказ390 руб.
209205-10006-000

   (актуальный код замены) Стопор пружины (10.2x10) - Pin, Spring (10.2x10)

под заказ390 руб.
209205-10006-000

Стопор пружины (10.2x10) - Pin, Spring (102x10) (Pin, clutch notch spring ) (Pin, Spring (10.2x10))

под заказ390 руб.
352113-98300-000

Прокладка корпуса вала передачи (na) - Gasket, Drive Shaft Housing (na) (Gasket, Drive Shaft Housing (na))

под заказ0 руб.
352113-98360-000

   (актуальный код замены) Запчасть снята с производства - The Spare Part Is Laid Off

2 шт0 руб.
352113-98360-000

Прокладка корпуса вала передачи (na) - Gasket, Drive Shaft Housing (na) (Gasket, Drive Shaft Housing (na))

2 шт0 руб.
409305-10007-000

Запчасть снята с производства - The Spare Part Is Laid Off (The Spare Part Is Laid Off)

под заказ0 руб.
509108-08147-000

Болт под шпильку - Bolt, Stud (Stud bolt # Stud bolt; ) (Bolt, Stud)

под заказ3840 руб.
609162-08003-000

Шайба с блокировкой - Washer, Lock (Washer, Lock)

под заказ160 руб.
609162-08007-000

   (актуальный код замены) Шайба с блокировкой - Washer, Lock

под заказ160 руб.
609162-08007-000

Шайба с блокировкой - Washer, Lock (Lock washer ) (Washer, Lock)

под заказ160 руб.
709140-08016-000

Гайка - Nut (Nut)

под заказ190 руб.
709140-08023-XC0

Гайка - Nut (Nut)

14 шт190 руб.
809160-08015-000

Шайба (8.5x16x1.2) - Washer (85x16x12) (Washer (8.5x16x1.2))

под заказ120 руб.
809160-08082-000

   (актуальный код замены) Шайба (8.5x16x1.2) - Washer (8.5x16x1.2)

13 шт120 руб.
809160-08082-000

Шайба (8.5x16x1.2) - Washer (85x16x12) (Washer (8.5x16x1.2))

13 шт120 руб.
952115-98301-000

Колпачок, Сцепление Adjust Hole - Cap, Clutch Adjust Hole (Cap, clutch adjusting hole ) (Cap, Clutch Adjust Hole)

под заказ0 руб.
952115-98302-000

   (актуальный код замены) Запчасть снята с производства - The Spare Part Is Laid Off

под заказ0 руб.
1009248-10005-000

Заглушка (10x7.5) - Plug (10x75) (Plug (10x7.5))

под заказ490 руб.
1009248-10008-000

   (актуальный код замены) Заглушка (10x7.5) - Plug (10x7.5)

120 шт500 руб.
1009248-10008-000

Заглушка (10x7.5) - Plug (10x75) (Plug (10x7.5))

120 шт500 руб.
1109168-10022-000

Прокладка (10x17x1.5) - Gasket (10x17x15) (Gasket, flushing plug; ) (Gasket (10x17x1.5))

2205 шт150 руб.
1209100-08232-000

Болт (8x30) - Bolt (8x30) (Bolt (8x30))

6 шт350 руб.


Время выполнения запроса 1.1259360313416 сек.

 
 

данный сайт носит информационный характер и не является публичной офертой

склад запчастей для водомоторной техники