Подобрать запчасти на лодочный мотор Suzuki - Коленвал - Crankshaft
вконтакте

Контактный телефон: +7 (981) 121-46-93, +7 (800) 200-90-76 , Email: parts-katalog@yandex.ru, где купить

 
 

  Логин:

Пароль:

Регистрация

www.partskatalog.ru Все каталоги Запчасти Mercury Запчасти Suzuki Запчасти Tohatsu Запчасти Honda Контакты



УВАЖАЕМЫЕ КЛИЕНТЫ!
C 19 ДЕКАБРЯ 2025 ПО 02 МАРТА 2026 ГОДА ОТДЕЛ ЗАПЧАСТЕЙ И СЕРВИС РАБОТАТЬ НЕ БУДУТ
ПРОДАЖА ЛОДОЧНЫХ МОТОРОВ В ШТАТНОМ РЕЖИМЕ
ОБ ИЗМЕНЕНИЯХ В ГРАФИКЕ РАБОТЫ ЧИТАЙТЕ НА САЙТА



назад Раздел:   вперёд

Вернуться к выбору узлов мотора


ДЕТАЛИРОВКА ДЛЯ МОДЕЛИ: SUZUKI DT2.2SK2(P11) K2

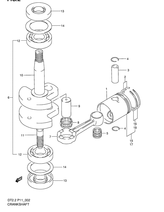
Коленвал


Год выпуска двигателя: 2002

Регион: General Export No.2

Цвет: Shadow Black Metallic

Номер на
рисунке
АртикулНаименованиеQTYКол-во
на складе
Цена
112110-94D01-000

Поршень - Piston (Piston (43mm);) (Piston)

под заказ6000 руб.
112110-94D01-0B0

   (актуальный код замены) Поршень - Piston

1 шт8450 руб.
112110-94D01-0B0

Поршень - Piston (Piston)

1 шт8450 руб.
112110-94D01-0B0

Поршень - Piston (Model:02~05 ) (Piston)

1 шт8450 руб.
212140-36232-000

Поршневые кольца - Ring Set, Piston (Ring set, piston # Ring set, piston; ) (Ring Set, Piston)

6 шт6900 руб.
312151-04700-000

Поршневой палец - Pin, Piston (Pin, piston; ) (Pin, Piston)

2 шт750 руб.
409381-12001-000

Пружинное кольцо - Ring, Snap (Circlip ) (Ring, Snap)

6 шт120 руб.
509263-12023-000

Подшипник (12x16x16) - Bearing (12x16x16) (Bearing (12x16x15.8) # Bearing (12x16x15.8); ) (Bearing (12x16x16))

5 шт1030 руб.
612200-98404-000

Коленвал в сборе - Crankshaft Assy (Crankshaft Assy)

2 шт23040 руб.
712161-98400-000

Шатун - Rod, Connecting (Rod, Connecting)

1 шт5280 руб.
809263-15014-000

Подшипник (15x21x9.8) - Bearing (15x21x98) (Bearing (15x21x9.8) # Bearing (15x21x9.8); ) (Bearing (15x21x9.8))

6 шт1460 руб.
912211-04000-000

Штифт кривошипа - Pin, Crank (Pin, Crank)

3 шт1460 руб.
1012221-98402-000

Коленвал, вышеr - Crankshaft, Upr (Crankshaft, Upr)

под заказ0 руб.
1112231-98403-000

Коленвал, Under - Crankshaft, Under (Crankshaft, Under)

под заказ0 руб.
1209262-17023-000

Подшипник (17x40x12) - Bearing (17x40x12) (Bearing, crankshaft upper ) (Bearing (17x40x12))

15 шт2270 руб.
126203NTN

   (подбор по маркировке) Подшипник NTN 6203(17*40*12 мм)

4 шт170 руб.
1309283-17002-000

Сальник (17x40x7) - Seal, Oil (17x40x7) (Oil seal (17x40x7) # Oil seal (17x40x7); ) (Seal, Oil (17x40x7))

2 шт620 руб.
1309283-17034-000

   (актуальный код замены) Сальник - Seal, Oil

8 шт620 руб.
1408211-32441-000

Шайба - Washer (Washer, thrust ) (Washer)

под заказ240 руб.
1512100-94D01-025

Поршень и поршневые кольца, комплект (os: 0.25) - Piston/ring Set (os:025) (Piston set (os:0.25); Opt ) (Piston/ring Set (os:0.25))

под заказ0 руб.
1612140-98501-025

Поршневые кольца (os: 0.25) - Ring Set, Piston (os:025) (Ring set, piston (os:0.25) # Ring set, piston (os:0.25); Opt ) (Ring Set, Piston (os:0.25))

под заказ4520 руб.
1712100-94D01-050

Поршень и поршневые кольца, комплект (os: 0.50) - Piston/ring Set (os:050) (Piston set (os:0.50); Opt ) (Piston/ring Set (os:0.50))

под заказ10320 руб.
1812140-36232-050

Поршневые кольца (os: 0.50) - Ring Set, Piston (os:050) (Ring set, piston (os:0.50); Opt ) (Ring Set, Piston (os:0.50))

под заказ5190 руб.


Время выполнения запроса 1.9268369674683 сек.

 
 

данный сайт носит информационный характер и не является публичной офертой

склад запчастей для водомоторной техники