| |
 |
|
 |
Вернуться к выбору узлов мотора
ДЕТАЛИРОВКА ДЛЯ МОДЕЛИ: SUZUKI DT2.2SK3(P11) K3
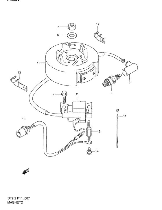
Магнето
Год выпуска двигателя: 2003
Регион: General Export No.2
Цвет: Shadow Black Metallic
Номер на рисунке | Артикул | Наименование | QTY | Кол-во на складе | Цена |
| 1 | 32102-94E00-000 | Маховик - Flywheel (Flywheel) | | под заказ | 0 руб. |
| 2 | 33410-98440-000 | Unit & Катушка зажигания в сборе - Unit & Coil Assy, Ignition (Unit & Coil Assy, Ignition) | | 1 шт | 17090 руб. |
| 3 | 09108-06110-000 | Болт под шпильку - Bolt, Stud (Bolt, Stud) | | под заказ | 0 руб. |
| 4 | 01550-06257-000 | Болт - Bolt (Bolt) | | под заказ | 180 руб. |
| 5 | 08341-31039-000 | Ключ - Key (Key) | | 86 шт | 180 руб. |
| 6 | 08321-01123-000 | Шайба с блокировкой - Washer, Lock (Washer, Lock) | | под заказ | 140 руб. |
| 6 | 08321-0112A-000 | (актуальный код замены) Шайба с блокировкой - Washer, Lock | | под заказ | 140 руб. |
| 6 | 08321-0112A-000 | Шайба с блокировкой - Washer, Lock (Washer, Lock) | | под заказ | 140 руб. |
| 7 | 09140-12038-000 | Гайка - Nut (Nut) | | 9 шт | 240 руб. |
| 8 | 33510-98601-000 | Колпачок свечи зажигания - Cap, Spark Plug (Cap, Spark Plug) | | под заказ | 2860 руб. |
| 9 | 09482-00143-000 | Свеча зажигания (br5hs) - Plug, Spark (br5hs) (Spark plug, br5hs; ) (Plug, Spark (br5hs)) | | 6 шт | 830 руб. |
| 10 | 37800-98423-000 | Переключатель в сборе, Stop - Switch Assy, Stop (Switch Assy, Stop) | | под заказ | 3680 руб. |
| 11 | 09407-08401-000 | Струбцина (l: 80) - Clamp (l:80) (Clamp (l:80)) | | под заказ | 130 руб. |
| 12 | 09403-12308-000 | Струбцина - Clamp (Clamp, hightension cord; ) (Clamp) | | под заказ | 290 руб. |
| 12 | 09403-12322-000 | (актуальный код замены) Струбцина - Clamp | | под заказ | 290 руб. |
| 13 | 09403-10312-000 | Струбцина - Clamp (Clamp, hightension cord; ) (Clamp) | | под заказ | 210 руб. |
| 14 | 01550-06107-000 | Болт - Bolt (Bolt, stop switch earth; ) (Bolt) | | под заказ | 180 руб. |
Время выполнения запроса 1.0988190174103 сек. |
|