Подобрать запчасти на подвесной двигатель SUZUKI модель 2003 года - Картер коробки передач
вконтакте

Контактный телефон: +7 (981) 121-46-93, +7 (800) 200-90-76 , Email: parts-katalog@yandex.ru, где купить

 
 

  Логин:

Пароль:

Регистрация

www.partskatalog.ru Все каталоги Запчасти Mercury Запчасти Suzuki Запчасти Tohatsu Запчасти Honda Контакты



УВАЖАЕМЫЕ КЛИЕНТЫ!
C 19 ДЕКАБРЯ 2025 ПО 02 МАРТА 2026 ГОДА ОТДЕЛ ЗАПЧАСТЕЙ И СЕРВИС РАБОТАТЬ НЕ БУДУТ
ПРОДАЖА ЛОДОЧНЫХ МОТОРОВ В ШТАТНОМ РЕЖИМЕ
ОБ ИЗМЕНЕНИЯХ В ГРАФИКЕ РАБОТЫ ЧИТАЙТЕ НА САЙТА



назад Раздел:   вперёд

Вернуться к выбору узлов мотора


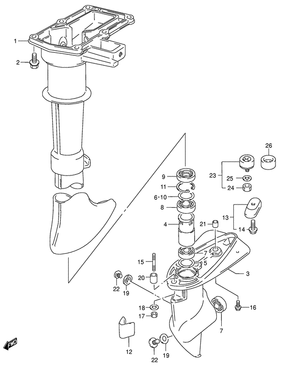
ДЕТАЛИРОВКА ДЛЯ МОДЕЛИ: SUZUKI DT2.2SK3(P11) K3

Картер коробки передач


Год выпуска двигателя: 2003

Регион: General Export No.2

Цвет: Shadow Black Metallic

Номер на
рисунке
АртикулНаименованиеQTYКол-во
на складе
Цена
152111-98420-0ED

Корпус вала передачи (gray) - Housing, Drive Shaft (gray) (Housing, drive shaft (gray); ) (Housing, Drive Shaft (gray))

под заказ0 руб.
152111-98420-0EP

Корпус вала передачи (черный цвет) - Housing, Drive Shaft (black) (Housing, drive shaft (black); Model:02~05 ) (Housing, Drive Shaft (black))

под заказ0 руб.
209118-06098-000

Болт (6x25) - Bolt (6x25) (Bolt (6x25);) (Bolt (6x25))

под заказ270 руб.
209118-06123-000

   (актуальный код замены) Болт (6x25) - Bolt (6x25)

под заказ270 руб.
209118-06123-000

Болт (6x25) - Bolt (6x25) (Bolt (6x25))

под заказ270 руб.
209118-06119-000

Болт (6x25) - Bolt (6x25) (Bolt (6x25); Model:04, 05 ) (Bolt (6x25))

под заказ0 руб.
355110-98440-0ED

Картер коробки передач (s) - Case, Gear (s) (Case assy, gear (s) # Case, gear (gray); ) (Case, Gear (s))

под заказ0 руб.
355110-98440-0EP

Картер коробки передач - Case, Gear (Case, gear (black); Model:02~05 ) (Case, Gear)

под заказ0 руб.
457133-98400-000

Проставка приводного вала Подшипник - Spacer, Drive Shaft Bearing (Spacer, Drive Shaft Bearing)

под заказ0 руб.
509181-20130-000

Регулировочная шайба (20x26x0.5) - Shim (20x26x05) (Shim (20x26x0.5) ) (Shim (20x26x0.5))

под заказ0 руб.
609181-22130-000

Регулировочная шайба (22x28x0.5) - Shim (22x28x05) (Shim (t:0.5) # Shim (t:0.5); ) (Shim (22x28x0.5))

под заказ210 руб.
709262-10015-000

Подшипник (10x26x8) - Bearing (10x26x8) (Bearing ) (Bearing (10x26x8))

под заказ1340 руб.
809262-12001-000

Подшипник (12x28x8) - Bearing (12x28x8) (Bearing (12x28x8))

11 шт1880 руб.
86001KOYO

   (подбор по маркировке) Подшипник KOYO 6001(12*28*8 мм)

под заказ0
909289-12002-000

Сальник (12x28x8) - Seal, Oil (12x28x8) (Oil seal (12x28x8) # Seal, oil; ) (Seal, Oil (12x28x8))

33 шт970 руб.
1008221-22283-000

Регулировочная шайба - Shim (Shim (t:0.1); ) (Shim)

под заказ150 руб.
1008221-22284-000

Регулировочная шайба - Shim (Shim (t:0.2); ) (Shim)

под заказ150 руб.
1108331-41286-000

Стопорное кольцо - Circlip (Circlip)

под заказ170 руб.
1108331-41289-000

   (актуальный код замены) Стопорное кольцо - Circlip

под заказ170 руб.
1108331-41289-000

Стопорное кольцо - Circlip (Circlip)

под заказ170 руб.
1255112-98401-0ED

Крышка картера коробки передач Болт - Cover, Gear Case Bolt (Cover, gear case bolt (gray); ) (Cover, Gear Case Bolt)

под заказ0 руб.
1255112-98401-0EP

Крышка картера коробки передач Болт (чёрный) - Cover, Gear Case Bolt (black) (Cover, gear case bolt (black); Model:02~05 ) (Cover, Gear Case Bolt (black))

под заказ0 руб.
1355320-98400-000

Zinc, Protection - Zinc, Protection (Zinc, Protection)

под заказ0 руб.
1409116-06094-000

Болт (6x15) - Bolt (6x15) (Bolt (6x15); ) (Bolt (6x15))

20 шт270 руб.
1509108-06063-000

Болт под шпильку - Bolt, Stud (Stud bolt (6x20) ) (Bolt, Stud)

под заказ380 руб.
1609116-06094-000

Болт (6x15) - Bolt (6x15) (Bolt (6x15); ) (Bolt (6x15))

20 шт270 руб.
1709140-06020-000

Гайка - Nut (Nut)

9 шт150 руб.
1809160-06082-000

Шайба (6.5x13x1.0) - Washer (65x13x10) (Washer (6.5x13x1.0); ) (Washer (6.5x13x1.0))

7 шт150 руб.
1909168-10022-000

Прокладка (10x17x1.5) - Gasket (10x17x15) (Gasket (10x17x1.5))

2205 шт150 руб.
2009206-09001-000

Штифт (6.4x9x10) - Pin (64x9x10) (Pin (9x10) ) (Pin (6.4x9x10))

под заказ0 руб.
2109206-09007-000

Запчасть снята с производства - The Spare Part Is Laid Off (The Spare Part Is Laid Off)

под заказ0 руб.
2209248-10008-000

Заглушка (10x7.5) - Plug (10x75) (Plug; ) (Plug (10x7.5))

120 шт500 руб.
2355300-98400-000

Запчасть снята с производства - The Spare Part Is Laid Off (Zinc set, protection; Opt) (The Spare Part Is Laid Off)

под заказ0 руб.
2409140-06020-000

Гайка - Nut (Nut)

9 шт150 руб.
2509162-06006-000

Шайба с блокировкой - Washer, Lock (Lock washer # Washer, lock (6.1x12.2x1.5); ) (Washer, Lock)

под заказ160 руб.
2655321-87J10-000

Анод, Magnesium - Anode, Magnesium (Anode (magnesium); Opt ) (Anode, Magnesium)

под заказ1490 руб.
2655321-87J11-000

   (актуальный код замены) Анод (магниевый) - Anode (magnesium)

27 шт1490 руб.


Время выполнения запроса 2.2680079936981 сек.

 
 

данный сайт носит информационный характер и не является публичной офертой

склад запчастей для водомоторной техники