Подобрать оригинальные запчасти на подвесной лодочный двигатель Suzuki модель 1985 года - Water pump - Водяной насос
вконтакте

Контактный телефон: +7 (981) 121-46-93, +7 (800) 200-90-76 , Email: parts-katalog@yandex.ru, где купить

 
 

  Логин:

Пароль:

Регистрация

www.partskatalog.ru Все каталоги Запчасти Mercury Запчасти Suzuki Запчасти Tohatsu Запчасти Honda Контакты



УВАЖАЕМЫЕ КЛИЕНТЫ!
C 19 ДЕКАБРЯ 2025 ПО 02 МАРТА 2026 ГОДА ОТДЕЛ ЗАПЧАСТЕЙ И СЕРВИС РАБОТАТЬ НЕ БУДУТ
ПРОДАЖА ЛОДОЧНЫХ МОТОРОВ В ШТАТНОМ РЕЖИМЕ
ОБ ИЗМЕНЕНИЯХ В ГРАФИКЕ РАБОТЫ ЧИТАЙТЕ НА САЙТА



назад Раздел:   вперёд

Вернуться к выбору узлов мотора


ДЕТАЛИРОВКА ДЛЯ МОДЕЛИ: SUZUKI DT4VF F

Водяной насос


Год выпуска двигателя: 1985

Регион: General Export No.1 ,Код региона: P01

Цвет: Francois Whte №2,Arctic Silver

Номер на
рисунке
АртикулНаименованиеQTYКол-во
на складе
Цена
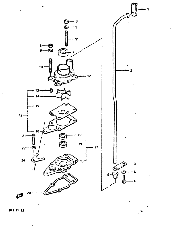
117563-98500-000

Пыльник - Grommet (Grommet, water tube # Grommet, water tube; ) (Grommet)

12 шт290 руб.
217561-98611-000

Водяная трубка (s) - Tube, Water (s) (Tube, water (s) # Tube, water (s); ) (Tube, Water (s))

под заказ2060 руб.
217561-98601-000

Водяная трубка (l) - Tube, Water (l) (Tube, water (l) # Tube, water (l); ) (Tube, Water (l))

под заказ2600 руб.
317564-98600-000

Направляющая трубки водяного насоса - Guide, Water Tube (Guide, Water Tube)

6 шт370 руб.
409100-06113-000

Болт (6x16) - Bolt (6x16) (Bolt (6x16))

под заказ140 руб.
509162-06006-000

Шайба с блокировкой - Washer, Lock (Lock washer ) (Washer, Lock)

под заказ160 руб.
617415-98501-000

Пыльник корпуса водяного насоса - Grommet, Water Pump Case (Grommet, water pump # Grommet, water pump; ) (Grommet, Water Pump Case)

27 шт260 руб.
709289-10002-000

Сальник (10x22x8) - Seal, Oil (10x22x8) (Seal, oil # Oil seal, pump case; 10*22*8 ) (Seal, Oil (10x22x8))

9 шт1460 руб.
809140-06004-000

Гайка - Nut (Nut)

под заказ150 руб.
809140-06020-000

   (актуальный код замены) Гайка - Nut

9 шт150 руб.
809140-06020-000

Гайка - Nut (Nut)

9 шт150 руб.
909162-06001-000

Шайба с блокировкой - Washer, Lock (Washer, Lock)

под заказ160 руб.
909162-06006-000

   (актуальный код замены) Шайба с блокировкой - Washer, Lock

под заказ160 руб.
909162-06006-000

Шайба с блокировкой - Washer, Lock (Lock washer ) (Washer, Lock)

под заказ160 руб.
1009108-06068-000

Болт под шпильку - Bolt, Stud (Stud bolt (l:35); ) (Bolt, Stud)

под заказ340 руб.
1109168-06069-000

(Stud bolt (l:40);)

под заказнет сведений
1217411-98600-000

под заказнет сведений
1209108-06069-000

Болт под шпильку - Bolt, Stud (Bolt, stud ) (Bolt, Stud)

37 шт320 руб.
1217411-98611-000

Корпус водяного насоса - Case, Water Pump (Case, Water Pump)

2 шт11300 руб.
1309420-03002-000

Ключ - Key (Key)

22 шт290 руб.
13SK09420-03002

   (не оригинальный аналог) Шпонка помпы охлаждения Skipper для Suzuki DF4-6, DF4A-6A

0 шт99 руб.
1417461-98501-000

Крыльчатка водяного насоса - Impeller, Water Pump (Impeller, Water Pump)

под заказ2030 руб.
1417461-985M0-000

   (актуальный код замены) Крыльчатка водяного насоса - Impeller, Water Pump

30 шт2220 руб.
14SC-WT093

   (не оригинальный аналог) Крыльчатка помпы охлаждения двигателя Suzuki SC-WT093

под заказ950 руб.
1417461-985M0-000

Крыльчатка водяного насоса - Impeller, Water Pump (Impeller, Water Pump)

30 шт2220 руб.
1517471-98600-000

Панель в нижней части корпуса помпы - Panel, Pump Case Under (Panel, Pump Case Under)

под заказ600 руб.
1517471-98601-000

   (актуальный код замены) Панель в нижней части корпуса помпы - Panel, Pump Case Under

4 шт600 руб.
1517471-98601-000

Панель в нижней части корпуса помпы - Panel, Pump Case Under (Panel, water pumpe ) (Panel, Pump Case Under)

4 шт600 руб.
15SK17471-98601

   (не оригинальный аналог) Пластина помпы Skipper для Suzuki DT4/5

0 шт224 руб.
1617472-98600-000

Прокладка панели корпуса помпы - Gasket, Pump Case Panel (Gasket, Pump Case Panel)

под заказ310 руб.
1617472-98611-000

   (актуальный код замены) Прокладка панели корпуса помпы - Gasket, Pump Case Panel

2 шт310 руб.
1617472-98611-000

Прокладка панели корпуса помпы - Gasket, Pump Case Panel (Gasket, pump panel ) (Gasket, Pump Case Panel)

2 шт310 руб.
1756130-98600-02M

Корпус подшипника приводного вала - Housing, Drive Shaft Brg (Housing, Drive Shaft Brg)

под заказ30480 руб.
1756130-98602-000

   (актуальный код замены) Корпус подшипника приводного вала - Housing, Drive Shaft Brg

под заказ30480 руб.
1756130-98602-000

Корпус подшипника приводного вала - Housing, Drive Shaft Brg (Housing, drive shaft bearing ) (Housing, Drive Shaft Brg)

под заказ30480 руб.
1856134-98600-000

Запчасть снята с производства - The Spare Part Is Laid Off (The Spare Part Is Laid Off)

под заказ0 руб.
1909282-10008-000

Сальник (10x21x4.5) - Seal, Oil (10x21x45) (Seal, prop sft oil # Seal; ) (Seal, Oil (10x21x4.5))

722 шт430 руб.
19SC-OL038

   (не оригинальный аналог) Сальник редуктора Suzuki SC-OL038

под заказ220 руб.
2056132-98601-000

Прокладка корпуса вала передачи - Gasket, Drive Shaft Housing (Gasket, Drive Shaft Housing)

под заказ770 руб.
2056132-98610-000

   (актуальный код замены) Прокладка корпуса вала передачи - Gasket, Drive Shaft Housing

3 шт910 руб.
2056132-98610-000

Прокладка корпуса вала передачи - Gasket, Drive Shaft Housing (Gasket, drive shaft housing ) (Gasket, Drive Shaft Housing)

3 шт910 руб.
2109100-06120-000

Болт (6x25) - Bolt (6x25) (Bolt (6x25))

под заказ310 руб.
2109117-06049-000

   (актуальный код замены) Болт (6x25) - Bolt (6x25)

9 шт310 руб.
2109117-06049-000

Болт (6x25) - Bolt (6x25) (Bolt (6x25) ) (Bolt (6x25))

9 шт310 руб.
2209162-06001-000

Шайба с блокировкой - Washer, Lock (Washer, Lock)

под заказ160 руб.
2209162-06006-000

   (актуальный код замены) Шайба с блокировкой - Washer, Lock

под заказ160 руб.
2209162-06006-000

Шайба с блокировкой - Washer, Lock (Lock washer ) (Washer, Lock)

под заказ160 руб.
2317400-98650-000

Ремкомплект водяного насоса - Kit, Water Pump Repair (Opt) (Kit, Water Pump Repair)

под заказ3270 руб.
2317400-98652-000

   (актуальный код замены) Ремкомплект водяного насоса - Kit, Water Pump Repair

4 шт3010 руб.
2317400-98652-000

Ремкомплект водяного насоса - Kit, Water Pump Repair (Kit, Water Pump Repair)

4 шт3010 руб.
2425215-98600-000

Стопор переключателя направляющей тяги - Stopper, Shift Rod Guide (Stopper, Shift Rod Guide)

под заказ280 руб.
2425215-98601-000

   (актуальный код замены) Стопор переключателя направляющей тяги - Stopper, Shift Rod Guide

3 шт280 руб.
2425215-98601-000

Стопор переключателя направляющей тяги - Stopper, Shift Rod Guide (Stopper, Shift Rod Guide)

3 шт280 руб.


Время выполнения запроса 1.6094532012939 сек.

 
 

данный сайт носит информационный характер и не является публичной офертой

склад запчастей для водомоторной техники