Купить запчасти на лодочный мотор SUZUKI модель 1985 года - Топливный бак
вконтакте

Контактный телефон: +7 (981) 121-46-93, +7 (800) 200-90-76 , Email: parts-katalog@yandex.ru, где купить

 
 

  Логин:

Пароль:

Регистрация

www.partskatalog.ru Все каталоги Запчасти Mercury Запчасти Suzuki Запчасти Tohatsu Запчасти Honda Контакты

назад Раздел:   вперёд

Вернуться к выбору узлов мотора


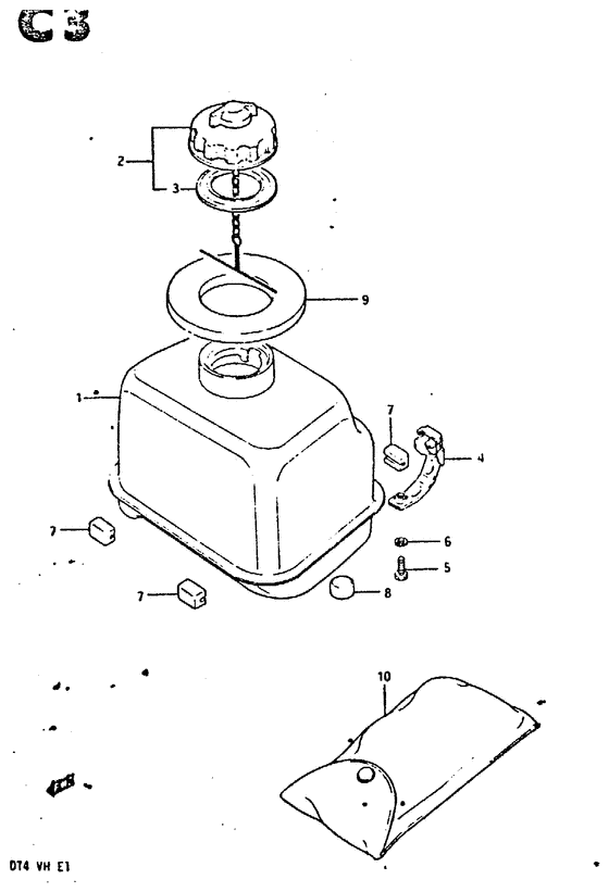
ДЕТАЛИРОВКА ДЛЯ МОДЕЛИ: SUZUKI DT4ZVF F

Топливный бак


Год выпуска двигателя: 1985

Номер на
рисунке
АртикулНаименованиеQTYКол-во
на складе
Цена
165110-98601-000

Топливный бак - Tank, Fuel (Tank, Fuel)

под заказ0 руб.
265510-98602-000

Колпачок в сборе, Tank (авто Air Vent) - Cap Assy, Tank (auto Air Vent) (Cap Assy, Tank (auto Air Vent))

под заказ0 руб.
265510-98900-000

   (актуальный код замены) Запчасть снята с производства - The Spare Part Is Laid Off

под заказ0 руб.
265510-98900-000

Колпачок в сборе, Tank (авто Air Vent) - Cap Assy, Tank (auto Air Vent) (Cap assy, fuel tank ) (Cap Assy, Tank (auto Air Vent))

под заказ0 руб.
365561-98600-000

Прокладка крышка топливного бака - Gasket, Tank Cap (Gasket, fuel tank cap ) (Gasket, Tank Cap)

под заказ490 руб.
465261-98601-000

Кронштейн, Топливный бак Cush - Bracket, Fuel Tank Cush (Bracket, fuel tank ) (Bracket, Fuel Tank Cush)

под заказ0 руб.
509100-06089-000

Болт (6x25) - Bolt (6x25) (Bolt (6x25))

под заказ310 руб.
509117-06049-000

   (актуальный код замены) Болт (6x25) - Bolt (6x25)

9 шт310 руб.
509117-06049-000

Болт (6x25) - Bolt (6x25) (Bolt (6x25) ) (Bolt (6x25))

9 шт310 руб.
609162-06001-000

Шайба с блокировкой - Washer, Lock (Washer, Lock)

под заказ160 руб.
609162-06006-000

   (актуальный код замены) Шайба с блокировкой - Washer, Lock

под заказ160 руб.
609162-06006-000

Шайба с блокировкой - Washer, Lock (Lock washer ) (Washer, Lock)

под заказ160 руб.
765283-98600-000

Запчасть снята с производства - The Spare Part Is Laid Off (The Spare Part Is Laid Off)

под заказ0 руб.
809329-12004-000

Подушка - Cushion (Cushion, intake manifold ) (Cushion)

под заказ190 руб.
809329-12006-000

   (актуальный код замены) Подушка - Cushion

под заказ190 руб.
965281-98601-000

Запчасть снята с производства - The Spare Part Is Laid Off (The Spare Part Is Laid Off)

под заказ0 руб.
1009800-81800-000

Набор инструмента - Tool Assy (Tool Assy)

под заказ3120 руб.
1009800-01016-000

   (актуальный код замены) Набор инструмента - Tool Assy

под заказ3120 руб.
1009800-01001-000

Набор инструмента - Tool Assy (Tool Assy)

под заказ3120 руб.
1009800-01016-000

   (актуальный код замены) Набор инструмента - Tool Assy

под заказ3120 руб.


Время выполнения запроса 1.9137120246887 сек.

 
 

данный сайт носит информационный характер и не является публичной офертой

склад запчастей для водомоторной техники