| |
 |
|
 |
Вернуться к выбору узлов мотора
ДЕТАЛИРОВКА ДЛЯ МОДЕЛИ: SUZUKI DT4ZVH H
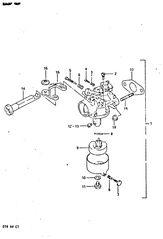
Карбюратор
Год выпуска двигателя: 1987
Регион: General Export No.1 ,Код региона: P01
Цвет: Francois Whte №2,Arctic Silver
Номер на рисунке | Артикул | Наименование | QTY | Кол-во на складе | Цена |
| 1 | 13200-98620-000 | Карбюратор в сборе (bv18) - Carburetor Assy (bv18) (Carburetor Assy (bv18)) | | под заказ | 24480 руб. |
| 1 | 13200-98621-000 | (актуальный код замены) Карбюратор в сборе - Carburetor Assy | | под заказ | 24480 руб. |
| 2 | 09492-45008-000 | Контрольная форсунка (45) - Jet, Pilot (45) (Jet, Pilot (45)) | | под заказ | 1460 руб. |
| 2 | 09492-45035-000 | (актуальный код замены) Контрольная форсунка (45) - Jet, Pilot (45) | | под заказ | 1460 руб. |
| 2 | 09492-45035-000 | Контрольная форсунка (45) - Jet, Pilot (45) (Jet, pilot (#45) ) (Jet, Pilot (45)) | | под заказ | 1460 руб. |
| 3 | 13268-92910-000 | Пружина - Spring (Spring ) (Spring) | | под заказ | 310 руб. |
| 4 | 13267-98620-000 | Винт дросселя Stop - Screw, Throttle Stop (Screw, Throttle Stop) | | под заказ | 470 руб. |
| 4 | 13534-98900-000 | (актуальный код замены) Винт дросселя Stop - Screw, Throttle Stop | | под заказ | 470 руб. |
| 4 | 13534-98900-000 | Винт дросселя Stop - Screw, Throttle Stop (Screw, Throttle Stop) | | под заказ | 470 руб. |
| 5 | 13269-98300-000 | Винт контроля воздуха - Screw, Pilot Air (Screw, pilot air ) (Screw, Pilot Air) | | под заказ | 0 руб. |
| 6 | 13268-96110-000 | Пружина, Дроссель Винт - Spring, Throttle Screw (Spring, Throttle Screw) | | под заказ | 350 руб. |
| 6 | 13268-96111-000 | (актуальный код замены) Пружина, Дроссель Винт - Spring, Throttle Screw | | под заказ | 350 руб. |
| 6 | 13268-96111-000 | Пружина, Дроссель Винт - Spring, Throttle Screw (Spring, throttle screw ) (Spring, Throttle Screw) | | под заказ | 350 руб. |
| 7 | 13616-93900-000 | Регулятор - Adjuster (Adjuster) | | под заказ | 1180 руб. |
| 8 | 13254-98300-000 | Стопор поплавка - Pin, Float (Pin, float ) (Pin, Float) | | под заказ | 240 руб. |
| 9 | 13250-98310-000 | Поплавок - Float (Float) | | под заказ | 2430 руб. |
| 10 | 13343-98520-000 | Прокладка, Drain - Gasket, Drain (Gasket, Drain) | | под заказ | 290 руб. |
| 11 | 13613-98300-000 | Болт, Drain - Bolt, Drain (Bolt, Drain) | | под заказ | 440 руб. |
| 12 | 09491-97002-000 | Главная форсунка (97.5) - Jet, Main (975) (Jet, Main (97.5)) | | под заказ | 1630 руб. |
| 12 | 09491-97004-000 | (актуальный код замены) Главная форсунка (97.5) - Jet, Main (97.5) | | под заказ | 1630 руб. |
| 12 | 09491-97004-000 | Главная форсунка (97.5) - Jet, Main (975) (Jet, main (#97.5) ) (Jet, Main (97.5)) | | под заказ | 1630 руб. |
| 13 | 09491-20011-000 | Главная форсунка (102.5) - Jet, Main (1025) (Jet, main (102.5); Opt) (Jet, Main (102.5)) | | под заказ | 1110 руб. |
| 13 | 09491-20025-000 | (актуальный код замены) Главная форсунка (102.5) - Jet, Main (102.5) | | под заказ | 1110 руб. |
| 13 | 09491-20025-000 | Главная форсунка (102.5) - Jet, Main (1025) (Jet, main (#102.5) ) (Jet, Main (102.5)) | | под заказ | 1110 руб. |
| 13 | 09491-92003-000 | Запчасть снята с производства - The Spare Part Is Laid Off (Opt) (The Spare Part Is Laid Off) | | под заказ | 0 руб. |
| 13 | 09491-87002-000 | Главная форсунка (87.5) - Jet, Main (875) (Opt) (Jet, Main (87.5)) | | под заказ | 890 руб. |
| 13 | 09491-87004-000 | (актуальный код замены) Главная форсунка (87.5) - Jet, Main (87.5) | | под заказ | 890 руб. |
| 13 | 09491-87004-000 | Главная форсунка (87.5) - Jet, Main (875) (Jet, main (#87.5) ) (Jet, Main (87.5)) | | под заказ | 890 руб. |
| 14 | 13631-98600-000 | Рычаг регулировки дросселя - Knob, Choke Lever (Knob, Choke Lever) | | под заказ | 750 руб. |
| 14 | 13631-98610-000 | (актуальный код замены) Рычаг регулировки дросселя - Knob, Choke Lever | | под заказ | 750 руб. |
| 14 | 13631-98610-000 | Рычаг регулировки дросселя - Knob, Choke Lever (Knob, starter ) (Knob, Choke Lever) | | под заказ | 750 руб. |
| 15 | 13633-98601-000 | Рычаг заслонки - Lever, Choke (Lever, Choke) | | под заказ | 0 руб. |
| 16 | 09148-06008-000 | Гайка - Nut (Nut, adjuster knob ) (Nut) | | 4 шт | 110 руб. |
| 17 | 13125-98300-000 | Прокладка карбюратора - Gasket, Carburetor (Gasket, Carburetor) | | под заказ | 400 руб. |
| 17 | 13125-98310-000 | (актуальный код замены) Прокладка карбюратора - Gasket, Carburetor | | 1 шт | 400 руб. |
| 17 | 13125-98310-000 | Прокладка карбюратора - Gasket, Carburetor (Gasket, carburetor ) (Gasket, Carburetor) | | 1 шт | 400 руб. |
| 18 | 01421-06202-000 | Болт под шпильку - Bolt, Stud (Bolt, Stud) | | под заказ | 130 руб. |
| 18 | 01411-0620A-000 | (актуальный код замены) Болт под шпильку - Bolt, Stud | | под заказ | 130 руб. |
| 18 | 01411-0620A-000 | Болт под шпильку - Bolt, Stud (Bolt, Stud) | | под заказ | 130 руб. |
| 19 | 08316-16062-000 | Гайка - Nut (Nut) | | под заказ | 170 руб. |
| 19 | 08316-10067-000 | (актуальный код замены) Гайка - Nut | | под заказ | 170 руб. |
| 19 | 08316-10067-000 | Гайка - Nut (Nut) | | под заказ | 170 руб. |
Время выполнения запроса 2.0185368061066 сек. |
|