Купить оригинальные запчасти на подвесной мотор Suzuki - Carburetor
вконтакте

Контактный телефон: +7 (981) 121-46-93, +7 (800) 200-90-76 , Email: parts-katalog@yandex.ru, где купить

 
 

  Логин:

Пароль:

Регистрация

www.partskatalog.ru Все каталоги Запчасти Mercury Запчасти Suzuki Запчасти Tohatsu Запчасти Honda Контакты



УВАЖАЕМЫЕ КЛИЕНТЫ!
C 19 ДЕКАБРЯ 2025 ПО 02 МАРТА 2026 ГОДА ОТДЕЛ ЗАПЧАСТЕЙ И СЕРВИС РАБОТАТЬ НЕ БУДУТ
ПРОДАЖА ЛОДОЧНЫХ МОТОРОВ В ШТАТНОМ РЕЖИМЕ
ОБ ИЗМЕНЕНИЯХ В ГРАФИКЕ РАБОТЫ ЧИТАЙТЕ НА САЙТА



назад Раздел:   вперёд

Вернуться к выбору узлов мотора


ДЕТАЛИРОВКА ДЛЯ МОДЕЛИ: SUZUKI DT4 VH

Карбюратор


Год выпуска двигателя: 1987

Цвет: Francois Whte №2,Arctic Silver

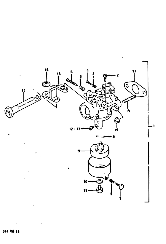
Номер на
рисунке
АртикулНаименованиеQTYКол-во
на складе
Цена
113200-98620-000

Карбюратор в сборе (bv18) - Carburetor Assy (bv18) (Carburetor Assy (bv18))

под заказ24480 руб.
113200-98621-000

   (актуальный код замены) Карбюратор в сборе - Carburetor Assy

под заказ24480 руб.
209492-45008-000

Контрольная форсунка (45) - Jet, Pilot (45) (Jet, Pilot (45))

под заказ1460 руб.
209492-45035-000

   (актуальный код замены) Контрольная форсунка (45) - Jet, Pilot (45)

под заказ1460 руб.
209492-45035-000

Контрольная форсунка (45) - Jet, Pilot (45) (Jet, pilot (#45) ) (Jet, Pilot (45))

под заказ1460 руб.
313268-92910-000

Пружина - Spring (Spring ) (Spring)

под заказ310 руб.
413267-98620-000

Винт дросселя Stop - Screw, Throttle Stop (Screw, Throttle Stop)

под заказ470 руб.
413534-98900-000

   (актуальный код замены) Винт дросселя Stop - Screw, Throttle Stop

под заказ470 руб.
413534-98900-000

Винт дросселя Stop - Screw, Throttle Stop (Screw, Throttle Stop)

под заказ470 руб.
513269-98300-000

Винт контроля воздуха - Screw, Pilot Air (Screw, pilot air ) (Screw, Pilot Air)

под заказ0 руб.
613268-96110-000

Пружина, Дроссель Винт - Spring, Throttle Screw (Spring, Throttle Screw)

под заказ350 руб.
613268-96111-000

   (актуальный код замены) Пружина, Дроссель Винт - Spring, Throttle Screw

под заказ350 руб.
613268-96111-000

Пружина, Дроссель Винт - Spring, Throttle Screw (Spring, throttle screw ) (Spring, Throttle Screw)

под заказ350 руб.
713616-93900-000

Регулятор - Adjuster (Adjuster)

под заказ1180 руб.
813254-98300-000

Стопор поплавка - Pin, Float (Pin, float ) (Pin, Float)

под заказ240 руб.
913250-98310-000

Поплавок - Float (Float)

под заказ2430 руб.
1013343-98520-000

Прокладка, Drain - Gasket, Drain (Gasket, Drain)

под заказ290 руб.
1113613-98300-000

Болт, Drain - Bolt, Drain (Bolt, Drain)

под заказ440 руб.
1209491-97002-000

Главная форсунка (97.5) - Jet, Main (975) (Jet, Main (97.5))

под заказ1630 руб.
1209491-97004-000

   (актуальный код замены) Главная форсунка (97.5) - Jet, Main (97.5)

под заказ1630 руб.
1209491-97004-000

Главная форсунка (97.5) - Jet, Main (975) (Jet, main (#97.5) ) (Jet, Main (97.5))

под заказ1630 руб.
1309491-87002-000

Главная форсунка (87.5) - Jet, Main (875) (OPT) (Jet, Main (87.5))

под заказ890 руб.
1309491-87004-000

   (актуальный код замены) Главная форсунка (87.5) - Jet, Main (87.5)

под заказ890 руб.
1309491-87004-000

Главная форсунка (87.5) - Jet, Main (875) (Jet, main (#87.5) ) (Jet, Main (87.5))

под заказ890 руб.
1309491-92003-000

Запчасть снята с производства - The Spare Part Is Laid Off (OPT) (The Spare Part Is Laid Off)

под заказ0 руб.
1309491-20011-000

Главная форсунка (102.5) - Jet, Main (1025) (OPT) (Jet, Main (102.5))

под заказ1110 руб.
1309491-20025-000

   (актуальный код замены) Главная форсунка (102.5) - Jet, Main (102.5)

под заказ1110 руб.
1309491-20025-000

Главная форсунка (102.5) - Jet, Main (1025) (Jet, main (#102.5) ) (Jet, Main (102.5))

под заказ1110 руб.
1413631-98600-000

Рычаг регулировки дросселя - Knob, Choke Lever (Knob, Choke Lever)

под заказ750 руб.
1413631-98610-000

   (актуальный код замены) Рычаг регулировки дросселя - Knob, Choke Lever

под заказ750 руб.
1413631-98610-000

Рычаг регулировки дросселя - Knob, Choke Lever (Knob, starter ) (Knob, Choke Lever)

под заказ750 руб.
1513633-98601-000

Рычаг заслонки - Lever, Choke (Lever, Choke)

под заказ0 руб.
1609148-06008-000

Гайка - Nut (Nut, adjuster knob ) (Nut)

4 шт110 руб.
1713125-98300-000

Прокладка карбюратора - Gasket, Carburetor (Gasket, Carburetor)

под заказ400 руб.
1713125-98310-000

   (актуальный код замены) Прокладка карбюратора - Gasket, Carburetor

1 шт400 руб.
1713125-98310-000

Прокладка карбюратора - Gasket, Carburetor (Gasket, carburetor ) (Gasket, Carburetor)

1 шт400 руб.
1801421-06202-000

Болт под шпильку - Bolt, Stud (Bolt, Stud)

под заказ130 руб.
1801411-0620A-000

   (актуальный код замены) Болт под шпильку - Bolt, Stud

под заказ130 руб.
1801411-0620A-000

Болт под шпильку - Bolt, Stud (Bolt, Stud)

под заказ130 руб.
1908316-16062-000

Гайка - Nut (Nut)

под заказ170 руб.
1908316-10067-000

   (актуальный код замены) Гайка - Nut

под заказ170 руб.
1908316-10067-000

Гайка - Nut (Nut)

под заказ170 руб.


Время выполнения запроса 2.0612840652466 сек.

 
 

данный сайт носит информационный характер и не является публичной офертой

склад запчастей для водомоторной техники