Оригинальные запчасти на лодочный мотор Suzuki - Fuel pump
вконтакте

Контактный телефон: +7 (981) 121-46-93, +7 (800) 200-90-76 , Email: parts-katalog@yandex.ru, где купить

 
 

  Логин:

Пароль:

Регистрация

www.partskatalog.ru Все каталоги Запчасти Mercury Запчасти Suzuki Запчасти Tohatsu Запчасти Honda Контакты



УВАЖАЕМЫЕ КЛИЕНТЫ!
C 19 ДЕКАБРЯ 2025 ПО 02 МАРТА 2026 ГОДА ОТДЕЛ ЗАПЧАСТЕЙ И СЕРВИС РАБОТАТЬ НЕ БУДУТ
ПРОДАЖА ЛОДОЧНЫХ МОТОРОВ В ШТАТНОМ РЕЖИМЕ
ОБ ИЗМЕНЕНИЯХ В ГРАФИКЕ РАБОТЫ ЧИТАЙТЕ НА САЙТА



назад Раздел:   вперёд

Вернуться к выбору узлов мотора


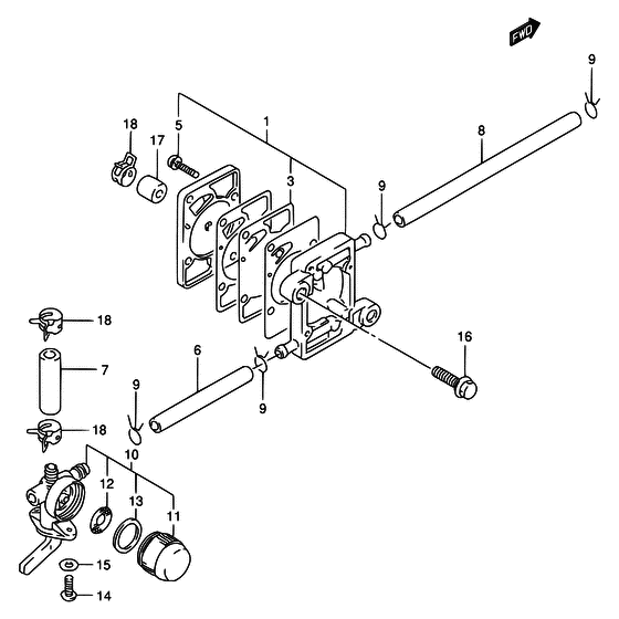
ДЕТАЛИРОВКА ДЛЯ МОДЕЛИ: SUZUKI DT4 K

Топливный насос


Год выпуска двигателя: 1989

Цвет: Francois Whte №2,Arctic Silver

Номер на
рисунке
АртикулНаименованиеQTYКол-во
на складе
Цена
115100-98610-000

Топливный насос, в сборе - Pump Assy, Fuel (<-5100-98600 ) (Pump Assy, Fuel)

1 шт10280 руб.
315170-98110-000

Диафрагма Set, Топливный насос - Diaphragm Set, Fuel Pump (Diaphragm set, fuel pump ) (Diaphragm Set, Fuel Pump)

2 шт5140 руб.
3SK15170-98110

   (не оригинальный аналог) Ремкомплект топливного насоса Skipper для Suzuki DT4-8

0 шт371 руб.
3SC-CR366

   (не оригинальный аналог) Ремкомплект топливного насоса Suzuki SC-CR366

под заказ670 руб.
515251-98101-000

Винт, Топливный насос - Screw, Fuel Pump (Screw, Fuel Pump)

под заказ0 руб.
609352-50903-600

Шланг (5x9x600) - Hose (5x9x600) (L:600->0 ) (Hose (5x9x600))

под заказ570 руб.
609352-50006-600

   (актуальный код замены) Шланг (5x9x600) - Hose (5x9x600)

1 шт570 руб.
609354-53103-600

Шланг (5.3x10.5x600) - Hose (53x105x600) (Hose (conn to filter) # L:600->0, MODEL:91 ) (Hose (5.3x10.5x600))

под заказ1160 руб.
609355-53001-600

   (актуальный код замены) Шланг (5.3x10.5x600) - Hose (5.3x10.5x600)

под заказ1160 руб.
709354-53103-600

Шланг (5.3x10.5x600) - Hose (53x105x600) (Hose (conn to filter) # L:600->0, MODEL:91 ) (Hose (5.3x10.5x600))

под заказ1160 руб.
709355-53001-600

   (актуальный код замены) Шланг (5.3x10.5x600) - Hose (5.3x10.5x600)

под заказ1160 руб.
809352-50903-600

Шланг (5x9x600) - Hose (5x9x600) (L:600->50 ) (Hose (5x9x600))

под заказ570 руб.
809352-50006-600

   (актуальный код замены) Шланг (5x9x600) - Hose (5x9x600)

1 шт570 руб.
809354-53103-600

Шланг (5.3x10.5x600) - Hose (53x105x600) (Hose (conn to filter) # L:600->50, MODEL:91 ) (Hose (5.3x10.5x600))

под заказ1160 руб.
809355-53001-600

   (актуальный код замены) Шланг (5.3x10.5x600) - Hose (5.3x10.5x600)

под заказ1160 руб.
909401-08410-000

Зажим - Clip (Clip)

под заказ130 руб.
909401-10410-000

Зажим - Clip (Clip # MODEL:91 ) (Clip)

под заказ170 руб.
1066100-98600-000

Топливный кран в сборе - Cock Assy, Fuel (Cock assy, fuel ) (Cock Assy, Fuel)

под заказ3960 руб.
1066100-98601-000

   (актуальный код замены) Топливный кран в сборе - Cock Assy, Fuel

под заказ3960 руб.
1166171-98301-000

Чаша фильтра - Cup, Filter (Cup, Filter)

под заказ520 руб.
1266152-98300-000

Net, Фильтр - Net, Filter (Net, Filter)

2 шт180 руб.
1366273-98300-000

Прокладка, Топливный фильтр Cвыше - Gasket, Fuel Filter Cup (Gasket, Fuel Filter Cup)

под заказ200 руб.
1366273-98301-000

   (актуальный код замены) Прокладка, Топливный фильтр Cвыше - Gasket, Fuel Filter Cup

1 шт200 руб.
1402112-04127-000

Винт - Screw (Screw)

под заказ140 руб.
1508322-01047-000

Шайба - Washer (Washer)

под заказ140 руб.
1609103-06048-000

Болт (6x20) - Bolt (6x20) (Bolt (6x20))

под заказ180 руб.
1709355-54115-600

Шланг (5.4x11.4x600) - Hose (54x114x600) (Hose, vacuum # L:600->1 ) (Hose (5.4x11.4x600))

под заказ1180 руб.
1809401-10409-000

Зажим - Clip (Clip)

под заказ170 руб.


Время выполнения запроса 4.3545808792114 сек.

 
 

данный сайт носит информационный характер и не является публичной офертой

склад запчастей для водомоторной техники