| |
 |
|
 |
Вернуться к выбору узлов мотора
ДЕТАЛИРОВКА ДЛЯ МОДЕЛИ: SUZUKI DT4 M
Сцепление
Год выпуска двигателя: 1991
Цвет: Francois Whte №2,Arctic Silver,Black,Pure White,California Gray Metallic,California Gray,Pearl Still White,Marrone Beige №2,Gold (Tape)
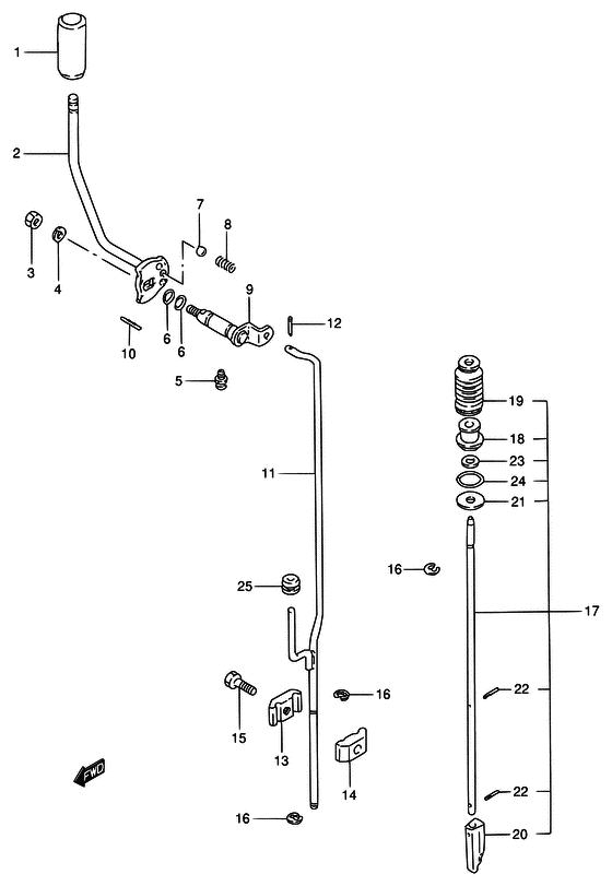
Номер на рисунке | Артикул | Наименование | QTY | Кол-во на складе | Цена |
| 1 | 21141-98500-000 | Рукоятка рычага сцепления - Knob, Clutch Lever (Knob, clutch lever ) (Knob, Clutch Lever) | | под заказ | 520 руб. |
| 2 | 21110-98611-000 | Рычаг сцепления - Lever, Clutch (<-1110-98610) (Lever, Clutch) | | под заказ | 3150 руб. |
| 2 | 21110-98503-000 | (актуальный код замены) Рычаг сцепления - Lever, Clutch | | под заказ | 3150 руб. |
| 2 | 21110-98503-000 | Рычаг сцепления - Lever, Clutch (Lever, Clutch) | | под заказ | 3150 руб. |
| 3 | 09140-08016-000 | Гайка - Nut (Nut) | | под заказ | 190 руб. |
| 3 | 09140-08023-XC0 | Гайка - Nut (Nut) | | 14 шт | 190 руб. |
| 4 | 09162-08007-000 | Шайба с блокировкой - Washer, Lock (Lock washer ) (Washer, Lock) | | под заказ | 160 руб. |
| 5 | 22511-99010-000 | Ниппель смазки - Nipple, Grease (<-2511-99003) (Nipple, Grease) | | под заказ | 340 руб. |
| 5 | 22511-99011-000 | (актуальный код замены) Ниппель смазки - Nipple, Grease | | 12 шт | 400 руб. |
| 5 | 22511-99011-000 | Ниппель смазки - Nipple, Grease (Nipple, Grease) | | 12 шт | 400 руб. |
| 6 | 09280-09005-000 | Уплотнительное кольцо (d: 1.9, Id: 8.6) - O Ring (d:19, Id:86) (<-9280-09003 ) (O Ring (d:1.9, Id:8.6)) | | 9 шт | 390 руб. |
| 7 | 09260-10005-000 | Шарик - Ball (Steel ball ) (Ball) | | 4 шт | 210 руб. |
| 8 | 09440-07021-000 | Пружина - Spring (Spring, clutch notch ) (Spring) | | под заказ | 160 руб. |
| 9 | 21210-98601-000 | Сцепление Вал Рычаг - Shaft, Clutch Lever (Shaft, clutch lever # <-1210-98600 ) (Shaft, Clutch Lever) | | под заказ | 0 руб. |
| 10 | 09205-05014-000 | Стопор пружины (5x18) - Pin, Spring (5x18) (Pin, clutch lever (l:18) ) (Pin, Spring (5x18)) | | под заказ | 180 руб. |
| 11 | 23110-98601-000 | Тяга сцепления (l) - Rod, Clutch (l) (Rod, clutch (l) ) (Rod, Clutch (l)) | | под заказ | 0 руб. |
| 11 | 23110-98611-000 | Тяга сцепления (s) - Rod, Clutch (s) (Rod, clutch (s) ) (Rod, Clutch (s)) | | под заказ | 2270 руб. |
| 12 | 09204-01002-000 | Штифт - Pin (Cotter pin ) (Pin) | | 24 шт | 140 руб. |
| 13 | 23311-99001-000 | Коннектор тяги сцепления №1 - Connector, Clutch Rod No1 (Connector, clutch rod (1) ) (Connector, Clutch Rod No.1) | | под заказ | 1460 руб. |
| 14 | 23321-99001-000 | Коннектор тяги сцепления №2 - Connector, Clutch Rod No2 (Connector, clutch rod (2) ) (Connector, Clutch Rod No.2) | | под заказ | 1560 руб. |
| 15 | 09138-06037-000 | Болт (6x20) - Bolt (6x20) (Bolt (6x20) ) (Bolt (6x20)) | | под заказ | 360 руб. |
| 16 | 09383-04002-000 | Уплотнительное кольцо - E Ring (E Ring) | | 18 шт | 80 руб. |
| 17 | 25100-98603-000 | Запчасть снята с производства - The Spare Part Is Laid Off (<-5100-98602) (The Spare Part Is Laid Off) | | под заказ | 0 руб. |
| 18 | 25211-98601-000 | Направляющая переключающей тяги - Guide, Shift Rod (<-5211-98600 ) (Guide, Shift Rod) | | 3 шт | 390 руб. |
| 19 | 25222-93901-000 | Башмак переключающей тяги - Boot, Shift Rod (Boot, Shift Rod) | | 1 шт | 930 руб. |
| 19 | 25222-93902-000 | (актуальный код замены) Башмак переключающей тяги - Boot, Shift Rod | | 23 шт | 930 руб. |
| 19 | SK25222-93901 | (не оригинальный аналог) Гофра тяги переключения передач Skipper для Suzuki DT4-5/9.9-15/DF4-15 | | 0 шт | 176 руб. |
| 20 | 25311-93910-000 | Кулачок переключателя - Cam, Shift (<-5311-93900 ) (Cam, Shift) | | под заказ | 3000 руб. |
| 20 | 25311-93E00-000 | Запчасть снята с производства - The Spare Part Is Laid Off (MODEL:00) (The Spare Part Is Laid Off) | | под заказ | 0 руб. |
| 20 | 25311-93E10-000 | (актуальный код замены) Запчасть снята с производства - The Spare Part Is Laid Off | | под заказ | 0 руб. |
| 21 | 09160-05011-000 | Шайба (5.5x20x1.2) - Washer (55x20x12) (Washer (5.5x20x1.2)) | | под заказ | 140 руб. |
| 21 | 09160-05501-000 | (актуальный код замены) Шайба (5.5x20x1.2) - Washer (5.5x20x1.2) | | 7 шт | 140 руб. |
| 21 | 09160-05501-000 | Шайба (5.5x20x1.2) - Washer (55x20x12) (Washer (5.5x20x1.2) ) (Washer (5.5x20x1.2)) | | 7 шт | 140 руб. |
| 21 | 09160-05501-000 | Шайба (5.5x20x1.2) - Washer (55x20x12) (Washer (5.5x20x1.2) # MODEL:97~00 ) (Washer (5.5x20x1.2)) | | 7 шт | 140 руб. |
| 22 | 09205-02006-000 | Стопор пружины (2x12) - Pin, Spring (2x12) (Pin, spring ) (Pin, Spring (2x12)) | | 10 шт | 140 руб. |
| 23 | 09280-05008-000 | Уплотнительное кольцо (d: 2.9, Id: 4.8) - O Ring (d:29, Id:48) (O ring (d:2.9 id:4.8) # <-9280-05006 ) (O Ring (d:2.9, Id:4.8)) | | 33 шт | 210 руб. |
| 24 | 09280-15007-000 | Уплотнительное кольцо (d: 2.4, Id: 15.8) - O Ring (d:24, Id:158) (<-9280-16011 ) (O Ring (d:2.4, Id:15.8)) | | 27 шт | 160 руб. |
| 25 | 09320-04010-000 | Втулка - Bush (Bush) | | 6 шт | 190 руб. |
Время выполнения запроса 1.7314689159393 сек. |
|