| |
 |
|
 |
Вернуться к выбору узлов мотора
ДЕТАЛИРОВКА ДЛЯ МОДЕЛИ: SUZUKI DT4 S
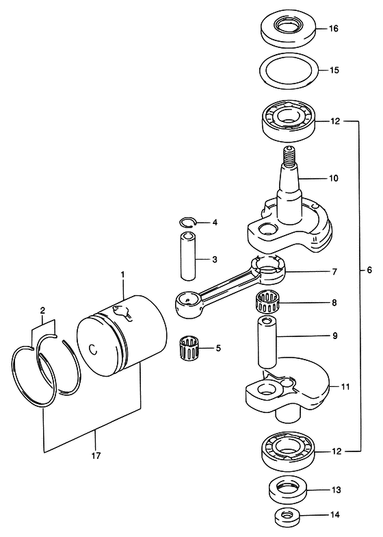
Коленвал
Год выпуска двигателя: 1995
Цвет: Francois Whte №2,Arctic Silver,Black,Pure White,California Gray Metallic,California Gray,Pearl Still White,Marrone Beige №2,Gold (Tape)
Номер на рисунке | Артикул | Наименование | QTY | Кол-во на складе | Цена |
| 1 | 12110-986A0-000 | Поршень - Piston (Piston) | | под заказ | 16130 руб. |
| 1 | 12110-986B0-000 | (актуальный код замены) Поршень - Piston | | 1 шт | 16130 руб. |
| 1 | 12110-986B0-000 | Поршень - Piston (Piston) | | 1 шт | 16130 руб. |
| 2 | 12140-986A0-000 | Поршневые кольца - Ring Set, Piston (Ring set, piston ) (Ring Set, Piston) | | под заказ | 4590 руб. |
| 3 | 12151-90600-000 | Поршневой палец - Pin, Piston (Pin, Piston) | | 6 шт | 650 руб. |
| 4 | 09381-12001-000 | Пружинное кольцо - Ring, Snap (Circlip ) (Ring, Snap) | | 6 шт | 120 руб. |
| 5 | 09263-12023-000 | Подшипник (12x16x16) - Bearing (12x16x16) (Bearing (12x16x15.8) ) (Bearing (12x16x16)) | | 5 шт | 1030 руб. |
| 6 | 12200-986A0-000 | Коленвал в сборе - Crankshaft Assy (Crankshaft Assy) | | под заказ | 0 руб. |
| 7 | 12161-98602-000 | Шатун - Rod, Connecting (Rod, connecting ) (Rod, Connecting) | | под заказ | 7640 руб. |
| 8 | 09263-17022-000 | Подшипник (17x23x14) - Bearing (17x23x14) (Bearing, crank pin ) (Bearing (17x23x14)) | | под заказ | 2210 руб. |
| 9 | 12211-96001-000 | Штифт кривошипа - Pin, Crank (Pin, Crank) | | 3 шт | 2670 руб. |
| 10 | 12221-986A0-000 | Коленвал, вышеr - Crankshaft, Upr (Crankshaft, upper ) (Crankshaft, Upr) | | под заказ | 0 руб. |
| 11 | 12240-986A0-000 | Коленвал, Under - Crankshaft, Under (Crankshaft, under ) (Crankshaft, Under) | | под заказ | 0 руб. |
| 12 | 09262-20069-000 | Подшипник (20x47x14) - Bearing (20x47x14) (Bearing (20x47x14)) | | 3 шт | 2160 руб. |
| 12 | 62048HKOYO | (подбор по маркировке) Подшипник NSK 6204(20*47*14 мм) | | под заказ | 0 |
| 13 | 09283-20018-000 | Сальник (20x37x9) - Seal, Oil (20x37x9) (Seal, Oil (20x37x9)) | | 7 шт | 1110 руб. |
| 13 | 09283-20072-000 | (актуальный код замены) Сальник (20x37x9) - Seal, Oil (20x37x9) | | 2 шт | 1110 руб. |
| 13 | SC-OL073 | (не оригинальный аналог) Сальник коленвала Suzuki SC-OL073 | | под заказ | 240 руб. |
| 14 | 09283-10003-000 | Сальник (10x22x6) - Seal, Oil (10x22x6) (Oil seal, upper drive shaft ) (Seal, Oil (10x22x6)) | | 19 шт | 800 руб. |
| 15 | 09160-38001-000 | Шайба (38x51x1) - Washer (38x51x1) (Washer (38x51x1)) | | под заказ | 0 руб. |
| 16 | 09283-20045-000 | Сальник (20x47x8) - Seal, Oil (20x47x8) (Oil seal ) (Seal, Oil (20x47x8)) | | 14 шт | 980 руб. |
| 17 | 12100-986A0-025 | Комплект поршня (os: 0.25) - Piston Set (os:025) (OPT) (Piston Set (os:0.25)) | | под заказ | 0 руб. |
| 17 | 12100-986B0-025 | (актуальный код замены) Запчасть снята с производства - The Spare Part Is Laid Off | | под заказ | 0 руб. |
| 17 | 12100-986B0-025 | Комплект поршня (os: 0.25) - Piston Set (os:025) (Piston Set (os:0.25)) | | под заказ | 0 руб. |
| 17 | 12100-986A0-050 | Комплект поршня (os: 0.5) - Piston Set (os:05) (OPT) (Piston Set (os:0.5)) | | под заказ | 0 руб. |
| 17 | 12100-986B0-050 | (актуальный код замены) Запчасть снята с производства - The Spare Part Is Laid Off | | под заказ | 0 руб. |
| 17 | 12100-986B0-050 | Комплект поршня (os: 0.5) - Piston Set (os:05) (Piston Set (os:0.5)) | | под заказ | 0 руб. |
Время выполнения запроса 2.8454170227051 сек. |
|