| |
 |
|
 |
Вернуться к выбору узлов мотора
ДЕТАЛИРОВКА ДЛЯ МОДЕЛИ: SUZUKI DT4V(E1) V
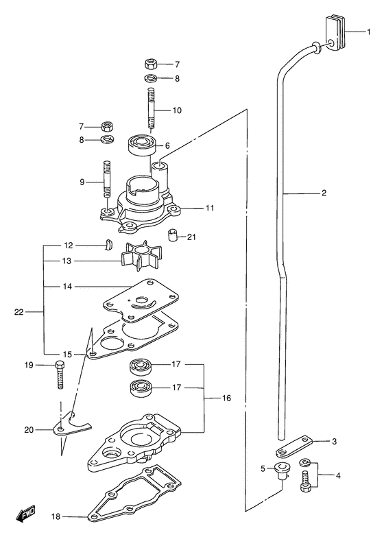
Водяной насос
Год выпуска двигателя: 1997
Регион: General Export No.1 ,Код региона: P01
Цвет: Francois Whte №2,Arctic Silver,Black,Pure White,California Gray Metallic,California Gray,Pearl Still White,Marrone Beige №2,Gold (Tape)
Номер на рисунке | Артикул | Наименование | QTY | Кол-во на складе | Цена |
| 1 | 17563-98500-000 | Пыльник - Grommet (Grommet, water tube # Grommet, water tube; ) (Grommet) | | 12 шт | 290 руб. |
| 2 | 17561-98611-000 | Водяная трубка (s) - Tube, Water (s) (Tube, water (s) # Tube, water (s); ) (Tube, Water (s)) | | под заказ | 2060 руб. |
| 2 | 17561-98601-000 | Водяная трубка (l) - Tube, Water (l) (Tube, water (l) # Tube, water (l); ) (Tube, Water (l)) | | под заказ | 2600 руб. |
| 3 | 17564-98600-000 | Направляющая трубки водяного насоса - Guide, Water Tube (Guide, Water Tube) | | 5 шт | 370 руб. |
| 4 | 09117-06038-000 | Болт (6x16) - Bolt (6x16) (Bolt (6x16);) (Bolt (6x16)) | | под заказ | 220 руб. |
| 4 | 09117-06030-000 | (актуальный код замены) Болт (6x16) - Bolt (6x16) | | под заказ | 220 руб. |
| 4 | 09117-06030-000 | Болт (6x16) - Bolt (6x16) (Bolt (6x16) ) (Bolt (6x16)) | | под заказ | 220 руб. |
| 5 | 17415-98501-000 | Пыльник корпуса водяного насоса - Grommet, Water Pump Case (Grommet, water pump # Grommet, water pump; ) (Grommet, Water Pump Case) | | 23 шт | 260 руб. |
| 6 | 09289-10002-000 | Сальник (10x22x8) - Seal, Oil (10x22x8) (Seal, oil # Oil seal, pump case; 10x22x8 ) (Seal, Oil (10x22x8)) | | 8 шт | 1460 руб. |
| 7 | 09140-06020-000 | Гайка - Nut (Nut) | | 9 шт | 150 руб. |
| 8 | 09162-06006-000 | Шайба с блокировкой - Washer, Lock (Lock washer ) (Washer, Lock) | | под заказ | 160 руб. |
| 9 | 09108-06068-000 | Болт под шпильку - Bolt, Stud (Stud bolt (l:35); Dt4, ~model:95 ) (Bolt, Stud) | | под заказ | 340 руб. |
| 10 | 09108-06069-000 | Болт под шпильку - Bolt, Stud (Bolt, stud # Stud bolt (l:40); Dt4, ~model:95 ) (Bolt, Stud) | | 37 шт | 320 руб. |
| 11 | 17411-98600-000 | | | под заказ | нет сведений |
| 11 | 09108-06069-000 | Болт под шпильку - Bolt, Stud (Bolt, stud ) (Bolt, Stud) | | 37 шт | 320 руб. |
| 11 | 17411-98611-000 | Корпус водяного насоса - Case, Water Pump (Case, Water Pump) | | 2 шт | 11300 руб. |
| 11 | 17411-98611-000 | Корпус водяного насоса - Case, Water Pump (Model:95~00, ) (Case, Water Pump) | | 2 шт | 11300 руб. |
| 12 | 09420-03002-000 | Ключ - Key (Key) | | 22 шт | 290 руб. |
| 12 | SK09420-03002 | (не оригинальный аналог) Шпонка помпы охлаждения Skipper для Suzuki DF4-6, DF4A-6A | | 0 шт | 99 руб. |
| 13 | 17461-98502-000 | Крыльчатка водяного насоса - Impeller, Water Pump (Impeller, water pump;) (Impeller, Water Pump) | | под заказ | 2030 руб. |
| 13 | 17461-985M0-000 | (актуальный код замены) Крыльчатка водяного насоса - Impeller, Water Pump | | 39 шт | 2220 руб. |
| 13 | SC-WT093 | (не оригинальный аналог) Крыльчатка помпы охлаждения двигателя Suzuki SC-WT093 | | под заказ | 950 руб. |
| 13 | 17461-985M0-000 | Крыльчатка водяного насоса - Impeller, Water Pump (Impeller, Water Pump) | | 39 шт | 2220 руб. |
| 14 | 17471-98601-000 | Панель в нижней части корпуса помпы - Panel, Pump Case Under (Panel, water pumpe # Panel, water pumpe; ) (Panel, Pump Case Under) | | 4 шт | 600 руб. |
| 14 | SK17471-98601 | (не оригинальный аналог) Пластина помпы Skipper для Suzuki DT4/5 | | 0 шт | 224 руб. |
| 15 | 17472-98611-000 | Прокладка панели корпуса помпы - Gasket, Pump Case Panel (Gasket, pump panel # Gasket, pump panel; ) (Gasket, Pump Case Panel) | | 2 шт | 310 руб. |
| 16 | 56130-98602-000 | Корпус подшипника приводного вала - Housing, Drive Shaft Brg (Housing, drive shaft bearing ) (Housing, Drive Shaft Brg) | | под заказ | 30480 руб. |
| 17 | 09282-10008-000 | Сальник (10x21x4.5) - Seal, Oil (10x21x45) (Seal, prop sft oil # Seal; ) (Seal, Oil (10x21x4.5)) | | 707 шт | 430 руб. |
| 17 | SC-OL038 | (не оригинальный аналог) Сальник редуктора Suzuki SC-OL038 | | под заказ | 220 руб. |
| 18 | 56132-98610-000 | Прокладка корпуса вала передачи - Gasket, Drive Shaft Housing (Gasket, drive shaft housing ) (Gasket, Drive Shaft Housing) | | 3 шт | 910 руб. |
| 19 | 09117-06039-000 | Болт (6x25) - Bolt (6x25) (Bolt (6x25);) (Bolt (6x25)) | | под заказ | 310 руб. |
| 19 | 09117-06049-000 | (актуальный код замены) Болт (6x25) - Bolt (6x25) | | 9 шт | 310 руб. |
| 19 | 09117-06049-000 | Болт (6x25) - Bolt (6x25) (Bolt (6x25) ) (Bolt (6x25)) | | 9 шт | 310 руб. |
| 20 | 25215-98601-000 | Стопор переключателя направляющей тяги - Stopper, Shift Rod Guide (Stopper, Shift Rod Guide) | | 3 шт | 280 руб. |
| 21 | 09202-04008-000 | Штифт (4x9) - Pin (4x9) (Pin, knock # Pin; Model:99, 00 ) (Pin (4x9)) | | 4 шт | 150 руб. |
| 22 | 17400-98651-000 | Ремкомплект водяного насоса - Kit, Water Pump Repair (Opt) (Kit, Water Pump Repair) | | под заказ | 3270 руб. |
| 22 | 17400-98652-000 | (актуальный код замены) Ремкомплект водяного насоса - Kit, Water Pump Repair | | 4 шт | 3010 руб. |
| 22 | 17400-98652-000 | Ремкомплект водяного насоса - Kit, Water Pump Repair (Kit, Water Pump Repair) | | 4 шт | 3010 руб. |
Время выполнения запроса 0.87207794189453 сек. |
|