| |
 |
|
 |
Вернуться к выбору узлов мотора
ДЕТАЛИРОВКА ДЛЯ МОДЕЛИ: SUZUKI DT4 W
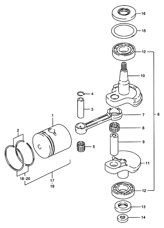
Коленвал
Год выпуска двигателя: 1998
Цвет: Francois Whte №2,Arctic Silver,Black,Pure White,California Gray Metallic,California Gray,Pearl Still White,Marrone Beige №2,Gold (Tape)
Номер на рисунке | Артикул | Наименование | QTY | Кол-во на складе | Цена |
| 1 | 12110-98601-000 | Поршень (50.00 мм) - Piston (5000mm) (Piston (50.00mm)) | | под заказ | 0 руб. |
| 2 | 12140-99604-000 | Поршневые кольца - Ring Set, Piston (Ring set, piston # <-2140-99603 ) (Ring Set, Piston) | | под заказ | 3940 руб. |
| 3 | 12151-35400-000 | Поршневой палец - Pin, Piston (<-2151-25000 ) (Pin, Piston) | | под заказ | 680 руб. |
| 4 | 09381-12001-000 | Пружинное кольцо - Ring, Snap (Circlip ) (Ring, Snap) | | 6 шт | 120 руб. |
| 5 | 09263-12023-000 | Подшипник (12x16x16) - Bearing (12x16x16) (Bearing (12x16x15.8) ) (Bearing (12x16x16)) | | 5 шт | 1030 руб. |
| 6 | 12200-98604-000 | Коленвал в сборе - Crankshaft Assy (Crankshaft assy # DT4, <-2200-98603 ) (Crankshaft Assy) | | под заказ | 0 руб. |
| 6 | 12200-98900-000 | Запчасть снята с производства - The Spare Part Is Laid Off (J4) (The Spare Part Is Laid Off) | | под заказ | 0 руб. |
| 7 | 12161-98602-000 | Шатун - Rod, Connecting (Rod, connecting ) (Rod, Connecting) | | под заказ | 7640 руб. |
| 8 | 09263-17022-000 | Подшипник (17x23x14) - Bearing (17x23x14) (Bearing, crank pin # <-9263-17010 ) (Bearing (17x23x14)) | | под заказ | 2210 руб. |
| 9 | 12211-96001-000 | Штифт кривошипа - Pin, Crank (Pin, Crank) | | 3 шт | 2670 руб. |
| 10 | 12221-98600-000 | Запчасть снята с производства - The Spare Part Is Laid Off (The Spare Part Is Laid Off) | | под заказ | 0 руб. |
| 11 | 12240-98602-000 | Коленвал, Under - Crankshaft, Under (DT4, <-2240-98601) (Crankshaft, Under) | | под заказ | 0 руб. |
| 11 | 12240-986A0-000 | (актуальный код замены) Запчасть снята с производства - The Spare Part Is Laid Off | | под заказ | 0 руб. |
| 11 | 12240-986A0-000 | Коленвал, Under - Crankshaft, Under (Crankshaft, under ) (Crankshaft, Under) | | под заказ | 0 руб. |
| 12 | 09262-20069-000 | Подшипник (20x47x14) - Bearing (20x47x14) (<-9262-20062 ) (Bearing (20x47x14)) | | 3 шт | 2160 руб. |
| 12 | 62048HKOYO | (подбор по маркировке) Подшипник NSK 6204(20*47*14 мм) | | под заказ | 0 |
| 13 | 09283-20018-000 | Сальник (20x37x9) - Seal, Oil (20x37x9) (Seal, Oil (20x37x9)) | | 7 шт | 1110 руб. |
| 13 | 09283-20072-000 | (актуальный код замены) Сальник (20x37x9) - Seal, Oil (20x37x9) | | 2 шт | 1110 руб. |
| 13 | SC-OL073 | (не оригинальный аналог) Сальник коленвала Suzuki SC-OL073 | | под заказ | 240 руб. |
| 14 | 09283-10003-000 | Сальник (10x22x6) - Seal, Oil (10x22x6) (Oil seal, upper drive shaft # <-9282-10010 ) (Seal, Oil (10x22x6)) | | 19 шт | 800 руб. |
| 15 | 09160-38001-000 | Шайба (38x51x1) - Washer (38x51x1) (Washer (38x51x1)) | | под заказ | 0 руб. |
| 16 | 09283-20045-000 | Сальник (20x47x8) - Seal, Oil (20x47x8) (Oil seal ) (Seal, Oil (20x47x8)) | | 14 шт | 980 руб. |
| 17 | 12100-98601-025 | Запчасть снята с производства - The Spare Part Is Laid Off (OPT) (The Spare Part Is Laid Off) | | под заказ | 0 руб. |
| 18 | 12140-28630-025 | Запчасть снята с производства - The Spare Part Is Laid Off (OPT) (The Spare Part Is Laid Off) | | под заказ | 0 руб. |
| 19 | 12100-98601-050 | Запчасть снята с производства - The Spare Part Is Laid Off (OPT) (The Spare Part Is Laid Off) | | под заказ | 0 руб. |
| 20 | 12140-28630-050 | Поршневые кольца (os: 0.50) - Ring Set, Piston (os:050) (Ring set, piston # OPT ) (Ring Set, Piston (os:0.50)) | | под заказ | 5480 руб. |
Время выполнения запроса 1.4460859298706 сек. |
|