Подобрать оригинальные запчасти на подвесной лодочный мотор Suzuki - Fuel tank
вконтакте

Контактный телефон: +7 (981) 121-46-93, +7 (800) 200-90-76 , Email: parts-katalog@yandex.ru, где купить

 
 

  Логин:

Пароль:

Регистрация

www.partskatalog.ru Все каталоги Запчасти Mercury Запчасти Suzuki Запчасти Tohatsu Запчасти Honda Контакты



УВАЖАЕМЫЕ КЛИЕНТЫ!
C 19 ДЕКАБРЯ 2025 ПО 02 МАРТА 2026 ГОДА ОТДЕЛ ЗАПЧАСТЕЙ И СЕРВИС РАБОТАТЬ НЕ БУДУТ
ПРОДАЖА ЛОДОЧНЫХ МОТОРОВ В ШТАТНОМ РЕЖИМЕ
ОБ ИЗМЕНЕНИЯХ В ГРАФИКЕ РАБОТЫ ЧИТАЙТЕ НА САЙТА



назад Раздел:   вперёд

Вернуться к выбору узлов мотора


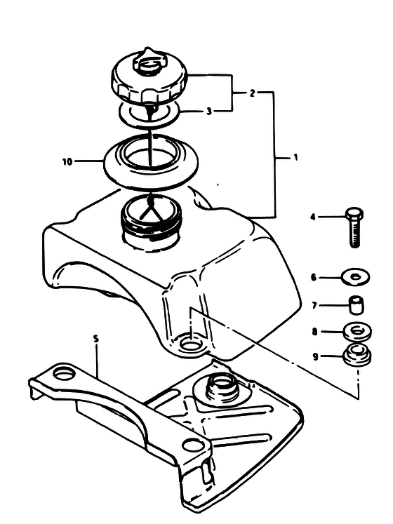
ДЕТАЛИРОВКА ДЛЯ МОДЕЛИ: SUZUKI DT4.5 C

Топливный бак


Год выпуска двигателя: 1978

Номер на
рисунке
АртикулНаименованиеQTYКол-во
на складе
Цена
165100-98860-000

Запчасть снята с производства - The Spare Part Is Laid Off (TO 65100-98861) (The Spare Part Is Laid Off)

под заказ0 руб.
165100-98864-000

   (актуальный код замены) Запчасть снята с производства - The Spare Part Is Laid Off

под заказ0 руб.
165100-98861-000

Запчасть снята с производства - The Spare Part Is Laid Off (The Spare Part Is Laid Off)

под заказ0 руб.
165100-98864-000

   (актуальный код замены) Запчасть снята с производства - The Spare Part Is Laid Off

под заказ0 руб.
265510-98402-000

Крышка горловины топливного бака, в сборе - Cap Assy, Fuel Tank (Cap assy, fuel tank ) (Cap Assy, Fuel Tank)

1 шт0 руб.
309168-32001-000

Прокладка (32x48x2.5) - Gasket (32x48x25) (Gasket (32x48x2.5))

под заказ250 руб.
309168-32003-000

   (актуальный код замены) Прокладка (32x48x2.5) - Gasket (32x48x2.5)

10 шт250 руб.
401107-06308-000

Болт - Bolt (Bolt)

под заказ190 руб.
401500-06307-000

   (актуальный код замены) Болт - Bolt

под заказ190 руб.
401500-06307-000

Болт - Bolt (Bolt)

под заказ190 руб.
565120-98300-000

Запчасть снята с производства - The Spare Part Is Laid Off (The Spare Part Is Laid Off)

под заказ0 руб.
609160-06054-000

Шайба (6.5x22x1.6) - Washer (65x22x16) (Washer (6.5x22x1.6) ) (Washer (6.5x22x1.6))

под заказ120 руб.
709180-06006-000

Проставка (7.2x10x11.5) - Spacer (72x10x115) (Spacer (7.2x10x11.5))

под заказ230 руб.
709180-07019-000

   (актуальный код замены) Проставка (7.2x10x11.5) - Spacer (7.2x10x11.5)

под заказ230 руб.
709180-07019-000

Проставка (7.2x10x11.5) - Spacer (72x10x115) (Spacer (7.2x10x11.5))

под заказ230 руб.
809320-10016-000

Подушка - Cushion (Cushion, fuel tank upper ) (Cushion)

под заказ270 руб.
909320-09013-000

Запчасть снята с производства - The Spare Part Is Laid Off (The Spare Part Is Laid Off)

под заказ0 руб.
1065281-98300-000

Запчасть снята с производства - The Spare Part Is Laid Off (The Spare Part Is Laid Off)

под заказ0 руб.


Время выполнения запроса 0.7309718132019 сек.

 
 

данный сайт носит информационный характер и не является публичной офертой

склад запчастей для водомоторной техники