Купить комплектующие на подвесной двигатель Suzuki - Fuel gauge:
вконтакте

Контактный телефон: +7 (981) 121-46-93, +7 (800) 200-90-76 , Email: parts-katalog@yandex.ru, где купить

 
 

  Логин:

Пароль:

Регистрация

www.partskatalog.ru Все каталоги Запчасти Mercury Запчасти Suzuki Запчасти Tohatsu Запчасти Honda Контакты



УВАЖАЕМЫЕ КЛИЕНТЫ!
C 19 ДЕКАБРЯ 2025 ПО 02 МАРТА 2026 ГОДА ОТДЕЛ ЗАПЧАСТЕЙ И СЕРВИС РАБОТАТЬ НЕ БУДУТ
ПРОДАЖА ЛОДОЧНЫХ МОТОРОВ В ШТАТНОМ РЕЖИМЕ
ОБ ИЗМЕНЕНИЯХ В ГРАФИКЕ РАБОТЫ ЧИТАЙТЕ НА САЙТА



назад Раздел:   вперёд

Вернуться к выбору узлов мотора


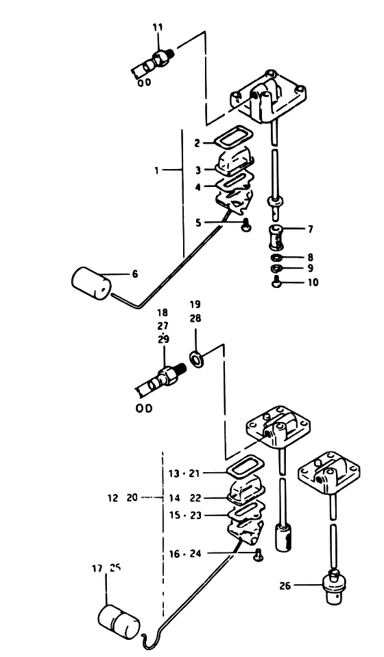
ДЕТАЛИРОВКА ДЛЯ МОДЕЛИ: SUZUKI DT5 G

Fuel gauge:


Год выпуска двигателя: 1980

Цвет: Francois Whte №2,Arctic Silver

Номер на
рисунке
АртикулНаименованиеQTYКол-во
на складе
Цена
165850-98510-000

Запчасть снята с производства - The Spare Part Is Laid Off (~0501-005543 MODEL G) (The Spare Part Is Laid Off)

под заказ0 руб.
265854-93001-000

Прокладка - Gasket (MODEL G ) (Gasket)

под заказ0 руб.
365853-93001-000

Топливный фильтр Gauge - Strainer, Fuel Gauge (MODEL G ) (Strainer, Fuel Gauge)

под заказ0 руб.
465862-93000-000

Запчасть снята с производства - The Spare Part Is Laid Off (MODEL G) (The Spare Part Is Laid Off)

под заказ0 руб.
465862-93060-000

   (актуальный код замены) Запчасть снята с производства - The Spare Part Is Laid Off

под заказ0 руб.
502112-04108-000

Винт - Screw (MODEL G) (Screw)

под заказ120 руб.
502112-04107-000

   (актуальный код замены) Винт - Screw

под заказ120 руб.
502112-04107-000

Винт - Screw (Screw)

под заказ120 руб.
665864-93000-000

Запчасть снята с производства - The Spare Part Is Laid Off (MODEL G) (The Spare Part Is Laid Off)

под заказ0 руб.
765830-93301-000

Запчасть снята с производства - The Spare Part Is Laid Off (MODEL G) (The Spare Part Is Laid Off)

под заказ0 руб.
808322-21058-000

Шайба - Washer (MODEL G) (Washer)

под заказ140 руб.
808322-01057-000

   (актуальный код замены) Шайба - Washer

под заказ140 руб.
808322-01057-000

Шайба - Washer (Washer, front hook holder ) (Washer)

под заказ140 руб.
908321-21058-000

Шайба с блокировкой - Washer, Lock (MODEL G) (Washer, Lock)

под заказ140 руб.
908321-0105A-000

   (актуальный код замены) Шайба с блокировкой - Washer, Lock

под заказ140 руб.
908321-0105A-000

Шайба с блокировкой - Washer, Lock (Washer, Lock)

под заказ140 руб.
1002112-05088-000

Винт - Screw (MODEL G) (Screw)

под заказ120 руб.
1002112-05087-000

   (актуальный код замены) Винт - Screw

под заказ120 руб.
1002112-05087-000

Винт - Screw (Screw)

под заказ120 руб.
1165720-98511-000

Запчасть снята с производства - The Spare Part Is Laid Off (M10, OD:11<-, MODEL G) (The Spare Part Is Laid Off)

под заказ0 руб.
1265850-98100-000

Запчасть снята с производства - The Spare Part Is Laid Off (0501-005544~ MODEL G) (The Spare Part Is Laid Off)

под заказ0 руб.
1265850-98105-000

   (актуальный код замены) Запчасть снята с производства - The Spare Part Is Laid Off

под заказ0 руб.
1365854-93001-000

Прокладка - Gasket (MODEL G ) (Gasket)

под заказ0 руб.
1465853-93001-000

Топливный фильтр Gauge - Strainer, Fuel Gauge (MODEL G ) (Strainer, Fuel Gauge)

под заказ0 руб.
1565862-93000-000

Запчасть снята с производства - The Spare Part Is Laid Off (MODEL G) (The Spare Part Is Laid Off)

под заказ0 руб.
1565862-93060-000

   (актуальный код замены) Запчасть снята с производства - The Spare Part Is Laid Off

под заказ0 руб.
1602112-04108-000

Винт - Screw (MODEL G) (Screw)

под заказ120 руб.
1602112-04107-000

   (актуальный код замены) Винт - Screw

под заказ120 руб.
1602112-04107-000

Винт - Screw (Screw)

под заказ120 руб.
1765864-93000-000

Запчасть снята с производства - The Spare Part Is Laid Off (MODEL G) (The Spare Part Is Laid Off)

под заказ0 руб.
1865740-95500-000

Разъем топливного коннектора - Plug, Fuel Connector (Connector, fuel # M12, OD:13<-, MODEL G ) (Plug, Fuel Connector)

под заказ2720 руб.
1865740-95501-000

   (актуальный код замены) Разъем топливного коннектора - Plug, Fuel Connector

под заказ2720 руб.
1909168-12001-000

Прокладка (12.5x20x1) - Gasket (125x20x1) (Gasket # MODEL G ) (Gasket (12.5x20x1))

под заказ220 руб.
2065850-98102-000

Запчасть снята с производства - The Spare Part Is Laid Off (MODEL J) (The Spare Part Is Laid Off)

под заказ0 руб.
2065850-98105-000

   (актуальный код замены) Запчасть снята с производства - The Spare Part Is Laid Off

под заказ0 руб.
2165854-93001-000

Прокладка - Gasket (MODEL J ) (Gasket)

под заказ0 руб.
2265853-93001-000

Топливный фильтр Gauge - Strainer, Fuel Gauge (MODEL J ) (Strainer, Fuel Gauge)

под заказ0 руб.
2365862-93000-000

Запчасть снята с производства - The Spare Part Is Laid Off (MODEL J) (The Spare Part Is Laid Off)

под заказ0 руб.
2365862-93060-000

   (актуальный код замены) Запчасть снята с производства - The Spare Part Is Laid Off

под заказ0 руб.
2402112-04108-000

Винт - Screw (MODEL J) (Screw)

под заказ120 руб.
2402112-04107-000

   (актуальный код замены) Винт - Screw

под заказ120 руб.
2402112-04107-000

Винт - Screw (Screw)

под заказ120 руб.
2565864-95200-000

Запчасть снята с производства - The Spare Part Is Laid Off (MODEL J) (The Spare Part Is Laid Off)

под заказ0 руб.
2665830-95500-000

Фильтр - Filter (MODEL J ) (Filter)

под заказ1180 руб.
2765740-95500-000

Разъем топливного коннектора - Plug, Fuel Connector (Connector, fuel # M12, OD:13<-, MODEL J ) (Plug, Fuel Connector)

под заказ2720 руб.
2765740-95501-000

   (актуальный код замены) Разъем топливного коннектора - Plug, Fuel Connector

под заказ2720 руб.
2809168-12001-000

Прокладка (12.5x20x1) - Gasket (125x20x1) (Gasket # MODEL J ) (Gasket (12.5x20x1))

под заказ220 руб.
2965720-98590-000

Разъем топливного коннектора - Plug, Fuel Connector (Plug, fuel connector # OPT, M12, OD:11<- ) (Plug, Fuel Connector)

10 шт0 руб.
2965720-98591-000

   (актуальный код замены) Запчасть снята с производства - The Spare Part Is Laid Off

под заказ0 руб.


Время выполнения запроса 1.2223250865936 сек.

 
 

данный сайт носит информационный характер и не является публичной офертой

склад запчастей для водомоторной техники