Подобрать оригинальные запчасти на подвесной лодочный двигатель Suzuki модель 1983 года - Clutch lever / Рычаг сцепления
вконтакте

Контактный телефон: +7 (981) 121-46-93, +7 (800) 200-90-76 , Email: parts-katalog@yandex.ru, где купить

 
 

  Логин:

Пароль:

Регистрация

www.partskatalog.ru Все каталоги Запчасти Mercury Запчасти Suzuki Запчасти Tohatsu Запчасти Honda Контакты



УВАЖАЕМЫЕ КЛИЕНТЫ!
C 19 ДЕКАБРЯ 2025 ПО 02 МАРТА 2026 ГОДА ОТДЕЛ ЗАПЧАСТЕЙ И СЕРВИС РАБОТАТЬ НЕ БУДУТ
ПРОДАЖА ЛОДОЧНЫХ МОТОРОВ В ШТАТНОМ РЕЖИМЕ
ОБ ИЗМЕНЕНИЯХ В ГРАФИКЕ РАБОТЫ ЧИТАЙТЕ НА САЙТА



назад Раздел:   вперёд

Вернуться к выбору узлов мотора


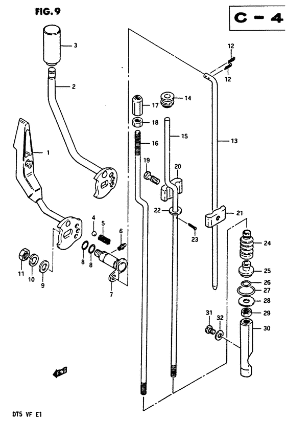
ДЕТАЛИРОВКА ДЛЯ МОДЕЛИ: SUZUKI DT5WQD(D/E/F) D

Рычаг сцепления


Год выпуска двигателя: 1983

Номер на
рисунке
АртикулНаименованиеQTYКол-во
на складе
Цена
121110-98101-02M

Рычаг сцепления (gray) - Lever, Clutch (gray) (Lever, Clutch (gray))

под заказ0 руб.
121110-98102-0ED

   (актуальный код замены) Запчасть снята с производства - The Spare Part Is Laid Off

под заказ0 руб.
121110-98102-0ED

Рычаг сцепления (gray) - Lever, Clutch (gray) (Lever, Clutch (gray))

под заказ0 руб.
221110-98502-000

Рычаг сцепления - Lever, Clutch (E7, e13, e38, e40) (Lever, Clutch)

под заказ3150 руб.
221110-98503-000

   (актуальный код замены) Рычаг сцепления - Lever, Clutch

под заказ3150 руб.
221110-98503-000

Рычаг сцепления - Lever, Clutch (Lever, Clutch)

под заказ3150 руб.
321141-98500-000

Рукоятка рычага сцепления - Knob, Clutch Lever (Knob, clutch lever # E7, e13, e38, e40 ) (Knob, Clutch Lever)

под заказ520 руб.
409260-10003-000

Шарик - Ball (~0301-336010 ~0502-351127) (Ball)

под заказ190 руб.
409260-10005-000

   (актуальный код замены) Шарик - Ball

4 шт210 руб.
409260-10005-000

Шарик - Ball (Steel ball ) (Ball)

4 шт210 руб.
409260-10005-000

Шарик - Ball (Steel ball # Ball, clutch notch; 0501-336011~ 0502-351128~ ) (Ball)

4 шт210 руб.
509440-07021-000

Пружина - Spring (Spring, clutch notch # Spring, clutch notch; ) (Spring)

под заказ160 руб.
622511-99000-000

Ниппель смазки - Nipple, Grease (Model qd/ve) (Nipple, Grease)

под заказ340 руб.
622511-99011-000

   (актуальный код замены) Ниппель смазки - Nipple, Grease

9 шт400 руб.
622511-99011-000

Ниппель смазки - Nipple, Grease (Nipple, Grease)

9 шт400 руб.
622511-99001-000

Ниппель смазки - Nipple, Grease (Model vf) (Nipple, Grease)

под заказ340 руб.
622511-99011-000

   (актуальный код замены) Ниппель смазки - Nipple, Grease

9 шт400 руб.
622511-99011-000

Ниппель смазки - Nipple, Grease (Nipple, Grease)

9 шт400 руб.
721210-98502-000

Сцепление Вал Рычаг - Shaft, Clutch Lever (Shaft, Clutch Lever)

под заказ0 руб.
721210-98503-000

   (актуальный код замены) Запчасть снята с производства - The Spare Part Is Laid Off

под заказ0 руб.
721210-98503-000

Сцепление Вал Рычаг - Shaft, Clutch Lever (Shaft, clutch lever ) (Shaft, Clutch Lever)

под заказ0 руб.
809280-09003-000

Уплотнительное кольцо (d: 1.9, Id: 8.6) - O Ring (d:19, Id:86) (O Ring (d:1.9, Id:8.6))

под заказ280 руб.
809280-09005-000

   (актуальный код замены) Уплотнительное кольцо (d: 1.9, Id: 8.6) - O Ring (d:1.9, Id:8.6)

9 шт390 руб.
809280-09005-000

Уплотнительное кольцо (d: 1.9, Id: 8.6) - O Ring (d:19, Id:86) (O Ring (d:1.9, Id:8.6))

9 шт390 руб.
909160-08015-000

Шайба (8.5x16x1.2) - Washer (85x16x12) (E7, e13, e38, e40) (Washer (8.5x16x1.2))

под заказ120 руб.
909160-08082-000

   (актуальный код замены) Шайба (8.5x16x1.2) - Washer (8.5x16x1.2)

13 шт120 руб.
909160-08082-000

Шайба (8.5x16x1.2) - Washer (85x16x12) (Washer (8.5x16x1.2))

13 шт120 руб.
1009162-08007-000

Шайба с блокировкой - Washer, Lock (Lock washer ) (Washer, Lock)

под заказ160 руб.
1109140-08016-000

Гайка - Nut (Nut)

под заказ190 руб.
1109140-08023-XC0

Гайка - Nut (Nut)

14 шт190 руб.
1209204-01001-000

под заказнет сведений
1209204-01002-000

Штифт - Pin (Cotter pin ) (Pin)

24 шт140 руб.
1323111-98510-000

Запчасть снята с производства - The Spare Part Is Laid Off (The Spare Part Is Laid Off)

под заказ0 руб.
1323111-98520-000

Тяга сцепления (l / ul) - Rod, Clutch (l/ul) (Rod, clutch (l type); ) (Rod, Clutch (l/ul))

под заказ0 руб.
1409305-06008-000

Втулка - Bush (Bush)

под заказ270 руб.
1409320-05023-000

   (актуальный код замены) Втулка - Bush

8 шт540 руб.
1409320-05017-000

Втулка - Bush (Bushing ) (Bush)

под заказ270 руб.
1409320-05023-000

   (актуальный код замены) Втулка - Bush

8 шт540 руб.
1525111-98510-000

Запчасть снята с производства - The Spare Part Is Laid Off (The Spare Part Is Laid Off)

под заказ0 руб.
1525111-98110-000

   (актуальный код замены) Запчасть снята с производства - The Spare Part Is Laid Off

под заказ0 руб.
1525111-98110-000

Запчасть снята с производства - The Spare Part Is Laid Off (Rod, shifting (s type);) (The Spare Part Is Laid Off)

под заказ0 руб.
1525111-98520-000

Запчасть снята с производства - The Spare Part Is Laid Off (The Spare Part Is Laid Off)

под заказ0 руб.
1525111-98120-000

   (актуальный код замены) Запчасть снята с производства - The Spare Part Is Laid Off

под заказ0 руб.
1525111-98120-000

Запчасть снята с производства - The Spare Part Is Laid Off (The Spare Part Is Laid Off)

под заказ0 руб.
1525111-98120-000

Запчасть снята с производства - The Spare Part Is Laid Off (Rod, shifting (l type);) (The Spare Part Is Laid Off)

под заказ0 руб.
1625111-98511-000

Запчасть снята с производства - The Spare Part Is Laid Off (Rod, shifting (s type, l:348); E7, e13, e38, e40) (The Spare Part Is Laid Off)

под заказ0 руб.
1625111-98521-000

Переключающая тяга (l) - Rod, Shift (l) (Rod, shifting (l) # Rod, shifting (l type, l:475); E7, e13, e38, e40 ) (Rod, Shift (l))

под заказ0 руб.
1625111-98531-000

Запчасть снята с производства - The Spare Part Is Laid Off (Rod, shifting (ul type, l:590); E38) (The Spare Part Is Laid Off)

под заказ0 руб.
1709159-06030-000

Гайка - Nut (E7, e13, e38, e40 ) (Nut)

под заказ0 руб.
1809140-06020-000

Гайка - Nut (E7, e13, e38, e40 ) (Nut)

9 шт150 руб.
1909128-06014-000

Болт (6x20) - Bolt (6x20) (Bolt (6x20))

под заказ170 руб.
1909100-06181-000

   (актуальный код замены) Болт - Bolt

под заказ170 руб.
2023311-99001-000

Коннектор тяги сцепления №1 - Connector, Clutch Rod No1 (Connector, clutch rod (1) # Connector, clutch rod 1; ) (Connector, Clutch Rod No.1)

под заказ1460 руб.
2123321-99001-000

Коннектор тяги сцепления №2 - Connector, Clutch Rod No2 (Connector, clutch rod (2) # Connector, clutch rod 2; ) (Connector, Clutch Rod No.2)

под заказ1560 руб.
2209160-06015-000

Шайба (6.5x13x1.0) - Washer (65x13x10) (Washer (6.5x13x1.0))

под заказ120 руб.
2209160-06082-000

   (актуальный код замены) Шайба (6.5x13x1.0) - Washer (6.5x13x1.0)

7 шт150 руб.
2209160-06082-000

Шайба (6.5x13x1.0) - Washer (65x13x10) (Washer (6.5x13x1.0))

7 шт150 руб.
2309204-01001-000

под заказнет сведений
2309204-01002-000

Штифт - Pin (Cotter pin ) (Pin)

24 шт140 руб.
2425222-93000-000

Башмак переключающей тяги - Boot, Shift Rod (Boots, shifting rod ) (Boot, Shift Rod)

под заказ570 руб.
2425222-93001-000

   (актуальный код замены) Башмак переключающей тяги - Boot, Shift Rod

15 шт570 руб.
2525211-98501-000

Направляющая переключающей тяги - Guide, Shift Rod (Guide, shifting rod ) (Guide, Shift Rod)

2 шт1090 руб.
2609280-06004-000

Уплотнительное кольцо (d: 3.5, Id: 5.8) - O Ring (d:35, Id:58) (O ring, shifting rod ) (O Ring (d:3.5, Id:5.8))

27 шт200 руб.
2709280-16005-000

Уплотнительное кольцо (d: 2.4, Id: 15.8) - O Ring (d:24, Id:158) (O ring, exhaust pipe ) (O Ring (d:2.4, Id:15.8))

14 шт180 руб.
2808212-06201-000

Шайба - Washer (Washer, shifting rod guide ) (Washer)

9 шт120 руб.
2908310-11068-000

Гайка - Nut (Nut)

под заказ140 руб.
2908310-00067-000

   (актуальный код замены) Гайка - Nut

под заказ140 руб.
2908310-00067-000

Гайка - Nut (Nut)

под заказ140 руб.
3025311-93100-000

Запчасть снята с производства - The Spare Part Is Laid Off (Cam, shifting;) (The Spare Part Is Laid Off)

под заказ0 руб.
3025311-98500-000

Запчасть снята с производства - The Spare Part Is Laid Off (E7, e13, e38, e40) (The Spare Part Is Laid Off)

под заказ0 руб.
3025311-98510-000

   (актуальный код замены) Запчасть снята с производства - The Spare Part Is Laid Off

под заказ0 руб.
3109139-06035-000

Винт (6x9.5) - Screw (6x95) (Screw (6x9.5))

под заказ0 руб.
3209168-06002-000

Прокладка (6.2x11x1.2) - Gasket (62x11x12) (Gasket (6.2x11x1.2))

под заказ120 руб.
3209168-06004-000

   (актуальный код замены) Прокладка (6.2x11x1.2) - Gasket (6.2x11x1.2)

под заказ120 руб.
3209168-06004-000

Прокладка (6.2x11x1.2) - Gasket (62x11x12) (Washer (6x11.8x1.5) ) (Gasket (6.2x11x1.2))

под заказ120 руб.


Время выполнения запроса 1.7345681190491 сек.

 
 

данный сайт носит информационный характер и не является публичной офертой

склад запчастей для водомоторной техники