Подобрать оригинальные запчасти на подвесной двигатель SUZUKI модель 1986 года - Throttle control
вконтакте

Контактный телефон: +7 (981) 121-46-93, +7 (800) 200-90-76 , Email: parts-katalog@yandex.ru, где купить

 
 

  Логин:

Пароль:

Регистрация

www.partskatalog.ru Все каталоги Запчасти Mercury Запчасти Suzuki Запчасти Tohatsu Запчасти Honda Контакты



УВАЖАЕМЫЕ КЛИЕНТЫ!
C 19 ДЕКАБРЯ 2025 ПО 02 МАРТА 2026 ГОДА ОТДЕЛ ЗАПЧАСТЕЙ И СЕРВИС РАБОТАТЬ НЕ БУДУТ
ПРОДАЖА ЛОДОЧНЫХ МОТОРОВ В ШТАТНОМ РЕЖИМЕ
ОБ ИЗМЕНЕНИЯХ В ГРАФИКЕ РАБОТЫ ЧИТАЙТЕ НА САЙТА



назад Раздел:   вперёд

Вернуться к выбору узлов мотора


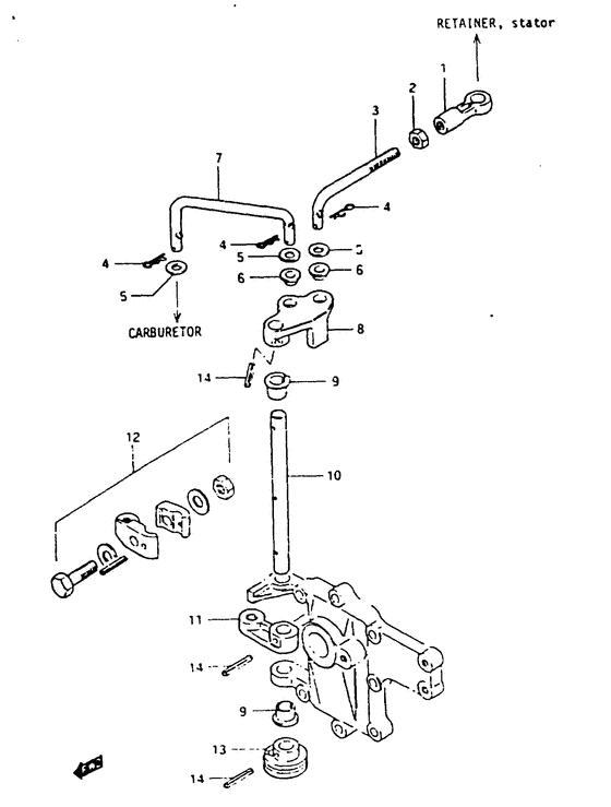
ДЕТАЛИРОВКА ДЛЯ МОДЕЛИ: SUZUKI DT5G(G/J/VZ) G

Управление дросселем


Год выпуска двигателя: 1986

Регион: Япония

Цвет: Francois Whte №2,Arctic Silver

Номер на
рисунке
АртикулНаименованиеQTYКол-во
на складе
Цена
167463-95200-000

Коннектор тяги управления дросселем - Connector, Throttle Control (Connector, throttle rod # Connector, startor link; ) (Connector, Throttle Control)

под заказ340 руб.
208310-11058-000

Гайка - Nut (Nut)

под заказ140 руб.
208310-00057-000

   (актуальный код замены) Гайка - Nut

под заказ140 руб.
208310-00057-000

Гайка - Nut (Nut)

под заказ140 руб.
319171-98100-000

Соединитель, Стартер - Link, Starter (Link, Starter)

под заказ0 руб.
319171-98101-000

   (актуальный код замены) Запчасть снята с производства - The Spare Part Is Laid Off

под заказ0 руб.
319171-98101-000

Соединитель, Стартер - Link, Starter (Link, Starter)

под заказ0 руб.
409385-05004-000

Штифт, Защелка - Pin, Snap (Clip, link; ) (Pin, Snap)

под заказ100 руб.
509160-05010-000

Шайба (5.5x12x0.8) - Washer (55x12x08) (Washer (5.5x12x0.8))

под заказ130 руб.
509160-05029-000

   (актуальный код замены) Шайба (5.5x12x0.8) - Washer (5.5x12x0.8)

14 шт130 руб.
509160-05029-000

Шайба (5.5x12x0.8) - Washer (55x12x08) (Washer (5.5x12x0.8))

14 шт130 руб.
609306-05001-000

Запчасть снята с производства - The Spare Part Is Laid Off (Model g) (The Spare Part Is Laid Off)

под заказ0 руб.
609306-05002-000

Запчасть снята с производства - The Spare Part Is Laid Off (Bushing, throttle; For 19181-98102-01j) (The Spare Part Is Laid Off)

под заказ0 руб.
719111-98500-000

Тяга дросселя - Link, Throttle (Dt5) (Link, Throttle)

под заказ900 руб.
719111-98501-000

   (актуальный код замены) Тяга дросселя - Link, Throttle

под заказ900 руб.
719111-98501-000

Тяга дросселя - Link, Throttle (Link, Throttle)

под заказ900 руб.
719111-98101-000

Тяга дросселя - Link, Throttle (Dt8 g/j, from 19111-98100) (Link, Throttle)

под заказ0 руб.
719111-98103-000

   (актуальный код замены) Запчасть снята с производства - The Spare Part Is Laid Off

под заказ0 руб.
719111-98103-000

Тяга дросселя - Link, Throttle (Link, Throttle)

под заказ0 руб.
719111-98102-000

Тяга дросселя - Link, Throttle (Dt8 vz) (Link, Throttle)

под заказ0 руб.
719111-98103-000

   (актуальный код замены) Запчасть снята с производства - The Spare Part Is Laid Off

под заказ0 руб.
719111-98103-000

Тяга дросселя - Link, Throttle (Link, Throttle)

под заказ0 руб.
819181-98100-01J

(To 19181-98101-01j, model g)

под заказ0 руб.
809306-05002-000

Запчасть снята с производства - The Spare Part Is Laid Off (The Spare Part Is Laid Off)

под заказ0 руб.
819181-98120-000

Рычаг дросселя - Lever, Throttle (Lever, Throttle)

под заказ830 руб.
819181-98102-01J

Рычаг дросселя - Lever, Throttle (To 19181-98110-01j) (Lever, Throttle)

под заказ830 руб.
819181-98120-000

   (актуальный код замены) Рычаг дросселя - Lever, Throttle

под заказ830 руб.
819181-98120-000

Рычаг дросселя - Lever, Throttle (Lever, Throttle)

под заказ830 руб.
819181-98110-01J

Рычаг дросселя - Lever, Throttle (Dt8j/vz, dt5 vz) (Lever, Throttle)

под заказ830 руб.
819181-98120-000

   (актуальный код замены) Рычаг дросселя - Lever, Throttle

под заказ830 руб.
819181-98120-000

Рычаг дросселя - Lever, Throttle (Lever, Throttle)

под заказ830 руб.
963225-93200-000

Втулка тяги румпеля - Bush, Handle Rod (Bush, handle rod # Bushing, throttle lever shaft; ) (Bush, Handle Rod)

14 шт480 руб.
1019174-98500-000

Запчасть снята с производства - The Spare Part Is Laid Off (Dt5) (The Spare Part Is Laid Off)

под заказ0 руб.
1019110-98500-000

   (актуальный код замены) Запчасть снята с производства - The Spare Part Is Laid Off

под заказ0 руб.
1019110-98500-000

Запчасть снята с производства - The Spare Part Is Laid Off (The Spare Part Is Laid Off)

под заказ0 руб.
1019174-98100-000

Рычаг дросселя Вал - Lever, Throttle Shaft (Dt8) (Lever, Throttle Shaft)

под заказ0 руб.
1019110-98100-000

   (актуальный код замены) Запчасть снята с производства - The Spare Part Is Laid Off

под заказ0 руб.
1019110-98100-000

Рычаг дросселя Вал - Lever, Throttle Shaft (Shaft, throttle lever ) (Lever, Throttle Shaft)

под заказ0 руб.
1119191-98100-01J

Запчасть снята с производства - The Spare Part Is Laid Off (Model g) (The Spare Part Is Laid Off)

под заказ0 руб.
1219190-98110-000

Рычаг Set, Дистанционное управление - Arm Set, Remote Control (Opt, model j/vz ) (Arm Set, Remote Control)

под заказ0 руб.
1363222-93200-000

Drum, Handle Тяга - Drum, Handle Rod (Drum, handle rod # Drum, throttle; ) (Drum, Handle Rod)

под заказ0 руб.
1463227-93200-000

Штифт, Handle Тяга - Pin, Handle Rod (Pin, handle rod # Pin, throttle lever shaft; Model g ) (Pin, Handle Rod)

под заказ220 руб.


Время выполнения запроса 2.2186050415039 сек.

 
 

данный сайт носит информационный характер и не является публичной офертой

склад запчастей для водомоторной техники